提示:文章写完后,目录可以自动生成,如何生成可参考右边的帮助文档
文章目录
- [11. EVM 原理深度解析](#11. EVM 原理深度解析)
-
- [11.1 EVM 架构](#11.1 EVM 架构)
- [11.2 存储模型](#11.2 存储模型)
-
- [11.2.1 三种数据存储位置](#11.2.1 三种数据存储位置)
- [11.2.2 Storage 布局](#11.2.2 Storage 布局)
- [11.3 操作码(Opcode)](#11.3 操作码(Opcode))
-
- [11.3.1 常用操作码](#11.3.1 常用操作码)
- [11.3.2 字节码示例](#11.3.2 字节码示例)
- [11.4 Gas 优化深度分析](#11.4 Gas 优化深度分析)
-
- [11.4.1 存储优化进阶](#11.4.1 存储优化进阶)
- [11.4.2 函数选择器优化](#11.4.2 函数选择器优化)
- [11.4.3 内联汇编优化](#11.4.3 内联汇编优化)
11. EVM 原理深度解析
11.1 EVM 架构

11.2 存储模型
11.2.1 三种数据存储位置

Gas 成本对比:

11.2.2 Storage 布局

存储槽计算:

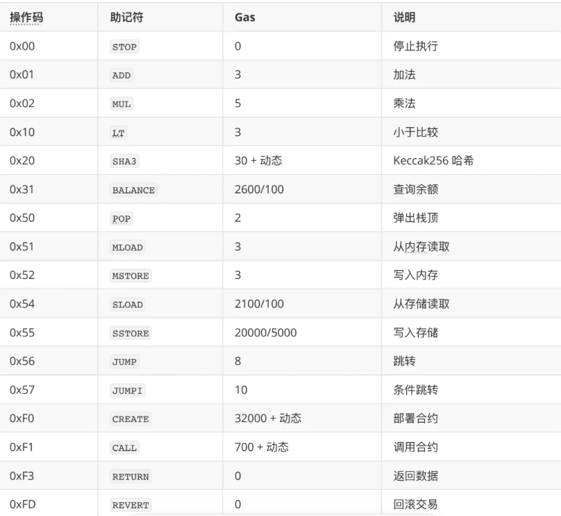
11.3 操作码(Opcode)
11.3.1 常用操作码

11.3.2 字节码示例

反编译工具:

11.4 Gas 优化深度分析
11.4.1 存储优化进阶


11.4.2 函数选择器优化

11.4.3 内联汇编优化

