

你有没有发现,早上醒来脸上竟然多了几道皱纹,或者脖子感觉酸酸的?这可能是普通枕头在"捣乱"。传统枕头难以兼顾防皱与护颈,还存在制作、清洗麻烦和成本高的问题。今天老贾给大家介绍一款神奇的专利枕头,它不仅能帮你抚平皱纹、呵护颈椎,还在制作和成本上有大优势,快来看看吧!
防皱护颈专利枕
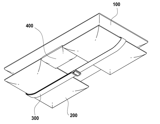
这款带可拆卸腿状部分和颈椎用迷你枕头的功能性枕头,就像是一位全能的"睡眠小卫士",全方位呵护你的睡眠与健康。它主要由三部分组成:本体部、一对可拆卸的腿状部分,还有夹在两腿状部分中间的颈椎用迷你枕头,当然,还有调节腿状部分的调节腰带。

(图源于公开专利文献)
先说说这对可拆卸的腿状部分,它们就像枕头的"魔法翅膀"。腿状部分和本体部形状类似,但尺寸比本体部的一半还小,宽宽扁扁的。当你侧卧时,脸颊位置对应枕头侧面倾斜处,在重力作用下,本体部和腿状部分接触,形成两个曲率(就好像弯弯的弧线)。这时,通过调节腰带拉紧或松开,就能改变腿状部分的曲率,就像给这对"翅膀"调整形状一样。腿状部分的形状改变了,本体部的倾斜度也跟着变,这样就能帮助你舒展眉间纹和法令纹,就像有一双温柔的手轻轻地把皱纹抚平。而且,通过调节腰带还能轻松调整枕头高度,让你找到最舒服的姿势。
再看看这个颈椎用迷你枕头,它可是呵护颈椎的"小能手"。它的大小设计得很巧妙,不超过本体部宽度的一半。当你把头枕在枕头上,它能引导颈部自然地弯曲成C形,就像给颈椎量身定制了一个舒适的"小窝",有效预防和缓解颈椎病。这个迷你枕头安装方式多样,可以卡在本体部和内胆之间,也能放在本体部内部特制的小口袋里,甚至可以直接用填充材料把小口袋填满,让小口袋本身充当迷你枕头。而且,它和腿状部分一样是可拆卸的,制作和使用都很方便。当调节腰带拉紧时,腿状部分和迷你枕头一起被压缩,迷你枕头内部填充材料密度增加,对颈椎的支撑效果更好。

本体部就是我们平常枕着的主要部分,它有着普通枕头的外形。本体部、腿状部分和迷你枕头里面都填充了像棉花、羊毛、海绵、记忆海绵这类柔软的材料,通过不同方式开合的注入口填充进去,既保证了舒适度,又方便填充材料的更换。
老贾洞察
这款专利枕头的巧妙之处在于,它将防皱、护颈和便捷性完美结合。通过独特的双曲率结构和可拆卸设计,不仅解决了传统枕头在防皱和护颈方面的不足,还大大降低了制作成本,提高了清洗的便利性。这种多功能集成且注重用户体验的设计,展现了对消费者需求的精准把握。
从技术趋势来看,未来的睡眠产品会朝着更人性化、多功能化和智能化的方向发展。这款枕头的创新设计,正是顺应了这一趋势,为睡眠产品的发展提供了新的思路。

商业放大镜
-
对科技创业者
这是一个极具潜力的专利项目,创业者可以在此基础上进一步拓展创新。比如,研发智能调节功能,让枕头能根据用户的睡眠姿势自动调整腿状部分的曲率和高度;或者采用更环保、更舒适的新型填充材料,提升产品品质。不过,要注意避开其在腿状部分可拆卸结构、双曲率调节设计、颈椎用迷你枕头的多种安装方式等方面的专利。如果创业者能够成功突破,打造出更具竞争力的产品,就能在睡眠产品市场中脱颖而出,满足消费者对高品质、多功能睡眠产品的需求,获得丰厚的商业回报。
-
对投资人
这款专利枕头展现出了在睡眠健康领域的创新价值。拥有此类专利的公司,体现了对市场需求的敏锐洞察力和强大的研发实力,这构成了其技术护城河的重要部分。随着人们对睡眠质量和自身健康的关注度不断提高,这类多功能的睡眠产品市场前景广阔。投资人关注这类专注于睡眠健康创新的公司,有望获得良好的投资收益。当然,在投资过程中,要关注公司的市场推广能力和后续研发实力,确保专利技术能够有效转化为商业成果,在市场竞争中保持领先地位。

看完这款神奇的枕头,你是不是也心动了呢?你在使用枕头时还遇到过哪些问题?对于它的功能设计你还有什么更好的想法吗?欢迎在评论区分享!这只是睡眠产品专利世界的冰山一角。如果你想系统了解整个睡眠产品行业的专利布局、技术路线和主要玩家,回复关键词"颈椎枕",即可免费获取我们的《睡眠产品行业专利竞争格局深度解读》摘要版。