一、概述
MT9700FCLEAG是联发科(MediaTek)推出的一款高性能视频主控芯片,专为高清晰度显示设备设计,如智能电视、高端显示器及投影仪等。该芯片凭借其卓越的图像处理能力、丰富的接口支持以及低功耗设计,成为当前显示设备领域的理想选择。

二、核心特性
1. 高清显示支持
MT9700FCLEAG支持高达1080p的全高清分辨率输出,能够满足当前市场主流需求。同时,该芯片还具备高速的显示刷新率,最大可支持到120Hz,这一特性显著提升了动态图像的流畅度,尤其是在播放高速运动的视频内容时,能够为用户提供更为逼真的视觉体验。
2. 先进的图像处理技术
MT9700FCLEAG内置了先进的图像处理引擎,提供包括色彩校正、对比度增强、动态范围扩展在内的多种图像处理功能。这些功能能够显著提升图像质量,使画面更加细腻、色彩更加鲜艳,为用户带来更加震撼的视觉享受。
3. 多种接口支持
该芯片支持多种视频输入输出接口标准,包括HDMI、LVDS、MIPI等。这样的设计使得MT9700FCLEAG能够适应更为广泛的应用场景,无论是传统的家电产品还是新型的智能终端,都可以找到合适的接口类型进行连接。
4. 低功耗设计
MT9700FCLEAG在功耗方面采用了低功耗设计,不仅降低了系统的总体能耗,还减少了设备的热量产生。这有助于提升产品的稳定性和延长设备的使用寿命,同时也有助于降低用户的电费支出。
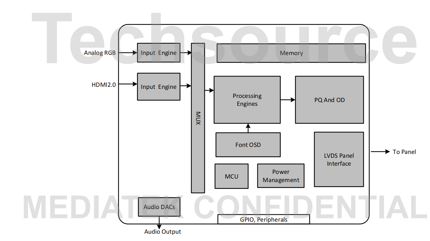
5. 高度集成的设计
MT9700FCLEAG采用了高度集成的设计,其内部结构可能包括中央处理器(CPU)、图形处理器(GPU)、显示引擎(Display Engine)、内存控制器(Memory Controller)以及接口控制器(Interface Controller)等关键模块。这种高度集成的设计使得芯片体积更小、功耗更低,同时也有助于提升系统的整体性能。
三、技术规格
1. 分辨率与刷新率
- 最大分辨率:1920x1080(全高清)
- 最大刷新率:120Hz
2. 图像处理功能
- 色彩校正:支持多种色彩空间转换和色彩增强算法
- 对比度增强:通过动态对比度调整提升画面层次感
- 动态范围扩展:支持HDR(高动态范围)技术,提升画面亮度和暗部细节
3. 接口支持
- HDMI:支持HDMI 1.4或更高版本,支持音频和视频同步传输
- LVDS:支持低电压差分信号传输,适用于长距离、高速数据传输
- MIPI:支持MIPI DSI(显示串行接口),适用于移动设备等低功耗应用场景

4. 功耗与散热
- 典型功耗:根据具体应用场景和配置不同而有所差异,但总体保持较低水平
- 散热设计:采用低功耗设计,减少热量产生,同时支持外部散热解决方案以进一步提升散热效果
四、应用场景
1. 智能电视
MT9700FCLEAG作为智能电视的核心组件之一,能够支持流畅的视频播放、丰富的应用程序运行以及高效的网络连接等功能。其高清显示支持和先进的图像处理技术能够为用户带来更加逼真的视觉体验,提升观看电视节目的乐趣。
2. 高端显示器
对于高端显示器而言,MT9700FCLEAG的高分辨率支持和高速刷新率特性能够满足专业用户对画质和流畅度的极高要求。同时,其多种接口支持也使得显示器能够轻松连接各种设备,提升使用的便捷性。
3. 投影仪
在投影仪领域,MT9700FCLEAG的低功耗设计和先进的图像处理技术能够为用户带来更加清晰、亮丽的投影效果。无论是家庭影院还是商务演示等场景,该芯片都能够提供出色的表现。
五、设计考虑与注意事项
1. 电源管理
在设计基于MT9700FCLEAG的系统时,需要充分考虑电源管理问题。该芯片虽然采用了低功耗设计,但在高负载情况下仍可能产生较大电流。因此,需要选择合适的电源模块和电源管理策略以确保系统的稳定运行。
2. 散热设计
尽管MT9700FCLEAG在功耗方面表现优异,但在长时间高负载运行下仍可能产生一定热量。因此,在设计时需要考虑散热问题,采取合适的散热措施如散热片、风扇等以确保芯片不会因过热而损坏。
3. 接口布局与信号完整性
在布局PCB时,需要充分考虑接口布局和信号完整性问题。特别是对于高速信号如HDMI、LVDS等接口,需要采取合适的布线策略和阻抗匹配措施以确保信号的稳定传输和减少干扰。