接上文《芋道框架下的进销存升级(二):Yudao-ERP2打印模板管理的设计与实现》继续升级,本次升级内容主要是实现Excel高性能异步导出或导入。
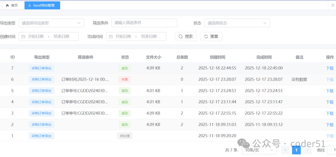
先看效果:
Yudao-ERP2异步导出/导入Excel的设计与实现
一、后端改造
1. 新增Excel导出/导入表,用芋道框架自带的代码生成功能生成crud代码

2. 实现异步导出逻辑
① 定义一个线程池

② 定义一个导出excel抽象类

③ 每一个具体的导出业务定义一个handler类且继承抽象类,该handler内实现异步导出业务,生成excel导出文件,更新异步导出任务状态等,最关键一点,该handler使用@Component注解声明为Spring容器管理的Bean。
java
@Component
@Slf4j
public class DemoExportHandler extends AbstractAsyncExcelExportHandler{
@Override
@Async(ASYNC_EXCEL_THREAD_POOL_TASK_EXECUTOR)
public void exportExcel(ExcelExportSaveReqVO excelExportSaveReqVO) {
// 1. 更新状态为处理中
updateExcelExportStatus(new ExcelExportSaveReqVO(
excelExportSaveReqVO.getId(),
ImportExportStatusEnum.PROCESS.getStatus()
)
);
// 2. 导出数据
String resultFilePath = "";
int dataNum = 0;
int status = ImportExportStatusEnum.FAIL.getStatus();
int fileSize = 0;
String remark = "";
try {
List<Map<String, Object>> exportDataList = new ArrayList();
if (!exportDataList.isEmpty()) {
byte[] excelContent = new byte[1024];
fileSize = excelContent.length;
resultFilePath = saveExcelFile(excelContent, getDateTimeFileName("导出示例", "xlsx"));
status = ImportExportStatusEnum.SUCCESS.getStatus();
dataNum = exportDataList.size();
}else{
remark = "没有数据";
}
} catch (Exception e) {
log.error("导出失败", e);
remark = ExceptionUtil.stacktraceToString(e);
}
// 3. 更新状态为处理完成
updateExcelExportStatus(new ExcelExportSaveReqVO(
excelExportSaveReqVO.getId(),
status,
resultFilePath,
fileSize,
dataNum,
remark
)
);
}
}
④ 定义一个统一的创建异步导出Excel任务的接口,该接口的其中一个入参定义为业务类型,对应参数值为handler的Bean名。
java
@Tag(name = "管理后台 - Excel导出")
@RestController
@RequestMapping("/system/excel-export")
@Validated
public class ExcelExportController {
@Resource
private ExcelExportService excelExportService;
@PostMapping("/create")
@Operation(summary = "创建Excel导出")
@PreAuthorize("@ss.hasPermission('system:excel-export:create')")
public CommonResult<Long> createExcelExport(@Valid @RequestBody ExcelExportSaveReqVO createReqVO) {
return success(excelExportService.createExcelExport(createReqVO));
}
}
java
@Service
@Validated
public class ExcelExportServiceImpl implements ExcelExportService {
@Resource
private ExcelExportMapper excelExportMapper;
@Override
public Long createExcelExport(ExcelExportSaveReqVO createReqVO) {
if(!SpringUtil.getApplicationContext().containsBean(createReqVO.getDataType())){
throw exception(EXCEL_EXPORT_TYPE_NOT_EXISTS);
}
// 插入
ExcelExportDO excelExport = BeanUtils.toBean(createReqVO, ExcelExportDO.class);
excelExport.setStatus(ImportExportStatusEnum.WAIT_PROCESS.getStatus());
excelExportMapper.insert(excelExport);
AbstractAsyncExcelExportHandler asyncExcelExportHandler = SpringUtil.getBean(createReqVO.getDataType());
createReqVO.setId(excelExport.getId());
asyncExcelExportHandler.exportExcel(createReqVO);
// 返回
return excelExport.getId();
}
@Override
public void updateExcelExport(ExcelExportSaveReqVO updateReqVO) {
// 校验存在
validateExcelExportExists(updateReqVO.getId());
if(updateReqVO.getRemark() != null && updateReqVO.getRemark().length() > ExcelExportSaveReqVO.REMARK_MAX_LENGTH){
updateReqVO.setRemark(updateReqVO.getRemark().substring(0, ExcelExportSaveReqVO.REMARK_MAX_LENGTH));
}
// 更新
ExcelExportDO updateObj = BeanUtils.toBean(updateReqVO, ExcelExportDO.class);
excelExportMapper.updateById(updateObj);
}
@Override
public void deleteExcelExport(Long id) {
// 校验存在
validateExcelExportExists(id);
// 删除
excelExportMapper.deleteById(id);
}
@Override
public void deleteExcelExportListByIds(List<Long> ids) {
// 删除
excelExportMapper.deleteByIds(ids);
}
private void validateExcelExportExists(Long id) {
if (excelExportMapper.selectById(id) == null) {
throw exception(EXCEL_EXPORT_NOT_EXISTS);
}
}
@Override
public ExcelExportDO getExcelExport(Long id) {
return excelExportMapper.selectById(id);
}
@Override
public PageResult<ExcelExportDO> getExcelExportPage(ExcelExportPageReqVO pageReqVO) {
return excelExportMapper.selectPage(pageReqVO);
}
}
这样便实现了一个简单的,统一的,解耦的,高性能的,异步的导出Excel功能,统一的创建导出任务接口,统一的Excel导出下载页面,不同的业务实现导出只需继承抽象类实现导出逻辑即可。
异步导入Excel同理。
二、前端改造
1. 在业务功能页面,增加"异步导出"按钮,例如采购订单页面如下所示:
javascript
<el-button
type="success"
plain
@click="handleAsyncExport"
:loading="exportLoading"
v-hasPermi="['erp:purchase-order:export']"
>
<Icon icon="ep:download" class="mr-5px" /> 异步导出
</el-button>
/** 异步导出按钮操作 */
const handleAsyncExport = async () => {
try {
// 导出的二次确认
await message.exportConfirm()
let filterCondition = ''
Object.entries(queryParams).forEach((key) => {
if(queryParamFieldName[key[0]] && key[1] && key[1].length){
filterCondition += `${queryParamFieldName[key[0]]}:${key[1]};`
}
})
if(filterCondition.length){
filterCondition = filterCondition.substring(0, filterCondition.length-1)
}
// 发起导出
exportLoading.value = true
const data = {
dataType: EXCEL_EXPORT_TYPE.PURCHASE_ORDER,
filterConditionCode: JSON.stringify(queryParams),
filterCondition: filterCondition
} as ExcelExport
await ExcelExportApi.createExcelExport(data)
message.success(t('common.exportSuccess'))
} catch {
} finally {
exportLoading.value = false
}
}
export enum EXCEL_EXPORT_TYPE {
PURCHASE_ORDER = 'erpPurchaseOrderExportHandler',
DEMO = 'demoExportHandler',
}
const queryParams = reactive({
pageNo: 1,
pageSize: 10,
no: undefined,
supplierId: undefined,
productId: undefined,
orderTime: [],
status: undefined,
remark: undefined,
creator: undefined,
inStatus: undefined,
returnStatus: undefined
})
const queryParamFieldName = reactive({
no: '订单单号',
supplierId: '供应商ID',
productId: '产品ID',
orderTime: '订单时间',
status: '状态',
remark: '备注',
creator: '创建人',
inStatus: '入库数量',
returnStatus: '退货数量'
})
2. Excel导出下载页面
即用芋道框架自带的代码生成功能生成的Excel导出表的前端代码
src\views\system\excelexport\index.vue

详见源码,地址如下: