技术栈
广东省所有学校名称2026月3月版39513条数据
fl176831
2026-03-19 14:18
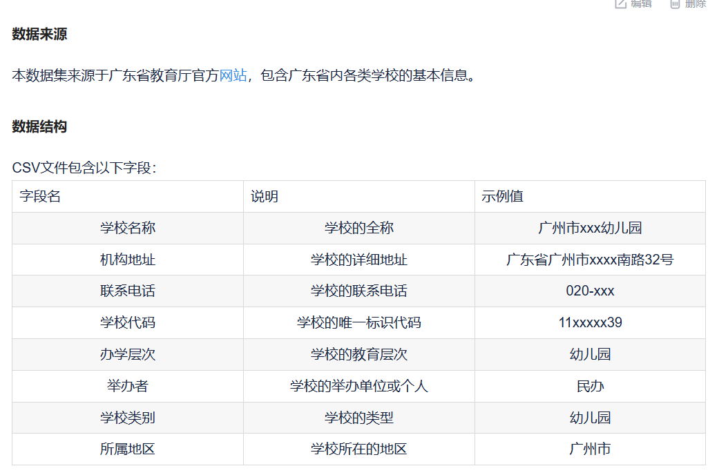
csv格式截图:
人工智能
上一篇:
2026后端趋势:Java 老了?Go 才是未来?
下一篇:
MySQL数据库认知与安装
相关推荐
墨神谕
21 小时前
人工智能(二)— 神经网络
人工智能
·
深度学习
·
神经网络
学废了wuwu
21 小时前
【CS336导言】nanoGPT
人工智能
AI医影跨模态组学
21 小时前
Int J Surg华中科技大学同济医学院附属协和医院:可解释机器学习模型预测胰腺癌早期复发:整合瘤内瘤周影像组学及身体成分分析
人工智能
·
机器学习
·
论文
·
医学
·
医学影像
·
影像组学
wuxinyan123
21 小时前
工业级大模型学习之路019:LangChain零基础入门教程(第二篇):LLM 模块与模型抽象
人工智能
·
python
·
学习
·
langchain
龙侠九重天
21 小时前
Embedding 模型深度使用——语义搜索与聚类
人工智能
·
深度学习
·
数据挖掘
·
大模型
·
llm
·
embedding
·
聚类
闭关修炼啊哈
21 小时前
[IdeaLoop · 灵感回路] AI时代独立开发者·创业/副业灵感日报 · 2026-05-20 晚报
人工智能
L、218
21 小时前
CANN 通信库 HCCL 实战:昇腾多卡训练时 AllReduce 为什么卡在这个地方?
人工智能
·
安全
@蔓蔓喜欢你
21 小时前
CSS 变量:样式开发的新维度
人工智能
·
ai
BJ_bafangonline
21 小时前
Houdini 与 AI 的深度融合:从合成数据生成到机器学习训练的全流程解析
人工智能
·
机器学习
·
houdini
__log
21 小时前
AI 全栈应用从 0 到 1 落地指南
人工智能
热门推荐
01
GitHub 镜像站点
02
Codex 接入 DeepSeek API 完整配置文档
03
CC-Switch & Claude 基于 Linux 服务器安装使用指南
04
【踩坑记录 | 第一篇】微软商店无法使用时,如何手动安装 OpenAI Codex?附`.msix`文件系统错误解决方法
05
几个好用的ip纯净度检测网站
06
裂开!ChatGPT 居然开始要手机号验证,附详细解决方法
07
装上就回不去了:CodeGraph 让 AI 编程效率飙升 92%,它到底做了什么?
08
【AI】2026 年具身智能模型和世界模型总结
09
codex app每次打开重连5次Reconnecting问题解决
10
用了半年 OpenRouter,我换到了 Ofox.ai — 两个 AI API 聚合平台的真实对比