网络基础
一、网络分层与核心协议
1. OSI 七层模型

会话层:提供会话号 :当 PC 端上 同软件不同进程的程序同时接收发时,他们会拥有相同的 IP 地址和 MAC 地址,为了分辨彼此所需要的消息,此时,就需要会话层分别给予不同的会话号进行区分。
数据封装与解封装:

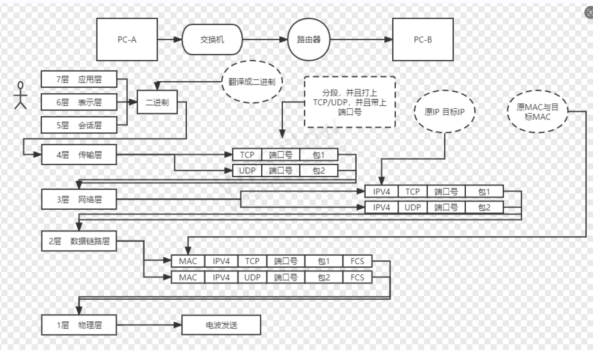
从应用层到物理层 的数据封装过程(PC-A 发送数据到 PC-B):
核心是 「上层数据被下层层层打包,加上头部 / 尾部,最终变成电信号发送;接收时再层层拆包,还原成应用数据」。
1. 整体流程:从应用到网线
- 数据从 PC-A 发出,经历 7→6→5→4→3→2→1 层 的封装,最后变成电信号在网线上传输;
- 到达 PC-B 后,再从 1→2→3→4→5→6→7 层 解封装,还原成应用能识别的内容。
2. 逐层拆解封装过程
第 7/6/5 层:应用 / 表示 / 会话层
- 应用层产生原始数据(比如网页请求、聊天消息)。
- 表示层把数据翻译成二进制格式(编码 / 加密 / 压缩)。
- 会话层管理通信会话(区分不同进程)。
- 最终得到一串二进制数据流,交给传输层。
第 4 层:传输层(TCP/UDP 分段)
- 把上层二进制数据分段 ,给每一段加上 TCP/UDP 头部:
- TCP:可靠传输,头部包含源端口、目的端口、序列号、确认号等。
- UDP:高效传输,头部只有源端口、目的端口、长度、校验和。
- 这一步的产物叫 「数据段(Segment)」,交给网络层。
第 3 层:网络层(IP 寻址)
- 给传输层的数据段加上 IP 头部:
- 包含源 IP(PC-A)、目的 IP(PC-B),用于跨网段寻址。
- 这一步的产物叫 「数据包(Packet)」,交给数据链路层。
第 2 层:数据链路层(MAC 寻址)
- 给网络层的数据包加上 MAC 头部 和 FCS 尾部:
- MAC 头部:源 MAC(PC-A / 下一跳设备)、目的 MAC(网关 / 目标设备),用于局域网内寻址。
- FCS:帧校验序列,用于检错。
- 这一步的产物叫 「数据帧(Frame)」,交给物理层。
第 1 层:物理层(电信号发送)
把数据帧转换成电信号 / 光信号,通过网线 / 光纤发送出去。
3. 设备在封装中的角色
- PC-A:完成 7→1 层 的完整封装,生成电信号发送。
- 交换机:工作在第 2 层,只看 MAC 地址,转发数据帧,不修改 IP/TCP 头部。
- 路由器:工作在第 3 层,解封装到网络层,查路由表决定下一跳,重新封装 MAC 头部后转发。
- PC-B:完成 1→7 层 的解封装,层层去掉头部,还原成应用数据。
4. 解封装:封装的逆过程
接收端(PC-B)的解封装顺序刚好相反:
- 物理层:电信号 → 数据帧
- 数据链路层:去掉 MAC 头和 FCS → 数据包
- 网络层:去掉 IP 头 → 数据段
- 传输层:去掉 TCP/UDP 头 → 二进制数据流
- 会话 / 表示 / 应用层:解码 / 解密 → 应用可识别的原始数据
5. 核心点
- 封装 :从上到下,每层加一个头部(或尾部),数据越来越小但信息越来越全。
- 解封装 :从下到上,每层剥一个头部(或尾部),最终还原成原始数据。
- 地址变化 :
IP 地址(源 / 目的):全程不变 ,标识端到端。
MAC 地址:逐跳变化,标识当前链路的收发方。- 端口号:标识应用进程,让数据最终交给正确的程序(比如 80 端口给浏览器)。
类比(生活例子)
封装就像寄快递:
- 应用层:写一封信(原始数据)
- 传输层:装进信封(加 TCP/UDP 头,写清「寄件人 / 收件人端口」)
- 网络层:装进快递盒(加 IP 头,写清「寄件人 / 收件人地址」)
- 数据链路层:贴快递单(加 MAC 头,写清「当前站点 / 下一站」)
- 物理层:快递车拉走(变成电信号发送)
解封装就是收件拆快递:一层层拆包装,最后拿到信。
常见应用层协议总结

2. TCP/IP 模型(实际应用模型)
将OSI七层模型融合为 4 层:
应用层 (合 1-3 层)
传输层
网际层 (网络层)
网络访问层 (合 2-1 层)

3. 核心传输层协议
TCP(传输控制协议)
1.特性:面向连接、可靠传输 ,基于 3 次握手建立连接,4 次挥手断开连接
2.可靠机制:确认、重传、排序、流控(窗口滑动)
3.常用端口:80 (HTTP)、443 (HTTPS)、21 (FTP)、22 (SSH)、23 (Telnet)、53 (TCP-DNS)
4.标志位:SYN(发起连接)、ACK(确认)、FIN(断开)、RST(重连)、PSH(加急)、URG(紧急)
TCP 三次握手与四次挥手过程
前置基础
1.核心标志位 :TCP 报文头部的6 位代码位是握手 / 挥手的关键,核心用到 3 个:
SYN :同步序列编号,用于发起连接请求 ,告知对方自身的初始序列号(ISN) ,标志位为 1 时表示这是一个连接请求 / 同步报文。
ACK :确认标志,用于确认收到对方的报文 ,标志位为 1 时,报文头部的确认号 字段有效,确认号 = 对方发送的序列号 + 1。
FIN :结束标志,用于发起断开连接请求,表示本方已无数据要发送,请求关闭连接。
2.序列号(ISN) :TCP 为每个字节的数据分配唯一序列号,** 初始序列号(ISN)** 是随机生成的(而非从 0 开始),用于避免网络中滞留的旧报文干扰新连接。
3.通信双方 :统称客户端(Client)和服务器(Server) ,服务器通常提前处于 LISTEN(监听) 状态,等待客户端连接请求。
4.状态变化:握手 / 挥手过程中,客户端和服务器会经历不同的 TCP 状态,是理解流程的重要维度。
一、TCP 三次握手 交互流程图及解释

说明:ISN_C = 客户端初始序列号(随机值),ISN_S = 服务器初始序列号(随机值);核心标志位 SYN(发起连接)、ACK(确认接收)。
TCP 是面向连接的可靠传输协议,三次握手(Three-way Handshake)是 TCP 建立端到端虚链路的核心过程,确保通信双方的收发能力均正常。
核心目的
确认客户端→服务器、服务器→客户端的双向收发能力 均正常,同时交换双方的初始序列号(ISN),为后续数据传输做准备,类似 "打电话确认双方都能听能说"。
整体流程
服务器提前进入LISTEN 状态,监听指定端口(如 80、443),客户端主动发起连接,双方通过 3 次报文交互完成连接建立,最终均进入 ESTABLISHED(已建立连接) 状态,可开始数据传输。
分步解释
1.第 1 次握手 :客户端 → 服务器,发起连接请求
发送方 :客户端,状态从CLOSED(关闭)→SYN_SENT(同步已发送)
报文标志 :SYN=1,ACK=0 (仅发起连接,无确认信息)
关键字段 :客户端携带自己的初始序列号 ISN_C (随机值,记为 Seq=ISN_C)
核心作用 :客户端向服务器发送连接请求,告知服务器 "我想和你建立连接,我的初始序列号是 ISN_C,请你确认"。
服务器行为 :收到 SYN 报文后,验证端口是否监听,若正常则记录客户端 ISN_C,状态从LISTEN(监听)→SYN_RCVD(同步已接收)。
2.第 2 次握手 :服务器 → 客户端,确认连接 + 同步自身序列号
发送方 :服务器,状态保持SYN_RCVD
报文标志 :SYN=1,ACK=1 (既确认客户端的连接请求,又发起自身的同步请求)
关键字段:1.确认号Ack=ISN_C+1 (表示已收到客户端 Seq=ISN_C 的报文,下一次期望收到 ISN_C+1 的字节)
2.序列号Seq=ISN_S (服务器自己的初始序列号,随机值)
核心作用 :服务器向客户端回复 "我收到了你的连接请求(ACK 确认),我也想和你建立连接,我的初始序列号是 ISN_S,请你确认我的序列号"。
客户端行为 :收到 SYN+ACK 报文后,验证 Ack 是否为 ISN_C+1,确认服务器接收能力 和发送能力 均正常,状态从SYN_SENT→ESTABLISHED(已建立连接)。
3.第 3 次握手 :客户端 → 服务器,确认服务器的同步序列号
发送方 :客户端,状态已为ESTABLISHED
报文标志 :ACK=1,SYN=0 (仅确认,无新的同步请求)关键字段:
1.确认号Ack=ISN_S+1 (表示已收到服务器 Seq=ISN_S 的报文,下一次期望收到 ISN_S+1 的字节)
2.序列号Seq=ISN_C+1 (遵循 TCP 序列号规则,上一次发送的是 ISN_C,本次自增 1)
核心作用 :客户端向服务器回复 "我收到了你的同步序列号,确认你的连接请求,现在双方连接正式建立"。
服务器行为 :收到 ACK 报文后,验证 Ack 是否为 ISN_S+1,确认客户端发送能力 (第 1 次握手)和接收能力 (本次握手)均正常,状态从SYN_RCVD→ESTABLISHED。
状态变化表

为什么需要三次握手?
本质是为了确认「客户端能发、服务器能收、服务器能发、客户端能收」的双向收发能力 ,若改为两次握手 会存在严重的连接失效问题:
1.假设客户端的SYN 连接请求报文 因网络延迟滞留,客户端超时后重新发送 SYN,正常建立连接并传输数据,断开后,滞留的旧 SYN 报文到达服务器,服务器若两次握手 则直接建立连接,等待客户端发送数据,但客户端已无连接状态,会忽略服务器的报文,导致服务器一直处于SYN_RCVD状态,浪费服务器资源 。
2.三次握手中,第三次握手由客户端发起 ACK 确认 ,服务器只有收到该 ACK,才确认客户端是 "有效状态",避免上述无效连接的资源浪费,是 TCP 协议应对网络不可靠的关键设计。
二、TCP 四次挥手 交互流程图(客户端主动关闭)

说明:
X = 客户端最后一次发数据的序列号 + 1,
Y = 服务器最后一次发数据的序列号 + 1,
Z = 服务器处理完数据后最后一次序列号 + 1;
核心标志位 FIN(发起断开)、ACK(确认接收);
TIME_WAIT 持续2MSL(最长报文段寿命,默认 2 分钟),CLOSE_WAIT 为服务器处理剩余数据的状态。
- 客户端的TIME_WAIT状态 (最核心的特殊状态)
客户端发送第 4 次挥手的 ACK 后,不会立即进入 CLOSED,而是进入TIME_WAIT 状态,持续时间为2MSL(最长报文段寿命,通常为 2×1 分钟 = 2 分钟) ,这是 TCP 协议的关键设计,目的有两个:
1.保证最后一个 ACK 报文能到达服务器 :若第 4 次挥手的 ACK 报文因网络丢失,服务器会超时重传 FIN 报文,客户端在 TIME_WAIT 状态下能收到该重传的 FIN,重新发送 ACK,避免服务器一直处于 LAST_ACK 状态;
2.避免滞留的旧报文干扰新连接:网络中可能存在本次连接的滞留报文,2MSL 的时间足够让所有滞留报文从网络中消失,客户端后续在相同端口建立新连接时,不会收到旧连接的滞留报文。
- 服务器的CLOSE_WAIT状态异常
若服务器长期处于CLOSE_WAIT状态 ,说明服务器的应用层未调用关闭接口 (如未执行 close ()),导致 TCP 层无法发起第 3 次挥手的 FIN 报文,属于应用层程序问题,会造成服务器端口资源被占用。
- 双向同时主动关闭
若客户端和服务器同时发起 FIN 关闭请求,双方会同时从 ESTABLISHED→FIN_WAIT_1,收到对方的 FIN 后,同时回复 ACK 并进入CLOSING状态 ,而非 FIN_WAIT_2/CLOSE_WAIT,收到对方的 ACK 后,双方同时进入 TIME_WAIT 状态,最终等待 2MSL 后关闭,本质仍是四次挥手,只是报文交互是同时进行的。
TCP 是面向连接的可靠传输协议,四次挥手(Four-way Wavehandshake)是 TCP 断开连接的标准流程,保证通信双方所有数据都传输完毕
核心目的
TCP 是全双工通信 (双方可同时发送和接收数据),断开连接时需保证双方均无数据要发送,因此需要双向分别发起断开请求,各自确认后,连接才正式关闭,类似 "打电话双方都说完了,互相确认后再挂电话"。
整体前提
- 双方均处于ESTABLISHED 状态,数据传输完成;
2.任意一方可主动发起断开请求(通常是客户端 ),称为主动关闭方 ,另一方为被动关闭方 ;
3.核心标志位FIN=1 表示 "本方无数据发送,请求关闭本方向的连接",TCP 全双工特性决定了两个方向的连接需要分别关闭。
分步解释(以客户端主动关闭、服务器被动关闭为例)
第 1 次挥手 :客户端 → 服务器,发起关闭连接请求
发送方 :客户端(主动关闭方),状态从ESTABLISHED→FIN_WAIT_1(终止等待 1)
报文标志 :FIN=1,ACK=1 (TCP 报文默认携带 ACK=1,除非是首次 SYN 报文)
关键字段 :1.序列号Seq=X (X 为客户端最后一次发送数据的序列号 + 1,若未发送数据则为 ISN_C+1)
2.确认号Ack=Y (Y 为服务器最后一次发送数据的序列号 + 1,确认已收到服务器所有数据)
核心作用 :客户端向服务器发送 "我已无数据要发送,请求关闭客户端→服务器方向的连接 ,请你确认"。
服务器行为 :收到 FIN 报文后,确认客户端无数据发送,先回复 ACK 确认报文,状态从ESTABLISHED→CLOSE_WAIT(关闭等待),同时通知应用层 "客户端要断开连接,你处理完剩余数据后告知我"。
第 2 次挥手 :服务器 → 客户端,确认客户端的关闭请求
发送方 :服务器(被动关闭方),状态保持CLOSE_WAIT
报文标志 :ACK=1,FIN=0 (仅确认,未发起自身的关闭请求)
关键字段 :1.确认号Ack=X+1 (表示已收到客户端 Seq=X 的 FIN 报文,确认关闭客户端→服务器方向的连接)
2.序列号Seq=Y (服务器最后一次发送数据的序列号 + 1)
核心作用 :服务器向客户端回复 "我收到了你的关闭请求,已确认关闭客户端→服务器方向的连接,请你等待我处理完剩余数据,我会再发起我的关闭请求"。
客户端行为 :收到 ACK 报文后,确认客户端→服务器方向的连接已关闭,状态从FIN_WAIT_1→FIN_WAIT_2 (终止等待 2),等待服务器的 FIN 报文(即服务器处理完数据后的关闭请求)。
第 3 次挥手 :服务器 → 客户端,发起自身的关闭连接请求
发送方 :服务器(被动关闭方),应用层处理完所有数据后,通知 TCP 层发起关闭,状态从CLOSE_WAIT→LAST_ACK(最后确认)
报文标志 :FIN=1,ACK=1
关键字段 :1.序列号Seq=Z (Z 为服务器最后一次发送数据的序列号 + 1,若第 2 次挥手后无数据发送则为 Y)
2.确认号Ack=X+1 (重复确认客户端的 FIN 报文,确保客户端收到)
核心作用 :服务器向客户端发送 "我已处理完所有数据,无数据要发送了,请求关闭服务器→客户端方向的连接,请你确认"。
客户端行为 :收到 FIN 报文后,确认服务器无数据发送,先回复 ACK 确认报文,状态从FIN_WAIT_2→TIME_WAIT(时间等待) (TCP 最关键的状态之一)。
第 4 次挥手 :客户端 → 服务器,确认服务器的关闭请求
发送方 :客户端(主动关闭方),状态保持TIME_WAIT
报文标志 :ACK=1,FIN=0
关键字段 :1.确认号Ack=Z+1 (表示已收到服务器 Seq=Z 的 FIN 报文,确认关闭服务器→客户端方向的连接)
2.序列号Seq=X+1 (遵循序列号规则,上一次发送的是 X,本次自增 1)
核心作用 :客户端向服务器回复 "我收到了你的关闭请求,已确认关闭服务器→客户端方向的连接,双方所有方向的连接均关闭"。
服务器行为:收到 ACK 报文后,确认所有连接均关闭,状态从LAST_ACK→CLOSED(关闭),服务器的 TCP 连接正式结束。
状态变化表

为什么需要四次挥手?
本质是 TCP 的「全双工通信」特性 :TCP 允许双方同时发送和接收数据,因此连接是双向的(客户端→服务器、服务器→客户端),断开时需要分别关闭每个方向的连接。
1.三次握手时,服务器可在确认客户端 SYN 的同时发起自身的 SYN (第 2 次握手 SYN+ACK 合为一个报文);
2.四次挥手时,服务器收到客户端的 FIN 后,无法立即发起自身的 FIN(因为服务器可能还有未传输完的数据),只能先回复 ACK 确认关闭一个方向,等数据传输完毕后,再单独发起 FIN 关闭另一个方向,因此需要四次报文交互。
三次握手与四次挥手对比

总结
1.三次握手和四次挥手是 TCP 面向连接 的核心体现,前者为数据传输做准备 ,后者为数据传输收尾 ,共同保证 TCP 连接的可靠性;
2.三次握手的关键是确认双向收发能力 ,三次是兼顾可靠性和效率的最优选择,两次会导致无效连接,四次则多余;
3.四次挥手的关键是适配 TCP 全双工特性 ,四次是必然结果,因服务器无法在确认 FIN 的同时立即发起 FIN;
4.TIME_WAIT 是 TCP 协议应对网络不可靠 的关键设计,虽会占用端口资源,但能避免旧报文干扰和 ACK 丢失问题;
5.握手和挥手的所有报文交互,均遵循 TCP 序列号和确认号规则:确认号 = 对方序列号 + 1,本次序列号 = 上一次发送的序列号 + 1(无数据时)。
UDP(用户数据报文协议)
1.特性:非面向连接、不可靠 ,仅完成分段和端口号,低开销、尽力传递
2.常用端口:69 (TFTP)、53 (UDP-DNS)、67/68 (DHCP)
3.适用场景:视频流、IP 语音、域名解析等对实时性要求高于可靠性的场景
TCP 与 UDP 协议核心区别(详细解释)
TCP(传输控制协议)和 UDP(用户数据报协议)是传输层的两大核心协议,二者均完成数据分段、端口号标识 的基础传输层工作,但在连接性、可靠性、传输效率、适用场景等 方面存在本质差异,TCP 主打可靠的面向连接传输 ,UDP 主打高效的无连接传输
一、核心连接特性差异
1. TCP:面向连接
TCP 在数据传输前,必须通过三次握手建立端到端的虚链路,传输完成后需通过四次挥手正常断开连接,整个过程遵循「建立连接→数据传输→断开连接」的固定流程,类似现实中的 "打电话"(先拨号接通,再通话,最后挂电话)。
三次握手:客户端发起 SYN 包→服务器回复 SYN+ACK 包→客户端回复 ACK 包,确认双方收发能力正常,连接建立。
四次挥手:主动方发起 FIN 包→被动方回复 ACK 包(确认收到断开请求)→被动方数据传输完成后发起 FIN 包→主动方回复 ACK 包,连接正式断开。
特殊标志位:RST(连接异常时强制重连)、PSH(加急接收数据)、URG(标记紧急数据指针)。
2. UDP:无连接
UDP 无需提前建立连接,也无需在传输后断开连接,发送方直接将数据封装为UDP 数据段,通过网络发送至目标端口即可,接收方收到后无需给出确认回复,类似现实中的 "寄信"(直接投递,无需确认对方是否收到)。
无握手 / 挥手流程,数据传输前无任何准备工作,传输后无后续收尾操作。
发送方不感知接收方的存在、在线状态及接收能力,仅负责 "尽力发送"。
二、可靠性与传输机制差异
TCP 和 UDP 最核心的区别,TCP 为实现可靠性牺牲了部分效率,UDP 为保证效率舍弃了可靠性。
1. TCP:可靠传输,具备 4 大可靠机制
TCP 通过确认、重传、排序、流控(窗口滑动) 四大机制,确保数据无丢失、无重复、按序到达,是可靠的字节流传输协议。
1.确认:接收方收到数据后,必须向发送方返回ACK 确认包,发送方只有收到确认,才会继续发送后续数据;
2.重传:若发送方在指定时间内未收到 ACK 包,判定数据丢失,自动重传该数据段;
3.排序:TCP 为每个数据段分配序列号,接收方按序列号重组数据,解决网络中数据乱序问题;
4.流控(窗口滑动):接收方通过窗口大小告知发送方自身的接收缓存剩余空间,发送方根据窗口大小调整发送速率,避免接收方因缓存满导致数据丢失。
此外,TCP 还具备拥塞控制能力(基于网络拥塞程度调整发送速率),进一步提升传输可靠性。
2. UDP:不可靠传输,无可靠机制
UDP 仅完成数据分段和端口号标识,无任何可靠性保障机制,数据传输过程中可能出现丢失、重复、乱序,且发送方无法感知。
1.无 ACK 确认,接收方收到数据后不回复,发送方不知道数据是否到达;
2.无重传机制,数据丢失后不会自动补发;
3.无序列号排序,乱序到达的数据不会被重组,直接交付给应用层;
4.无流控 / 拥塞控制,发送方按自身速率发送,不考虑接收方能力和网络状况。
UDP 的 "不可靠" 是协议层面 的设计,而非传输故障,其仅做 "尽力传递",不保证数据一定到达。
三、数据封装与头部结构差异
二者的协议头部结构决定了数据封装的复杂度和开销,头部越复杂,开销越大,传输效率越低。
1. TCP 头部:复杂,固定 20 字节(可扩展)
TCP 头部包含源端口、目的端口、序列号、确认号、报头长度、代码位、窗口大小、校验和、紧急指针 等字段,部分字段可根据需求扩展,固定开销 20 字节,复杂的头部为其可靠机制提供了支撑。
核心关键字段:序列号(32 位)、确认号(32 位)、窗口大小(16 位)、代码位(6 位,包含 SYN/ACK/FIN 等标志)。
2. UDP 头部:简单,固定 8 字节
UDP 头部仅包含源端口、目的端口、数据长度、校验和 4 个字段,固定开销 8 字节,无多余字段,封装和解封装速度极快,传输开销远低于 TCP。
校验和为可选字段(部分场景可关闭),进一步降低开销。
四、传输效率与延迟差异
传输效率和延迟由连接开销、头部开销、可靠性机制共同决定,UDP 的传输效率远高于 TCP,延迟远低于 TCP。
1. TCP:效率低,延迟高
1.连接开销 :三次握手 + 四次挥手带来额外的网络交互,增加了建立连接的延迟 (尤其是短连接场景,连接开销占比极高);
2.头部开销 :20 字节的固定头部,比 UDP 多 12 字节,大文件传输时累计开销显著;
3.可靠性机制开销 :ACK 确认、重传、排序、流控等机制需要额外的网络交互和计算资源,导致数据传输延迟增加,且部分带宽被用于传输确认包。
2. UDP:效率高,延迟低
1.无连接开销 :无需握手 / 挥手,直接发送数据,无建立连接的延迟,短连接场景优势极致;
2.头部开销小 :8 字节头部,封装 / 解封装速度快,网络带宽利用率高;
3.无可靠性机制开销 :无 ACK 确认、重传等额外交互,数据发送后无需等待,端到端延迟极低,且无带宽浪费。
五、数据传输模式差异
1. TCP:字节流传输,无数据边界
TCP 将应用层数据视为连续的字节流 ,无固定的数据边界,发送方会根据MSS(TCP 最大分段长度) 拆分数据,接收方按字节流重组,应用层读取数据时无需按固定包大小读取,由 TCP 保证数据的连续性。
特点:适合大量、连续的数据传输,如文件、文本等。
2. UDP:数据报传输,有明确数据边界
UDP 以数据报 为单位传输,每个 UDP 数据段是一个独立的数据包,发送方发送一个数据报,接收方就收到一个数据报,保留数据边界,应用层读取数据时需按固定的数据包大小读取。
特点:适合小数据包、独立报文的传输,如心跳包、查询请求等。
六、端口与连接标识差异
1. TCP:单端口可建立多个连接
TCP 的连接由源 IP、源端口、目的 IP、目的端口 四元组唯一标识,因此同一个目的端口可同时接受多个客户端的连接(如 Web 服务器的 80 端口,可同时为多个浏览器提供服务),每个连接对应一个独立的四元组。
2. UDP:单端口无连接概念,仅标识报文
UDP 无连接概念,端口仅用于标识应用层进程,同一个 UDP 端口可接收来自任意 IP 的任意数据报,无需区分不同的 "连接",仅通过端口将数据交付给对应的应用层进程。
七、适用场景差异
二者的设计特性决定了其适用场景的截然不同,TCP 适合对可靠性要求高、对延迟 / 效率要求低的场景,UDP 适合对延迟 / 效率要求高、对可靠性要求低的场景,或由应用层实现可靠性的场景。
1. TCP 的典型适用场景
所有需要保证数据完整、按序到达 的场景,核心 是 "数据不能丢、不能乱",即使牺牲一定效率和延迟:
1.网页浏览(HTTP/HTTPS):端口 80(HTTP)、443(HTTPS),确保网页内容完整加载;
2.文件传输(FTP):端口 20/21,确保文件无丢失、无损坏;
3.远程登录(Telnet/SSH):端口 23(Telnet)、22(SSH),确保指令和反馈按序传输;
4.电子邮件(SMTP/POP3/IMAP):确保邮件完整发送和接收;
5.数据库交互:确保数据库指令和数据的可靠传输。
2. UDP 的典型适用场景
所有需要低延迟、高传输效率的场景,核心是 "实时性优先,允许少量数据丢失",或应用层可自行实现可靠性的场景:
1.域名解析(DNS):端口 53,UDP 为主(TCP 为辅),解析请求为小数据包,对实时性要求高,少量丢失可重新请求;
2.动态主机配置(DHCP):端口 67/68,快速分配 IP 地址,实时性优先;
3.音视频流(直播、视频通话):如抖音、微信视频,允许少量帧丢失,但若延迟过高会导致卡顿,UDP 是最优选择;
4.IP 语音(VoIP):如网络电话,对延迟敏感,少量数据包丢失不影响通话理解;
5.游戏通信:如网络游戏的操作指令,实时性要求极高,允许少量指令丢失,避免卡顿;
6.广播 / 组播:UDP 天然支持广播和组播,TCP 仅支持单播。
八、TCP 与 UDP 汇总表

九、补充:TCP 分段与 UDP 的 IP 分片
二者均会遇到 "数据过大" 的问题,但处理方式不同,且均与MTU(最大传输单元,默认 1500 字节) 相关:
TCP 分段 :TCP 根据MSS(最大分段长度,MSS=MTU-IP 头部 - TCP 头部) 在发送方提前将大数据拆分为小分段,分段后在接收方按序列号重组,避免 IP 分片 ,效率更高;
UDP IP 分片:UDP 无分段机制,若数据报超过 MTU,由网络层(IP)在传输过程中分片,接收方由 IP 层重组,若其中一个分片丢失,整个 UDP 数据报作废,可靠性更低。
十、TCP/UDP总结
1.TCP 是可靠的面向连接协议 ,通过复杂的机制保证数据传输的完整性和有序性,适合对数据可靠性要求高的场景,是互联网中最基础的可靠传输协议;
2.UDP 是高效的无连接协议 ,舍弃可靠性以换取低延迟和高传输效率,适合对实时性要求高的场景,是音视频、游戏、广播等场景的最优选择;
3.二者无 "优劣之分",仅为不同设计目标 的产物,实际网络中二者互补,共同支撑互联网的各类应用(如 DNS 同时支持 UDP 和 TCP,小请求用 UDP,大请求用 TCP);
4.若需要 "UDP 的效率 + TCP 的可靠性",可由应用层实现可靠性机制(如自定义确认、重传、排序),这是很多高性能应用的常用方案(如网络游戏、直播平台)。
4. 网络层核心协议
IPv4 地址
1.构成:32 位二进制,点分十进制 表示,8 位一组,分网络位(标识网段)和主机位(标识主机)
2.子网掩码:连续 1 + 连续 0 构成,用于区分网络位 / 主机位(如 255.255.255.0/24)
3.地址分类:
A 类:1-126,网络位 8 位,掩码 255.0.0.0
B 类:128-191,网络位 16 位,掩码 255.255.0.0
C 类:192-223,网络位 24 位,掩码 255.255.255.0
D 类:224-239(组播,仅作目标 IP)
E 类:240-255(保留)
4.特殊地址:
127.0.0.1(环回地址)
255.255.255.255(受限广播)
0.0.0.0(无 / 所有地址)
169.254.0.0/16(本地链路地址)
ARP(地址解析协议)
1.功能:通过 IP 地址获取 MAC 地址
2.工作原理:广播发送请求包 → 所有设备记录源 IP-MAC 映射 → 目标设备单播回复
3.缓存老化时间:180s
4.免费 ARP:验证 IP 冲突、检测网卡更换
二、网络设备与工作原理
1. 物理层设备
1.中继器 :放大电信号,延长传输距离,解决信号衰减(波形易失真)
2.集线器(HUB):多端口中继器,共享带宽,所有节点同一冲突域,存在资源占用、冲突、安全问题
2. 数据链路层设备(二层设备)
交换机 (由网桥发展而来)
1.工作层:介质访问控制层,识别MAC 地址 (48 位二进制,16 进制显示,全球唯一)
2.工作原理:
1.学习:记录源 MAC 与入接口的映射,存入 MAC 地址表(老化时间 300s)
2.转发:查询目标 MAC,存在则单播 ,不存在则泛洪(向入接口外所有接口发送)
3.核心优势:隔离冲突域,支持多节点同时通信,单播传输,提高端口密度
4.速率公式:实际速率≈(带宽 / 8)×85%(1 字节 = 8 位二进制,1024 字节 = 1KB)
3. 网络层设备(三层设备)
路由器
1.工作层:网络层,识别IP 地址 ,核心实现全网互联
2.核心特性:每个接口是 ** 广播域(泛洪范围)** 边界,隔离广播域
3.工作原理:
1.PC 判断目标 IP 是否在同一广播域:
是→ARP 获取 MAC 单播通信
否→将目标 MAC 改为网关 MAC,转发至路由器
2.路由器接收数据包后,查询路由表:有记录则转发,无记录则丢弃
4.关键:路由表是路由器转发的核心依据(静态路由核心为手动配置路由表)
三、子网划分与汇总(静态路由前置核心)
1. 子网划分(VLSM,可变长子网掩码)
1.核心:借主机位作网络位 ,将一个大网段划分为多个小网段,提高 IP 利用率
2.计算规则:
1.确定借位数,计算子网数:2^ 借位数
2.确定每个子网的主机数:2^ 剩余主机位 - 2(排除网络位全 0 / 全 1)
3.示例:192.168.1.0/24(C 类,256 主机)
借 1 位(/25):2 个子网,每个 126 主机(192.168.1.0/25、192.168.1.128/25)
借 2 位(/26):4 个子网,每个 62 主机(0/26、64/26、128/26、192/26)
172.16.0.0/15 划分为4 个网段 并写出每个网段的可用主 机数
172.00001000.0 0000000.00000000172.16.0.1/17---------172.16.127.254/17
172.00001000.1 0000000.00000000172.16.128.1/17-------172.16.255.254/17
172.00001001.0 0000000.00000000172.17.0.1/17--------172.17.127.254/17
172.00001001.1 0000000.00000000172.17.128.1/17--------172.17.255.254/17
2. 子网汇总(CIDR,无类域间路由)
1.核心原则:取相同位,去不同位
2.步骤:
1.将所有网段转换为 32 位二进制
2.从左到右取连续的相同二进制位,计数为掩码位数
3.将相同位还原为十进制,即为汇总网段
3.示例:
192.168.0.0/24
192.168.00000000.00000000192.168.1.0/24
192.168.00000001.00000000192.168.2.0/24
192.168.00000010.00000000192.168.3.0/24
192.168.00000011.00000000CIDR=192.168.0.0/22
3. 网段判断核心
1.网络位全 0:代表网段 ,不可配置为主机 IP(如 192.168.1.0/24)
2.主机位范围:网段第一个 IP(网络位全 0)→ 最后一个 IP(主机位全 1,直接广播地址)
3.可用主机 IP:网段 IP+1 → 直接广播地址 - 1(如 192.168.1.0/24,可用 192.168.1.1-254)
四、华为设备基础配置命令
1. 视图切换

2. 基础配置命令
1.更改设备名称:
[Huawei]sysname 设备名(如 [Huawei] sysname R1)2.配置接口 IP:
[R1-G0/0/0]ip address IP地址 子网掩码(简写:ip add 192.168.1.1 24)3.查看接口状态:
<R1>display ip interface brief(核心:物理 + 协议双 UP 才可用)4.查看当前配置:
[R1]display current-configuration(缓存配置,关机消失)5.保存配置:
<R1>save(保存至闪存 Flash,关机不消失)6.查看保存配置:
<R1>display saved-configuration7.删除配置:
[配置视图]undo 原配置命令(在哪配在哪删,如 undo ip address)8.查看当前视图配置:
[任意视图]display this9.命令补全:
按Tab键;10.查看可执行命令:
[视图]?
3. DHCP 基础配置
bash
[R1]dhcp enable // 全局开启DHCP服务
[R1]ip pool AA // 创建地址池AA
[R1-ip-pool-AA]network 192.168.1.0 mask 24 // 定义地址池网段
[R1-ip-pool-AA]gateway-list 192.168.1.1 // 定义网关
[R1-ip-pool-AA]dns-list 114.114.114.114 8.8.8.8 // 定义DNS
[R1-G0/0/0]dhcp select global // 接口调用全局DHCP配置
什么是DNS 与 DHCP
一、DNS(域名解析协议)
- 传输层与端口:基于 UDP(默认)/TCP ,使用 53 端口
- 架构:典型 C/S 架构(客户端 ↔ 服务器)
- 核心功能:实现域名 ↔ IP 地址 的互相映射
两种解析方向 :
1.正向解析 :根据主机名 / 域名 → 查找对应 IP 地址 (最常用,比如输入www.baidu.com找到服务器 IP)
2.反向解析 :根据 IP 地址 → 查找对应 主机名 / 域名(用于日志溯源、反向验证等场景)
二、DHCP(动态主机配置协议)
- 传输层与端口:基于 UDP ,服务器 端口 67 ,客户端 端口 68
- 架构:典型 C/S 架构
- 客户端:需要获取 IP 地址的设备(如 PC、手机)
- 服务器:负责分配 IP 地址、子网掩码、网关、DNS 等网络参数
1. 首次获取 IP 地址

2. 再次获取 IP 地址
客户端之前已经获取过 IP,再次上线时流程简化为 2 步:
- 客户端直接发送 DHCP Request 包
- 服务器回复 DHCP ACK 包,直接续租 / 分配原 IP
3. 异常情况(原 IP 被占用)
- 客户端发送 DHCP Request 包请求原 IP
- 服务器回复 DHCP NAK 包(拒绝),告知原 IP 已分配给其他设备,客户端需重新走 Discover 流程获取新 IP
4. 租期与续租机制
默认租期 :24 小时
续租触发点:
- T1(租期 50%,12h):客户端向服务器单播发送 Request 包,请求续租
- T2(租期 87.5%,21h):若 T1 未得到响应,客户端广播发送 Request 包,尝试向任意 DHCP 服务器续租
若租期结束仍未续租成功,客户端必须释放当前 IP,重新发起 Discover 流程
三、举例说明
DNS :网络的 "电话本"
- 就像查电话本:域名是人名,IP 是电话号码,DNS 帮你把人名翻译成号码,方便找到对方。
- 正向解析是 "按人名查号码",反向解析是 "按号码查人名"。
DHCP :网络的 "临时房东"
- DHCP 服务器就像房东,负责给设备(租客)分配 IP 地址(房间号),不用手动配置。
- 首次租房要走完整流程(看房→选房→签合同→拿钥匙),再次租房直接续租;如果原房间被占了,就换个新房间。
- 租期机制保证 IP 地址能被循环利用,避免资源浪费。
四、DNS 与 DHCP对比表

五、网络通信核心规则(静态路由理解基础)
1.同一广播域 :PC 通过 ARP 协议获取目标 MAC 地址,直接单播通信,无需路由器
2.不同广播域 :PC 将数据包发送至网关 (路由器接口),由路由器通过路由表转发
3.TTL(生存周期) :数据包每经过一个路由器 TTL-1,值为 0 时丢弃,防止环路(默认 64/128,最大 255)
4.MTU/MSS :MTU(最大传输单元,默认 1500)限制二层帧大小,超则 IP 分片;MSS(TCP 最大分段长度)为 MTU - 报文头,超则 TCP 分段
5.冲突域 / 广播域:
冲突域:同一物理介质,多节点同时发送会冲突(集线器属于同一冲突域,交换机隔离冲突域)
广播域:广播包能到达的范围(交换机不隔离广播域,路由器隔离广播域)
六、网络拓扑基础
1.总线型(直线型) :所有节点接同一总线,单点故障全网瘫痪

2.环形 :节点首尾相连,单向 / 双向传输,故障检测复杂

3.星型 :以集线器 / 交换机为中心,单点故障仅影响本节点,目前最常用

4.树状 :星型拓扑的层级扩展,适用于大型网络

5.全网状(波环型) :所有节点两两相连,可靠性最高,成本最高
