台湾鑫创推出的SSS1700芯片方案,凭借高集成度与专业级性能,成为USB音频对录线、直播声卡的主流选择,完美解决双向音频传输的核心难题。

一、高集成单芯片,极简方案的核心
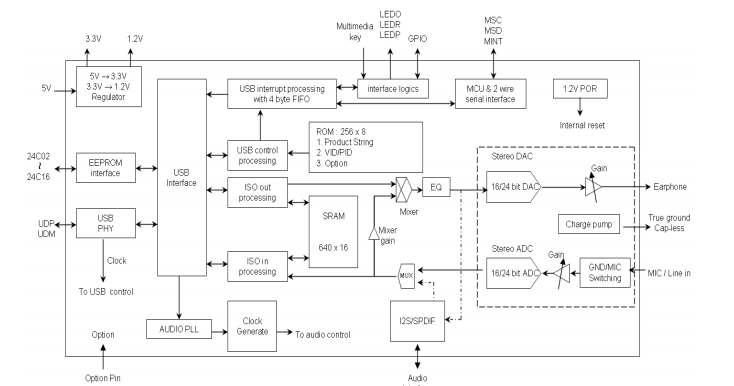
SSS1700是一款高度集成的USB音频单片控制器,专为音频对录与桥接应用优化。它将立体声 ADC/DAC、耳机驱动、USB PHY、音频 PLL 及片内晶振全部整合,实现 "单芯片搞定双向音频"。
精简电路,降低成本:无需外部12MHz晶振与大量阻容,支持"无电容输出"大幅减少BOM元器件,PCB面积更小,让对录线更小巧便携。
双向音频传输:支持全双工I2S数字音频接口,实现USB与I2S协议双向转换,是手机直播内录、电脑声音回传、双机互录的关键。
灵活配置:可外接EEPROM24C0X 系列),存储设备PID/VID、音效参数、增益配置,满足产品定制化需求。
二、24bit/96kHz 高清音质,告别杂音与失真
音频对录的核心是保真。SSS1700 在参数上全面超越前代(如SSS1629),达到准专业级水准:
高清采样:支持24bit/96kHz高解析音频,信噪比(SNR)达91dB,总谐波失真(THD+N)低至 -75dB ,背景干净、人声通透、乐器细节完整。
AGC 自动增益:增益范围 -23dB~+40dB ,自动稳定麦克风音量,避免录音爆音或声音过小,直播、K歌更省心。
硬件音效增强:内置五频段硬件 EQ,可预设音效,无需依赖 APP 或电脑软件,提升音质表现力。
三、全能场景覆盖,直播/对录/转接全搞定
SSS1700 凭借双向传输、免驱、高兼容特性,成为音频对录线的 "全能芯":
USB 音频对录线:实现手机↔手机、手机↔电脑、电脑↔电脑间双向音频互录,支持直播内录、游戏语音回录、音乐转录,无延迟、无损耗。
直播音频桥:解决手机直播 "无法内录系统声音" 痛点,将电脑伴奏、音效同步回传至手机,主播无需外置声卡,低成本实现专业直播。
Type-C转3.5mm:支持美标/国标耳机自动识别,带线控(接挂电话、切歌、调音量),兼顾转接与对录功能。
便携声卡/语音模块:低功耗、小封装(QFN36),适配迷你声卡、录音笔、会议设备,稳定驱动16Ω-32Ω耳机。
四、相比传统方案,优势一目了然
对比 SSS1629、CM108B 等经典芯片,SSS1700 实现性能、成本、易用性三重升级:
集成度更高:单芯片替代 "芯片 + MCU + 晶振",开发周期缩短 50%,适合量产。
音质全面提升:从 16bit/48kHz 跃升至 24bit/96kHz,底噪更低、动态范围更广。
兼容性更强:兼容 USB Audio Class v1.0,Windows/macOS/Android/iOS免驱即插即用,跨设备无缝适配。
性价比突出:外围极简、BOM 成本低,性能媲美高端方案,价格更亲民。
结语
在音频对录与直播外设领域,鑫创 SSS1700已成为标杆级方案。它以高集成、高清音质、全兼容、低成本的核心优势,完美满足用户对 "小巧、稳定、好声音" 的需求。无论是厂商开发对录线,还是用户选购直播配件,基于 SSS1700 的方案都是兼顾品质与性价比的可靠选择,为移动音频时代的双向传输提供了完美解决方案。