Keith律所2025年6月首案,代理英国艺术家Kim Haskins发起版权维权行动!
案件基本情况:
起诉时间:2025-6-3、2025-6-4
案件号:25-cv-06180、25-cv-06190
品牌:Kim Haskins Work
原告:Kim Haskins
原告律所:keith
起诉地:伊利诺伊州北部法院
涉案商标/版权:


原告品牌简介:
Kim Haskins是英国贝德福德的画家与插画师,擅长充满生命力的艺术作品;Kim Haskins通过画笔构建一个个由生物构成的世界,用色彩与线条传递快乐;最受欢迎的是拥有夸张表情的猫咪:或瞪着眼睛,或顶着蓬松的毛发,搭配大胆的用色与夸张的动态,形成极具辨识度的个人风格。这些充满想象力的原创画作不仅被全球艺术收藏家争相珍藏,更被广泛应用于各类生活领域。

Kim Haskins的创作以商品形式渗透到日常角落,让艺术触手可及。作为坚定的素食主义者与动物保护倡导者,她始终将部分作品收益捐赠给动物救援机构,用画笔搭建起艺术与公益的桥梁。

侵权案例展示:

优品案件分析:
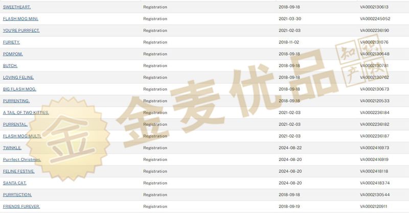
本次涉案作品为登记号VA 2-130-673、VA 2-130-613和 VA 2-236-190等12个与猫相关的版权插画,其标志性的狂野眼神特征极具辨识度。目前排查发现该艺术家在美国共有42项版权登记,虽然本次维权仅针对其中部分版权作品发起,但后续不排除有多案连发的风险,跨境卖家需立即自查:猫咪系列插画,重点筛查家居装饰、文具、服饰配饰等类目。需要注意的是,即使二次创作也可能构成实质性相似,建议跨境卖家切勿抱着侥幸心理。