OpenGL 渲染管线中坐标变换的完整流程
局部坐标 → 世界坐标
世界坐标 →观察坐标
观察坐标 →裁剪坐标
裁剪坐标 → NDC
NDC → 窗口坐标
窗口坐标 → 屏幕坐标
其中 局部坐标到裁剪坐标的转换都是由顶点着色器实现的,裁剪坐标到窗口坐标的转换由 OpenGL 固定管线完成,窗口坐标到屏幕坐标的转换则由窗口系统(Glfw / Qt / SDL 等)完成。
- 局部坐标,顶点相对于模型自身中心的原始坐标。
- 世界坐标,模型在虚拟世界中的位置。
- 观察坐标,又称视图坐标,模型相对于摄像机的位置
- 裁剪坐标,又称投影坐标,应用投影变换后的坐标,听起来像句废话,在本篇文章里,我们将会介绍透视投影和正交投影,到时候读者便能理解什么是投影坐标了。我们现在只需要知道它包含了一个 w 分量,在 [-w, w] 之外的值,我们可以认为在视野之外,会被裁剪掉,然后在投影坐标转 NDL 坐标这一步,会将 (x,y,z)除以w分量(透视除法),把坐标标准化到[-1,1]范围的立方体空间。
- NDC(标准化设备坐标),坐标归一化,映射到 [-1,1]。
在一些资料里,我们还会看到一个名词---齐次坐标。在 OpenGL 和计算机图形学中,齐次坐标通常表示为 (x, y, z, w)。也就是在三维坐标的基础上增加了一个 w 分量。
当 w 等于 0 时,它表示的是一个向量(方向),当 w 不等于 0 时,他表示的是一个点。
在顶点着色器之后,图形管线会自动执行透视除法 (即 (x/w, y/w, z/w)),以实现在透视投影中物体近大远小的效果。简单来说,它就是三维坐标,加上了一个 w 分量。
接下来,我们再来介绍下透视投影和正交投影,通过对透视投影和正交投影的学习,我们可以了解什么是投影变换,为什么要做投影变换,以及 w 分量的值是怎么来的。
透视投影
我们先来看下透视投影的计算公式,然后再来介绍下这个公式怎么来的。在透视投影中,w 一般设置它的值为 -z。这样 x, y 在裁剪空间(裁剪坐标所在的空间)的大小会和距离成反比,距离越远,数值越小,这是符合我们的实际视觉感受到的效果的。
cpp
// 焦距
float f = cot(fov / 2.0f) = 1.0f / tan(fov / 2.0f);
// 屏幕比例
float aspect = width / height;
// 深度映射
float A = (far + near) / (near - far);
float B = (2.0f * far * near) / (near - far);
x_clip = x_view * (f / aspect) ;
y_clip = y_view * f;
z_clip = A * z_view + B;
w_clip = -z_view;
OpenGL 透视投影和小孔成像是类似的(参考下图)。
其中 fov 表示视野角度,控制能看到多大范围,OpenGL 最终要将值映射到 [-1, 1] 的范围内的,所以对边长为 1,邻边则是 f ,得出 float f = cot(fov / 2.0f) = 1.0f / tan(fov / 2.0f)。
再根据三角形相似,物体在成像平面的高度为 h * f / d,这个 d 即为 x 到小孔的距离。除以 d 这一步 OpenGL 帮我们做了,我们设置 w_clip 等于 -z_view,OpenGL 在把投影坐标转 NDC 时会除以 w_clip,至于为什么是 -z_view,因为相机是从 (0, 0, 0) 往 -z 方向看的。
到了这里,我们得出第一步公式 x_clip = x_view * f 和 y_clip = y_view * f 。
那么 x 的投影计算公式为什么还有个 aspect 呢?这个很好理解,因为 NDC 坐标空间是 正方形的,而窗口不一定是,所以需要有个宽高比去修正。

接下来,我们再来看下 z 分量的投影坐标计算公式
cpp
float A = (far + near) / (near - far);
float B = (2.0f * far * near) / (near - far);
z_clip = A * z_view + B;
其中 near 表示最近的可渲染平面,far 表示最远可渲染平面。
我们首先需要了解下 z 这个值是用来干嘛的,z 不就是用来表示物体到相机的距离吗?但是我们屏幕的坐标是二维的,它是不需要深度信息的。不过我们仍需要知道物体距离相机远近,当多个物体在二维坐标下的点相同时,我们应该显示近的物体,因为它会遮挡远的物体。另外 x,y 的 NDC 坐标和 z 都是 1 / z 的关系,那么 z 的 NDC坐标 是不是也应该如此呢?
对于近处:物体细节多,需要精确遮挡测试,远处:物体细节少,遮挡关系没有那么重要,刚好 1 / z 可以满足这样的需求,当 z 的绝对值较小时,较小的变化会引起 1 / z 较大幅度的变换,而 z 的绝对值较大时,它的变化影响不是那么大。
根据这样的思路我们得出了一个式子 z_clip = B,B 为常数。转成 NDC 即为 z_ndc = B / z_view。NDC 需要将坐标映射到 [-1, 1] ,显然 B / z_clip 不满足这样的条件,所以我们还得加上一个系数 A ,让它的值域在 [-1, 1] 之间,最终得出式子 z_ndc = A + B / z_view 也就是 z_clip = A * z_view + B
刚刚我们提到"当多个物体在二维坐标下的点相同时,我们应该显示近的物体",这个过程称为深度测试,深度测试为每个像素维护一个深度缓冲区(Depth Buffer,也称 Z-Buffer),存储该像素的深度值(通常是视角到物体的距离);绘制时,新像素的深度值与缓冲区中已有值比较,仅当满足预设条件时,才更新颜色缓冲区和深度缓冲区。默认情况 新深度 < 存储深度 会通过测试。根据深度测试的更新逻辑,我们可以得出一个方程,当 z_view 等于 -near 时 z_ndc 应该等于 -1 , z_view 等于 -far 时 z_ndc 应该等于 1。解方程得到 A = (far + near) / (near - far), B = (2.0f * far * near) / (near - far)。
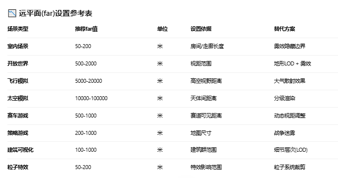
至于 fov,far near 应该怎么设置需要根据实际渲染需求来确定。



正交投影
正交投影得特点是,无近大远小效果,平行投影(所有投影线平行),保持物体实际尺寸。常用于2D、UI、CAD。因为无近大远小效果,它的 w 值恒定为 1。
所以它的公式推导也简单得多,以 x 为例子:x_ndc = x_clip = A * x_view + B
然后根据边界条件,当 x_view 等于裁剪空间左边界 l (视图坐标)时,x 等于 -1,当 x_view 等于右边界 r 时,x 等于 1。根据这个方程,我们可以解出
x = 2 × x_view / (r - l) - (r + l) / (r - l)
y z 同理,最后我们得到正交投影计算公式
cpp
x_clip = 2 × x_view / (r - l) - (r + l) / (r - l)
y_clip = 2 × y_view / (t - b) - (t + b) / (t - b)
z_clip = -2 × z_view / (f - n) - (f + n) / (f - n)
w_clip = 1.0
由于笔者水平有限,错误不足之处,烦请各位读者斧正。