

在追求健康头皮与浓密秀发的道路上,一款得心应手的头皮护理液涂抹工具至关重要。今天我们要探讨的这款液体化学药剂涂抹器,专为涂抹头皮护理液而设计,旨在促进头皮健康、预防脱发。有了它,用户只需轻轻倾斜,就能将护理液精准地涂抹到头皮上。它究竟有何独特之处,能否成为脱发人群的得力助手呢?让我们一探究竟。
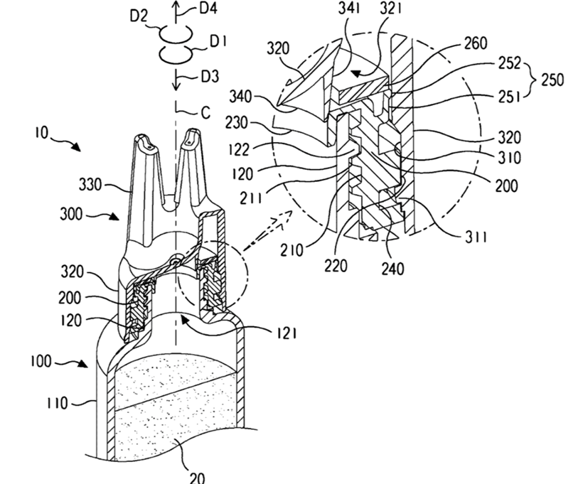
从这张图中,我们可以清晰地看到这款涂抹器的精妙构造。它主要由容器、内盖和外盖组成。容器就像一个"液体宝库",储存着珍贵的头皮护理液,并设有一个出口孔。内盖与容器相连,其内部的衬套部分沿着出口孔的中心轴与出口孔紧密衔接,仿佛是宝库的"中转站"。而外盖则以一种巧妙的方式与内盖相连,既能旋转又能移动。外盖的塞子部分犹如一位"智能门卫",可以灵活地控制衬套部分的开合,决定护理液的流出与否。当外盖以中心轴为圆心,按特定方向旋转并沿轴移动时,就能实现对衬套部分的堵塞或开启,从而精准控制护理液的排放。

(图源于公开专利文献)
创意烩一烩
咱们把这款涂抹器想象成一个专为头皮打造的"智能护理小管家"。容器好比是小管家的"储物仓库",满满当当地储存着能滋养头皮、预防脱发的护理液。内盖则像是连接仓库与外界的"精密通道",它的衬套部分与出口孔严丝合缝,保证护理液能有序地流向后续通道。
外盖的设计堪称一绝,它就像是小管家的"智能操控面板"。当我们需要涂抹护理液时,外盖按照特定的方向旋转并移动,就像在操控面板上按下了"开启"按钮,塞子部分打开衬套,护理液便顺畅地流出;而当不需要使用时,外盖通过反向操作,又能像按下"关闭"按钮一样,将衬套堵住,防止护理液泄漏。
具体来看,外盖与内盖的连接方式十分巧妙。外盖可以在堵塞位置和开启位置之间灵活切换,开启位置相对于堵塞位置,不仅在中心轴的逆时针方向上有一定间隔,而且在轴向上位于堵塞位置的上方。这就好比是操控面板上的两个特定档位,清晰明了,方便用户操作。
内盖上的凸轮槽和外盖上的导向突起,更是如同两个默契的"舞伴"。凸轮槽以与中心轴呈锐角的倾斜方向在内盖外周形成,导向突起则恰好能在外盖内周突出并可滑动地插入凸轮槽。当导向突起沿着凸轮槽滑动时,外盖就会相应地在第一移动方向或第二移动方向上移动,从而实现堵塞或开启的动作。这就像舞伴之间的默契配合,一举一动都精准无误,确保了涂抹器的顺畅操作。
再看其他细节,内盖的密封部分就像一个严密的"防水堤坝",能水密地密封内盖外周和外盖内周,有效防止护理液泄漏。吸收部分则像一块"海绵助手",围绕着衬套部分,能吸收护理液,确保涂抹时更加均匀。而外盖上的梳齿部分,不仅有排放护理液的排放孔,还带有按摩突起,当护理液从排放孔流出时,按摩突起还能顺便给头皮来一场舒适的按摩,仿佛是小管家提供的"额外服务",让头皮护理体验更加完美。
老贾洞察

(图源于豆包AI生成)
这项专利的巧妙之处令人赞叹。首先,它创新性地设计了独特的开合结构,通过外盖的旋转和移动精准控制护理液的排放,既方便用户操作,又能有效防止泄漏,这在同类产品中独具优势,就像为涂抹器装上了一个"智能阀门",提升了产品的实用性和便捷性。其次,各个部件之间的配合精妙,从内盖的凸轮槽与外盖导向突起的滑动配合,到密封部分、吸收部分以及梳齿部分的设计,都充分考虑了产品的功能性和用户体验,如同搭建了一个精密的"护理系统",各个环节紧密协作,为头皮护理提供了全方位的保障。再者,这种设计不仅适用于头皮护理液,对于其他类似的液体化学药剂涂抹场景也具有一定的通用性,拓展了产品的应用范围。
从技术趋势来看,这反映了个人护理产品正朝着更加智能化、人性化和多功能化的方向发展。通过巧妙的机械结构设计,提升产品的使用便利性和用户体验,同时注重细节和功能性的完善,是未来个人护理产品技术的重要发展方向,而该专利无疑走在了前列。
商业放大镜

对于科技创业者而言,这是一座等待挖掘的商机宝藏。如果能够将这项专利技术成功转化为产品推向市场,凭借其独特的设计和实用的功能,尤其是在头皮护理领域的针对性,有望在竞争激烈的个人护理产品市场中脱颖而出。创业者可以围绕这个核心技术,开发出一系列丰富多样的产品,如针对不同头皮护理需求的涂抹器套装,搭配不同功效的头皮护理液,提供个性化的解决方案。同时,可以结合品牌推广和优质的售后服务,打造具有影响力的个人护理品牌,满足不同消费者的多样化需求,从而在市场中占据一席之地。
从投资人的角度看,该专利具有较高的投资价值。随着人们对头皮健康和脱发预防的关注度不断提高,头皮护理产品市场规模庞大且持续增长。这项专利技术的创新性和实用性,使其具备强大的市场竞争力。一旦成功商业化,有望获得丰厚的回报。不过,投资也伴随着一定风险,比如产品研发过程中可能面临的生产工艺难题,如何确保各个部件的精度和稳定性;市场推广时,消费者对新的涂抹器设计的接受程度等。但如果能够有效应对这些挑战,该项目将是一个值得投资的潜力股。
你觉得这款头皮护理液涂抹器多久能成为市场上的热门产品呢?你在使用头皮护理产品时,有没有遇到过涂抹不方便的问题?不妨在评论区分享一下你的经历,大家一起交流探讨。更多专利产品关注"老贾专利烩"带你揭开这个充满机遇与挑战的行业面纱。