工具:Matlab2021a
电脑信息:Intel® Xeon® CPU E5-2603 v3 @ 1.60GHz
系统类型:64位操作系统,基于X64的处理器 windows10 专业版
simulink练习:
传递函数:


可见,分母是放大倍数,分母越小响应越快。
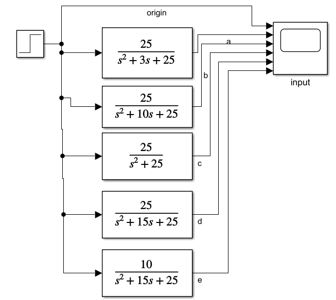
二阶系统:


工具:Matlab2021a
电脑信息:Intel® Xeon® CPU E5-2603 v3 @ 1.60GHz
系统类型:64位操作系统,基于X64的处理器 windows10 专业版
simulink练习:
传递函数:


可见,分母是放大倍数,分母越小响应越快。
二阶系统:

