目录
[一、Newman 介绍:](#一、Newman 介绍:)
[二、Newman 命令行介绍:](#二、Newman 命令行介绍:)
[newman run [options]](#newman run [options])
[------------------------------------分 割 线----------------------------------------------------](#------------------------------------分 割 线----------------------------------------------------)
[三、Newman 实现接口自动化流程](#三、Newman 实现接口自动化流程)
[1、Postman 中调试接口,编写业务逻辑和 Tests](#1、Postman 中调试接口,编写业务逻辑和 Tests)
[1.1 Http statuscode](#1.1 Http statuscode)
[1.2 特定数据校验](#1.2 特定数据校验)
[1.3 请求超时判断](#1.3 请求超时判断)
[1.4 错误判断](#1.4 错误判断)
[2、导出 json 脚本,上传到 Git;](#2、导出 json 脚本,上传到 Git;)
[3、Jenkins 中创建 Git 自动更新任务](#3、Jenkins 中创建 Git 自动更新任务)
[3.1 Jenkins 新建一个自由风格的项目](#3.1 Jenkins 新建一个自由风格的项目)
[3.2 设置 Git 地址、证书及分支](#3.2 设置 Git 地址、证书及分支)
[3.3 设置 Git hook](#3.3 设置 Git hook)
[4、Jenkins 中创建 Newman API 任务](#4、Jenkins 中创建 Newman API 任务)
[4.1 设置定时任务](#4.1 设置定时任务)
[4.2 构建脚本](#4.2 构建脚本)
[5、Jenkins 中添加 JUnit 配置](#5、Jenkins 中添加 JUnit 配置)
[6、Jenkins JUnit 测试结果展示](#6、Jenkins JUnit 测试结果展示)
[7、Jenkins 配置 Slack](#7、Jenkins 配置 Slack)
[8、测试结果发送到 Slack,移动端查看,效果图如下:](#8、测试结果发送到 Slack,移动端查看,效果图如下:)
前言:
使用Postman+Newman+Git+Jenkins+Slack进行接口自动化和监控是一种综合的方案,可以实现自动化的接口测试、持续集成和实时监控。Postman是一个流行的API开发和测试工具,Newman是Postman的命令行工具,Git是一个版本控制系统,Jenkins是一个持续集成工具,而Slack是一个团队协作平台。
如何第一时间发现接口异常,并快速定位哪里出了问题,哪个接口 or 服务?想到接口自动化和 Slack,所以就有了以下内容
一、Newman 介绍:
1、简介
Newman 是命令行工具,Postman 是 GUI 的客户端,Newman 可执行 Postman 导出的.json 脚本文件。
Newman 运行需要先安装 NodeJS 环境(>=v4.)。
NodeJS 下载:Installing Node.js via package manager | Node.js.
因 NodeJS 可以跨平台支持,所以 Postman & Newman 也可以同时支持 Windows/Mac/Linux 等多个系统。
2、安装
通过 NPM 安装,所以上面安装 nodejs 最好也通过 NPM 安装
$ npm install newman --global;
3、检查
$ newman -v
打印出当前 Newman 版本号即安装成功。
PS:Newman 一定要用最新或 3.8.0 及以上版本,因之前版本存在一些 bug,会导致运行 Postman 脚本时报错。
4、运行
运行一个 Postman 导出的.json 文件
$ newman run path/fileName.json;

二、Newman 命令行介绍:
newman run <collection-file-source> [options]
-e <source>, --environment <source>
- 指定环境变量的路径。环境变量定义和管理详见:官方详解
-g <source>, --globals <source>
- 指定全局变量的路径。
-d <source>, --iteration-data <source>
- 指定数据(csv)文件路径。数据文件说明:官方详解
-n <number>, --iteration-count <number>
- 指定当前脚本运行次数。
--export-environment <path>
- 执行结束前,导出本次执行后的环境变量到指定路径。
--export-globals <path>
- 执行结束前,导出本次执行后的全局变量到指定路径。
--export-collection <path>
- 执行结束前,导出本次执行后的全部脚本到指定路径。
--timeout-request <ms>
- 指定请求超时时间,单位是毫秒 ms。
测试结果配置
-r <reporter-name>, --reporters <reporter-name>
- 指定测试报告的导出格式
- 目前支持四种格式:
cli,json,html,junit--reporter-{``{reporter-name}}-{``{reporter-option}}
- 支持同时导出多种测试报告格式
- JSON
--reporter-json-export <path>- HTML
--reporter-html-export <path>- JUNIT/XML
--reporter-junit-export <path>- 上述几种测试报告 Demo 详见:官方详解
示例
newman run -e ...... -n 1 -r cli,json,junit --reporter-json-export /home/admin/temp/json_reporter_171211.json --reporter-junit-export /home/admin/temp/xml_reporter_171211.xml
注释
newman 执行指定脚本1 次,并输出cli 、json 和junit 三种测试报告,其中 json 报告保存至**/home/admin/temp/json_reporter_171211.json** ,junit 报告保存至**/home/admin/temp/xml_reporter_171211.xml**。
------------------------------------分 割 线----------------------------------------------------
以上部分摘自 Newman Github 官网,提了一些下面会用到的地方,还有很多地方没有提到,更全更详细详见官方文档 Newman Github
终于到重点了
三、Newman 实现接口自动化流程
整体框架如下图:

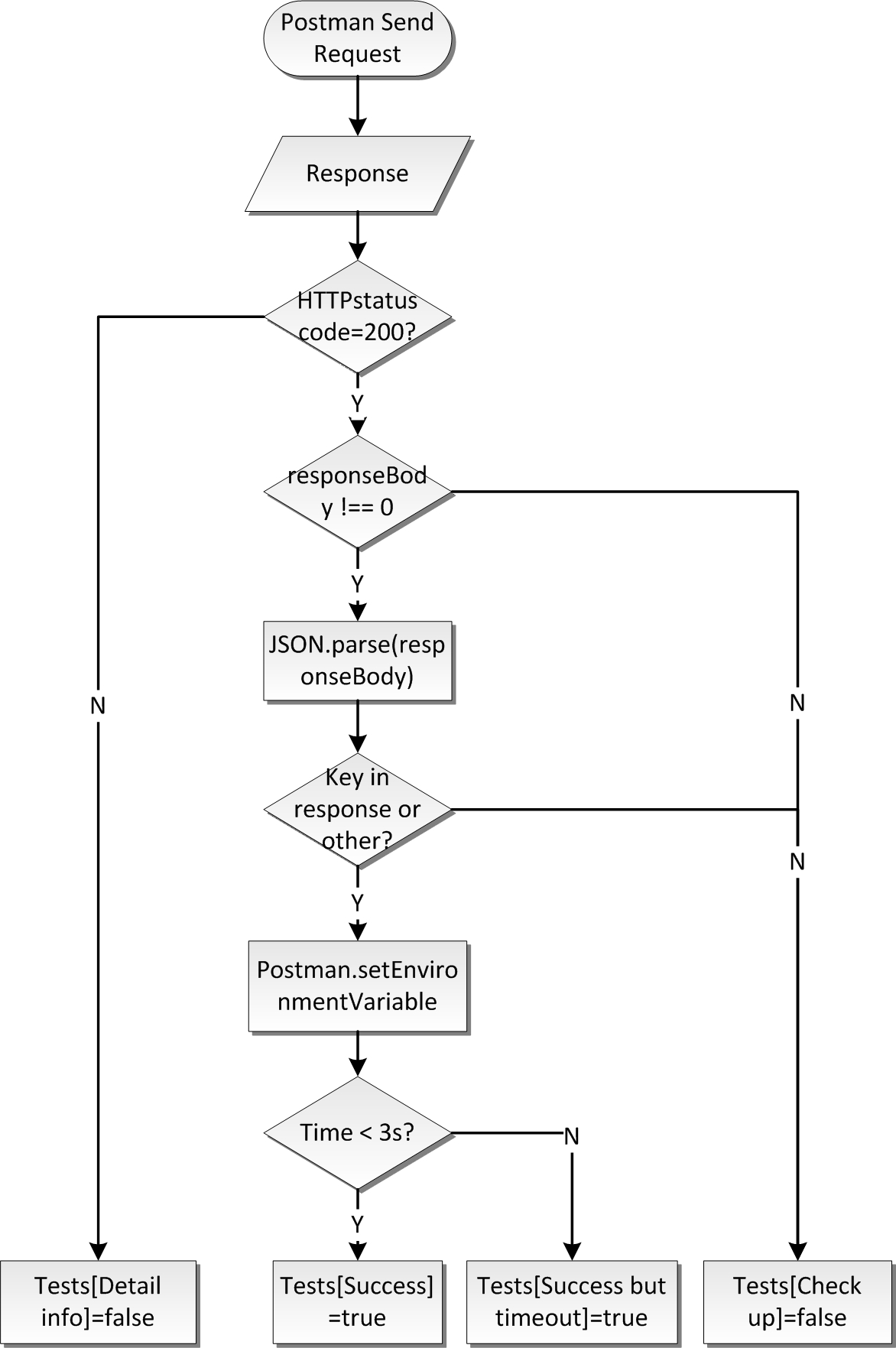
1、Postman 中调试接口,编写业务逻辑和 Tests
目前我们主要做以下四个方面的断言:
1.1 Http statuscode
if(responseCode.code === 200){...}
1.2 特定数据校验
// 先转成json格式,然后判断
var jsonData = JSON.parse(responseBody);
if(jsonData.hasOwnProperty("a")){
tests["Parameter a is here"] = true;
}else{
// response中不包含特定参数,打印url和response
tests["[ERROR]KEY not in Response, please Check: " + request.url + " " + responseBody] = false;
}
1.3 请求超时判断
// 请求时长判断,大于等于limitReqTime 时报错
// limitReqTime 作为环境变量可动态配置
if(responseTime < parseInt(environment["limitReqTime"])){
tests["Request Success"] = true;
}else{
// 超时,打印url和实际请求时间responseTime,responseTime是工具本身提供
tests["[INFO]Request success, BUT time is too long: " + request.url + " " + responseTime] = false;
}
1.4 错误判断
// 假设Http code 不等于200即表示有错误
if(responseCode.code === 200){
var jsonData = JSON.parse(responseBody);
tests["Request seccess"] = true;
}else{
// 非200报错,打印错误信息,输出当前请求的错误信息,包括请求时长、请求数据、返回数据等
tests["[ERROR]" + request.url + " " + responseCode.code + " " + responseCode.name + " " + responseTime + "ms Request:" + request.data + " Response:" + responseBody] = false;
}
PS :以上打印信息都使用的tests[...] = true/false,主要是为后续Newman集成 Jenkins 时,导出Junit/xml报告所用。
平时调试也可以使用console.log(...),具体调试信息可在Postman 左上角菜单->View->Show DevTools/Show Postman Console 中查看。
Tests 中流程如下

2、导出 json 脚本,上传到 Git;
这一步比较简单,就是把在 Postman 中写好的脚本(Collections)和环境变量(Environment)导出成几个.json 文件,然后上传到 Git 中,此处不赘述。
PS:不同的 API 接口执行频率根据业务可能有区别,考虑后面 Jenkins 任务执行频率设置,最好是在导出之前就将 Collections 的分组设计好,以方便后续执行。
3、Jenkins 中创建 Git 自动更新任务
3.1 Jenkins 新建一个自由风格的项目

3.2 设置 Git 地址、证书及分支

3.3 设置 Git hook
在构建触发器 中勾选GitHub hook trigger for GITScm polling
点击保存 即可,此任务创建完毕。
任务目的:当 Git 分支中有更新时,会触发此任务构建,将最新的分支脚本 clone 到目标机器上。
4、Jenkins 中创建 Newman API 任务
4.1 设置定时任务
构建触发器 中选择Build periodically,填写脚本即可
如H/5 * * * *:每五分钟执行一次构建
4.2 构建脚本
构建 中选择Execute shell,编写脚本。
以下是我的 Newman run 的示例脚本
WORKSPACE_PATH="/home/ubuntu/temp"
WORKSPACE_SCRIPTS="/home/ubuntu/temp/scripts"
CURRENT_COUNTRY="/zh_CN"
CURRENT_DAY=`date +%y%m%d`
REPORTER_NAME="reporter_"`date +%y%m%d`_${BUILD_NUMBER}
echo ${WORKSPACE_PATH} ${WORKSPACE_SCRIPTS} ${CURRENT_COUNTRY} ${CURRENT_DAY} ${REPORTER_NAME}
newman run ${WORKSPACE_SCRIPTS}/collection.json \
-e ${WORKSPACE_SCRIPTS}${CURRENT_COUNTRY}/environment.json \
-g ${WORKSPACE_SCRIPTS}/globals.json -n 1 -r json,cli,junit \
--reporter-json-export ${WORKSPACE_PATH}/${CURRENT_DAY}/${REPORTER_NAME}.json \
--export-environment ${WORKSPACE_SCRIPTS}${CURRENT_COUNTRY}/environment.json
说明:上面脚本中的 \ 作用是使脚本换行显示,为了方便查看,否则这么长的脚本会显示成一行,注意斜杠后一定不要留空格。
重要说明 :解释下上面脚本中添加--export-environment <path>的原因,Newman 执行时,本次 run 使用的变量是-e <path>或-g <path>中存储的数据。如果 run 中包含多个接口,且相互间存在数据调用,比如 a 接口返回参数被 b 接口当传参调用,此时就要使用--export-environment <path>,将本次 run 后的结果变量重新导出一份新的,覆盖掉上述-e <path>或-g <path>中的 <path> 即可,这样下次 run 使用的数据是最新的。否则,每次执行都会调用同一份测试数据。
此问题只在 Newman 中存在,在 Postman 中,因数据是实时写到变量中的,所以不用担心上述问题。
5、Jenkins 中添加 JUnit 配置
前置条件:Jenkins 已安装JUnit Plugin插件
在构建后操作 中选择Publish JUnit test result report

PS :Newman 导出的文件会保存到 Jenkins 默认工作空间下面的 newman 文件夹中, 也可以改成自定义的路径。
添加此配置时,newman run 时-r 一定要加上junit,否则没有数据 。
6、Jenkins JUnit 测试结果展示
列举下面三图举例,其它一些功能请自行查看
7、Jenkins 配置 Slack
前置条件:Jenkins 已安装Slack Notification Plugin插件
8、测试结果发送到 Slack,移动端查看,效果图如下:

上面是在 Linux 环境上搭建的!

作为一位过来人也是希望大家少走一些弯路
在这里我给大家分享一些自动化测试前进之路的必须品,希望能对你带来帮助。
(WEB自动化测试、app自动化测试、接口自动化测试、持续集成、自动化测试开发、大厂面试真题、简历模板等等)
相信能使你更好的进步!
点击下方小卡片



