- 开发语言:Java
- 框架:springboot
- JDK版本:JDK1.8
- 服务器:tomcat7
- 数据库:mysql 5.7(一定要5.7版本)
- 数据库工具:Navicat11
- 开发软件:eclipse/myeclipse/idea
- Maven包:Maven3.3.9
系统展示
系统登录页面

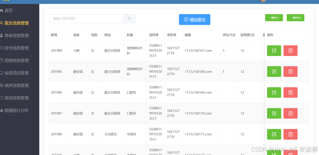
医生信息管理

排班时间、科室选择

排班医生选择

数据统计

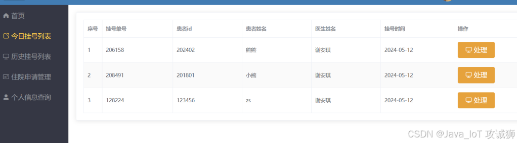
医生当天挂号列表

处理挂号页面

医生已处理的挂号列表

申请当天入院

选择挂号科室

选择挂号日期、医生

选择挂号时间段

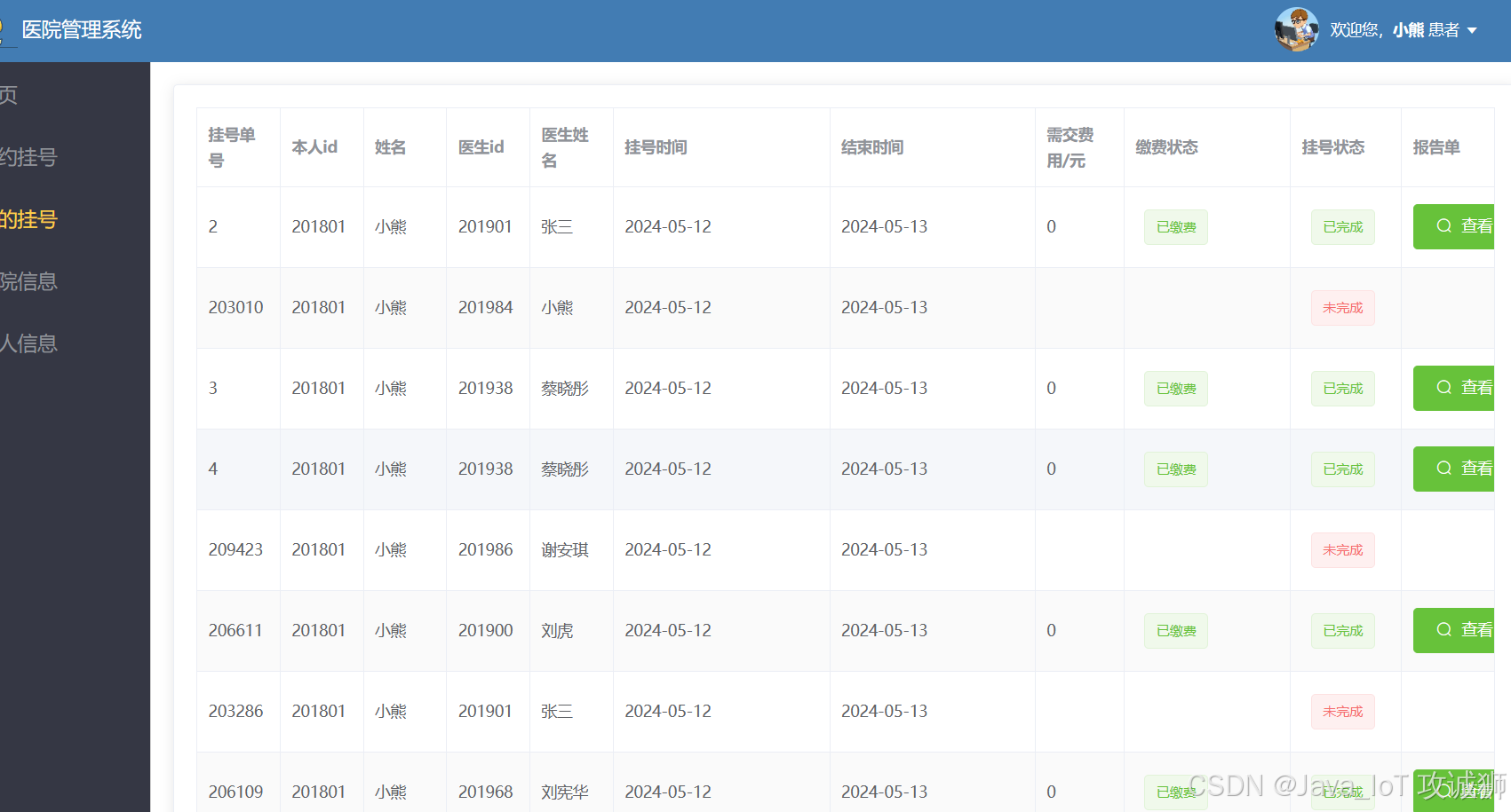
我的挂号

摘要
本设计基于JavaEE技术体系,采用了前后端分离的思想,并结合了Spring Boot、Vue.js、MySQL、Redis、Docker等技术或框架,开发了一个医院管理系统。该系统旨在提供一个便捷、高效、安全的医疗服务平台,改善传统医院看病流程的不便和低效。首先,该系统为患者提供了在线预约挂号和自助缴费的功能。患者可以通过系统选择合适的时间和医生进行预约,避免了排队等候的繁琐过程。同时,患者还可以通过系统进行自助缴费,无需再去窗口排队缴费,节省了大量时间和精力。其次,医生可以通过系统进行病情诊断和处方开具。传统的手写病历容易出现信息不清晰的问题,而该系统可以提供一个结构化的病历记录和管理平台,医生可以更清楚地了解患者的病史和诊断结果,从而提供更准确的治疗方案。此外,医生还可以通过系统开具电子处方,方便患者在药房取药,降低了医疗错误的风险。
另外,医院管理员可以通过系统对各种信息数据进行管理和查看数据分析。管理员可以实时监控医院的运营情况,包括预约挂号情况、医生工作量、药品库存等,从而做出相应的调整和决策。
研究背景
医疗服务需求增长:随着医院精细化管理的深入实施,医院对信息科的数据提取需求日益增多[5]。特别是在一些大型城市,医院每天接待的患者数量庞大,传统的挂号方式已经无法满足患者的需求。传统挂号方式的弊端:传统的挂号方式要求患者亲自到医院排队挂号,这不仅浪费了患者大量的时间和精力,也增加了医院的挂号压力。同时,由于信息更新不及时和资源分配不合理等问题,常常导致患者无法及时获得挂号服务或挂到合适的专家号。信息化技术的推动:随着信息技术的不断发展,数字化、智能化成为医疗服务创新的重要方向。通过引入信息化技术,可以实现医院挂号流程的自动化、智能化,提高挂号效率和服务质量。
关键技术
SpringBoot是一个全新开源的轻量级框架。基于Spring4.0设计,其不仅继承了Spring框架原来有的优秀特性,而且还通过简化配置文件来进一步简化了Spring应用的整个搭建以及开发过程。另外在原本的Spring中由于随着项目的扩大导入的jar包数量越来越大,随之出现了jar包版本之间的兼容性问题,而此时SpringBoot通过集成大量的框架使得依赖包的版本冲突,以及引用的不稳定性问题得到了很好的解决。
JAVA语言是目前软件市场上应用最广泛的语言开发程序。可以在多种平台上运用的,兼容性比较强,适应市面上大多数操作系统,不会出现乱码的现像,其扩展性和维护性都更好,具有分析问题和解决问题的能力,是面向过程的程序设计方便我们编写的代码更强壮。
Vue是一款流行的开源JavaScript框架,用于构建用户界面和单页面应用程序。Vue的核心库只关注视图层,易于上手并且可以与其他库或现有项目轻松整合。
MYSQL数据库运行速度快,安全性能也很高,而且对使用的平台没有任何的限制,所以被广泛应运到系统的开发中。MySQL是一个开源和多线程的关系管理数据库系统,MySQL是开放源代码的数据库,具有跨平台性。
B/S(浏览器/服务器)结构是目前主流的网络化的结构模式,它能够把系统核心功能集中在服务器上面,可以帮助系统开发人员简化操作,便于维护和使用。
系统分析
对系统的可行性分析以及对所有功能需求进行详细的分析,来查看该系统是否具有开发的可能。

系统设计
功能模块设计和数据库设计这两部分内容都有专门的表格和图片表示。

系统实现
医院管理员:
- 医生管理:关键字搜索,分页,增删改查,批量导入、批量导出信息。
- 患者管理:关键字搜索,分页,删除信息。
- 挂号管理:关键字搜索,分页,删除信息。
- 药物管理:关键字搜索,分页,增删改查。
- 检查项目管理:关键字搜索,分页息,增删改查。
- 病床管理:关键字搜索,分页息,增删改查。
- 找回密码:支持管理员通过邮件修改密码。
- 值班安排:可选择从今往后一个月的任一天时间,对医生进行排班。
- 数据统计:查看数据统计信息。
医生:
- 处理挂号:医生可根据病人的描述,填写症状,还可开处方药和开检查项目。
- 追加诊断:该功能针对完成检查项目的患者,医生可根据检查报告单填写病因及建议,也可开处方药。
- 申请住院:医生可根据患者的病情申请住院。
- 查看挂号:医生可查看所处理患者的挂号信息,包括缴费信息等。
患者:
- 用户注册:支持新用户注册功能。
- 预约挂号:患者可以选择科室,选择时间段,选择医生进行预约挂号。
- 导出报告单:患者可以查看病情报告,并可自助打印病情报告单。
- 查看住院:患者可通过此功能查看本人的住院信息。
系统测试
系统测试的过程通常包括多个阶段,每个阶段都有其特定的目标和测试方法。在本系统的开发过程中,我采取了以下几种测试方法:
(1) 单元测试:
单元测试是在完成每个小功能或模块后进行的一种测试。它的主要目标是验证单个程序模块或组件的功能是否按照预期工作。通过编写针对每个模块的测试用例,我可以发现并修复潜在的错误和缺陷,确保每个模块都能够正确地执行其预定的功能。
(2) 集成测试:
集成测试主要关注模块之间的接口和交互,确保它们能够按照设计要求协同工作,达到预期的整体功能。
(3) 系统测试:
系统测试是在整个系统完成后进行的测试。它涵盖了系统的所有功能和性能要求,以及用户界面的测试。黑盒测试可以帮助我发现系统中存在的遗漏、错误或不符合用户需求的地方。
(4) 验收测试:
验收测试是系统测试的最后阶段,通常由用户或客户参与。验收测试的结果将直接影响系统是否能够正式上线。
结论
在前端方面,我选择了Vue.js和ElementUI来构建用户友好的界面。Vue.js作为当前最流行的前端框架之一,以其组件化的设计思路和高效的数据处理能力,使得我能够轻松构建出交互性强、性能优良的界面。而ElementUI则提供了一系列现成的组件和样式,大大加快了我的开发速度。
另一个技术难点是MyBatis的联表查询和动态SQL编写。在项目中,我需要通过联表查询来获取多个表之间的关联数据,并编写动态SQL以适应不同的查询条件。我通过仔细研究MyBatis的文档和示例代码,逐步掌握了这些技术,并成功将其应用于项目中。
此外,我还需要解决挂号号数的限制和资源争夺问题。为了确保系统的稳定性和公平性,我采用了MySQL和Redis相结合的方式来限制挂号号数。同时,我使用同步锁来解决多个用户同时挂号时的资源争夺问题。通过合理的设计和编程实现,我成功地确保了系统的正常运行和用户的良好体验。