系统介绍
随着信息技术在管理上越来越深入而广泛的应用,管理信息系统的实施在技术上已逐步成熟。本文介绍了人口老龄化社区服务与管理平台的开发全过程。通过分析人口老龄化社区服务与管理平台方面的不足,创建了一个计算机管理人口老龄化社区服务与管理平台的方案。文章介绍了人口老龄化社区服务与管理平台的系统分析部分,包括可行性分析等,系统设计部分主要介绍了系统功能设计和数据库设计。
本人口老龄化社区服务与管理平台有管理员,用户,员工。管理员功能有个人中心,用户管理,员工管理,社区信息管理,老人信息管理,社区文件管理,走访任务管理,走访信息管理,社区服务管理,系统管理等。
员工功能有个人中心,社区活动管理,活动报名管理,老人信息管理,走访任务管理,走访信息管理,社区服务管理。
用户可以注册和登录,修改个人密码,查看社区信息,社区文件,查看活动,活动报名,留言等。因而具有一定的实用性。
本站是一个B/S模式系统,采用Spring Boot框架,MYSQL数据库设计开发,充分保证系统的稳定性。系统具有界面清晰、操作简单,功能齐全的特点,使得人口老龄化社区服务与管理平台管理工作系统化、规范化。
功能介绍
本人口老龄化社区服务与管理平台有管理员,用户,员工。管理员功能有个人中心,用户管理,员工管理,社区信息管理,老人信息管理,社区文件管理,走访任务管理,走访信息管理,社区服务管理,系统管理等。
员工功能有个人中心,社区活动管理,活动报名管理,老人信息管理,走访任务管理,走访信息管理,社区服务管理。
用户可以注册和登录,修改个人密码,查看社区信息,社区文件,查看活动,活动报名,留言等。
开发环境
编程语言:Java html
数据库 :Mysql
系统架构:B/S
后端框架:SpringBoot vue layui
编译工具:idea或者eclipse,jdk1.8,maven
支持定做:java/python/大数据/小程序/vue/深度学习
系统结构图

数据库表设计
表1 社区活动评论表
|----------|--------------|---|-------------------|-------|
| 字段 | 类型 | 空 | 默认 | 注释 |
| id (主键) | bigint(20) | 否 | | 主键 |
| addtime | timestamp | 否 | CURRENT_TIMESTAMP | 创建时间 |
| refid | bigint(20) | 否 | | 关联表id |
| userid | bigint(20) | 否 | | 用户id |
| nickname | varchar(200) | 是 | NULL | 用户名 |
| content | longtext | 否 | | 评论内容 |
| reply | longtext | 是 | NULL | 回复内容 |
表2 活动报名
|------------------|--------------|---|-------------------|------|
| 字段 | 类型 | 空 | 默认 | 注释 |
| id (主键) | bigint(20) | 否 | | 主键 |
| addtime | timestamp | 否 | CURRENT_TIMESTAMP | 创建时间 |
| huodongmingcheng | varchar(200) | 是 | NULL | 活动名称 |
| huodongdidian | varchar(200) | 是 | NULL | 活动地点 |
| shenqingshuoming | varchar(200) | 是 | NULL | 申请说明 |
| baomingshijian | date | 是 | NULL | 报名时间 |
| yuangonggonghao | varchar(200) | 是 | NULL | 员工工号 |
| zhanghao | varchar(200) | 是 | NULL | 账号 |
| xingming | varchar(200) | 是 | NULL | 姓名 |
| sfsh | varchar(200) | 是 | 否 | 是否审核 |
| shhf | longtext | 是 | NULL | 审核回复 |
表3 老人信息
|------------------|--------------|---|-------------------|------|
| 字段 | 类型 | 空 | 默认 | 注释 |
| id (主键) | bigint(20) | 否 | | 主键 |
| addtime | timestamp | 否 | CURRENT_TIMESTAMP | 创建时间 |
| laorenxingming | varchar(200) | 是 | NULL | 老人姓名 |
| xingbie | varchar(200) | 是 | NULL | 性别 |
| nianling | int(11) | 是 | NULL | 年龄 |
| zhuzhi | varchar(200) | 是 | NULL | 住址 |
| jiashuxinxi | longtext | 是 | NULL | 家属信息 |
| shifouduju | varchar(200) | 是 | NULL | 是否独居 |
| shifoushengbing | varchar(200) | 是 | NULL | 是否生病 |
| fangwenzhouqi | varchar(200) | 是 | NULL | 访问周期 |
| zhanghao | varchar(200) | 是 | NULL | 账号 |
| xingming | varchar(200) | 是 | NULL | 姓名 |
| yuangonggonghao | varchar(200) | 是 | NULL | 员工工号 |
| yuangongxingming | varchar(200) | 是 | NULL | 员工姓名 |
表4 社区资讯
|--------------|--------------|---|-------------------|------|
| 字段 | 类型 | 空 | 默认 | 注释 |
| id (主键) | bigint(20) | 否 | | 主键 |
| addtime | timestamp | 否 | CURRENT_TIMESTAMP | 创建时间 |
| title | varchar(200) | 否 | | 标题 |
| introduction | longtext | 是 | NULL | 简介 |
| picture | varchar(200) | 否 | | 图片 |
| content | longtext | 否 | | 内容 |
表5 社区服务
|-----------------|--------------|---|-------------------|------|
| 字段 | 类型 | 空 | 默认 | 注释 |
| id (主键) | bigint(20) | 否 | | 主键 |
| addtime | timestamp | 否 | CURRENT_TIMESTAMP | 创建时间 |
| fuwumingcheng | varchar(200) | 是 | NULL | 服务名称 |
| fuwuleixing | varchar(200) | 是 | NULL | 服务类型 |
| fuwudizhi | varchar(200) | 是 | NULL | 服务地址 |
| fuwuneirong | longtext | 是 | NULL | 服务内容 |
| shenqingshijian | date | 是 | NULL | 申请时间 |
| beizhu | longtext | 是 | NULL | 备注 |
| zhanghao | varchar(200) | 是 | NULL | 账号 |
| xingming | varchar(200) | 是 | NULL | 姓名 |
| sfsh | varchar(200) | 是 | 否 | 是否审核 |
| shhf | longtext | 是 | NULL | 审核回复 |
表6 社区活动
|------------------|--------------|---|-------------------|------|
| 字段 | 类型 | 空 | 默认 | 注释 |
| id (主键) | bigint(20) | 否 | | 主键 |
| addtime | timestamp | 否 | CURRENT_TIMESTAMP | 创建时间 |
| huodongmingcheng | varchar(200) | 是 | NULL | 活动名称 |
| huodongdidian | varchar(200) | 是 | NULL | 活动地点 |
| baomingtiaojian | longtext | 是 | NULL | 报名条件 |
| kaishishijian | date | 是 | NULL | 开始时间 |
| jieshushijian | date | 是 | NULL | 结束时间 |
| huodongneirong | longtext | 是 | NULL | 活动内容 |
| yuangonggonghao | varchar(200) | 是 | NULL | 员工工号 |
| lianxidianhua | varchar(200) | 是 | NULL | 联系电话 |
| huodongtupian | varchar(200) | 是 | NULL | 活动图片 |
表7 社区文件
|------------------|--------------|---|-------------------|------|
| 字段 | 类型 | 空 | 默认 | 注释 |
| id (主键) | bigint(20) | 否 | | 主键 |
| addtime | timestamp | 否 | CURRENT_TIMESTAMP | 创建时间 |
| wenjianbianhao | varchar(200) | 是 | NULL | 文件编号 |
| wenjianmingcheng | varchar(200) | 是 | NULL | 文件名称 |
| wenjianneirong | longtext | 是 | NULL | 文件内容 |
| wenjianxiazai | varchar(200) | 是 | NULL | 文件下载 |
| faburen | varchar(200) | 是 | NULL | 发布人 |
| faburiqi | date | 是 | NULL | 发布日期 |
| tupian | varchar(200) | 是 | NULL | 图片 |
表8 社区信息
|----------------|--------------|---|-------------------|------|
| 字段 | 类型 | 空 | 默认 | 注释 |
| id (主键) | bigint(20) | 否 | | 主键 |
| addtime | timestamp | 否 | CURRENT_TIMESTAMP | 创建时间 |
| shequmingcheng | varchar(200) | 是 | NULL | 社区名称 |
| lishujiedao | varchar(200) | 是 | NULL | 隶属街道 |
| shequdizhi | varchar(200) | 是 | NULL | 社区地址 |
| changzhurenkou | int(11) | 是 | NULL | 常住人口 |
| laolingrenkou | int(11) | 是 | NULL | 老龄人口 |
| shequjieshao | longtext | 是 | NULL | 社区介绍 |
| shequyouxiang | varchar(200) | 是 | NULL | 社区邮箱 |
| lianxidianhua | varchar(200) | 是 | NULL | 联系电话 |
| shequtupian | varchar(200) | 是 | NULL | 社区图片 |
表9 收藏表
|-----------|--------------|---|-------------------|------------------|
| 字段 | 类型 | 空 | 默认 | 注释 |
| id (主键) | bigint(20) | 否 | | 主键 |
| addtime | timestamp | 否 | CURRENT_TIMESTAMP | 创建时间 |
| userid | bigint(20) | 否 | | 用户id |
| refid | bigint(20) | 是 | NULL | 收藏id |
| tablename | varchar(200) | 是 | NULL | 表名 |
| name | varchar(200) | 否 | | 收藏名称 |
| picture | varchar(200) | 否 | | 收藏图片 |
| type | varchar(200) | 是 | 1 | 类型(1:收藏,2:赞,3:踩) |
表10 管理员表
|----------|--------------|---|-------------------|------|
| 字段 | 类型 | 空 | 默认 | 注释 |
| id (主键) | bigint(20) | 否 | | 主键 |
| username | varchar(100) | 否 | | 用户名 |
| password | varchar(100) | 否 | | 密码 |
| role | varchar(100) | 是 | 管理员 | 角色 |
| addtime | timestamp | 否 | CURRENT_TIMESTAMP | 新增时间 |
表11 用户
|-----------------|--------------|---|-------------------|------|
| 字段 | 类型 | 空 | 默认 | 注释 |
| id (主键) | bigint(20) | 否 | | 主键 |
| addtime | timestamp | 否 | CURRENT_TIMESTAMP | 创建时间 |
| zhanghao | varchar(200) | 否 | | 账号 |
| mima | varchar(200) | 否 | | 密码 |
| xingming | varchar(200) | 否 | | 姓名 |
| xingbie | varchar(200) | 是 | NULL | 性别 |
| xiaoqumingcheng | varchar(200) | 是 | NULL | 小区名称 |
| loufanghao | varchar(200) | 是 | NULL | 楼房号 |
| shouji | varchar(200) | 是 | NULL | 手机 |
| shenfenzheng | varchar(200) | 是 | NULL | 身份证 |
| shengri | varchar(200) | 是 | NULL | 生日 |
| touxiang | varchar(200) | 是 | NULL | 头像 |
表12 员工
|------------------|--------------|---|-------------------|------|
| 字段 | 类型 | 空 | 默认 | 注释 |
| id (主键) | bigint(20) | 否 | | 主键 |
| addtime | timestamp | 否 | CURRENT_TIMESTAMP | 创建时间 |
| yuangonggonghao | varchar(200) | 否 | | 员工工号 |
| mima | varchar(200) | 否 | | 密码 |
| yuangongxingming | varchar(200) | 否 | | 员工姓名 |
| xingbie | varchar(200) | 是 | NULL | 性别 |
| xiaoqumingcheng | varchar(200) | 是 | NULL | 小区名称 |
| zhiwu | varchar(200) | 是 | NULL | 职务 |
| lianxidianhua | varchar(200) | 是 | NULL | 联系电话 |
| shenfenzheng | varchar(200) | 是 | NULL | 身份证 |
| touxiang | varchar(200) | 是 | NULL | 头像 |
表13 走访任务
|------------------|--------------|---|-------------------|------|
| 字段 | 类型 | 空 | 默认 | 注释 |
| id (主键) | bigint(20) | 否 | | 主键 |
| addtime | timestamp | 否 | CURRENT_TIMESTAMP | 创建时间 |
| renwumingcheng | varchar(200) | 是 | NULL | 任务名称 |
| renwuleixing | varchar(200) | 是 | NULL | 任务类型 |
| renwudidian | varchar(200) | 是 | NULL | 任务地点 |
| renwumubiao | varchar(200) | 是 | NULL | 任务目标 |
| renwuneirong | longtext | 是 | NULL | 任务内容 |
| renwuriqi | date | 是 | NULL | 任务日期 |
| beizhu | longtext | 是 | NULL | 备注 |
| yuangonggonghao | varchar(200) | 是 | NULL | 员工工号 |
| yuangongxingming | varchar(200) | 是 | NULL | 员工姓名 |
系统实现
用户信息管理
人口老龄化社区服务与管理平台的系统管理员可以对用户信息添加修改删除以及查询操作。具体界面的展示如图所示。

员工信息管理
系统管理员可以对员工信息进行添加,修改,删除操作。具体界面如图所示。

社区信息管理
系统管理员可以对社区信息进行添加,修改,删除以及查询操作。具体界面如图所示。

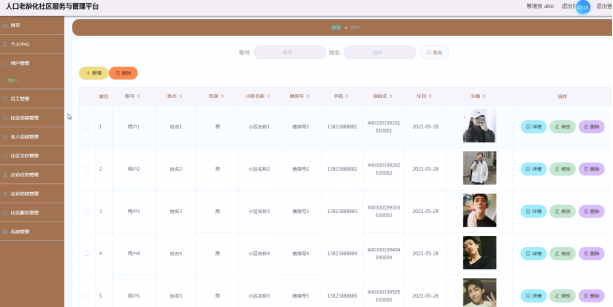
老人信息查看
管理员可以对员工添加的员工信息进行查看。具体界面如图所示。

社区文件管理
系统管理员可以对社区文件信息进行添加修改删除操作。具体界面如图所示。

走访任务管理
系统管理员可以对走访任务进行添加修改删除操作,走访任务主要是对员工进行布置的,走访任务里面需要选择员工信息的。具体界面如图所示。

源码获取:
大家点赞、收藏、关注、评论啦 、查看👇🏻获取联系方式👇🏻