一、mtr命令介绍
在Linux系统中, mtr 命令是一个网络诊断工具,用于检测网络的连通性和延迟。
mtr(My Traceroute)是一个结合了 traceroute 和 ping 功能的网络诊断工具,它能够提供路径探测和网络诊断服务。MTR通过发送 ICMP或者UDP 协议数据包来测试网络连接,并实时显示数据包所经过的路由器及其响应时间。
mtr 命令对于网络工程师和系统管理员来说非常有用,可以帮助他们识别网络延迟和丢包等问题;能够帮助他们详细地了解网络连接的质量和性能。
二、安装mtr工具
在大多数Linux发行版中,mtr 工具可能已经预装。如果没有,你可以使用包管理器安装它,例如:
- 对于基于Debian的系统(如Ubuntu):
bash
sudo apt-get install mtr
- 对于基于RPM的系统(如CentOS7/RHEL7):
bash
sudo yum install mtr
- 对于较新的RHEL/CentOS 8及以上版本:
bash
sudo dnf install mtr
三、mtr命令使用帮助
1、mtr命令的帮助信息
使用
--help选项查询 mtr 命令的帮助信息,结果显示如下:

2、mtr命令的基本用法
mtr [选项] 目标地址或域名
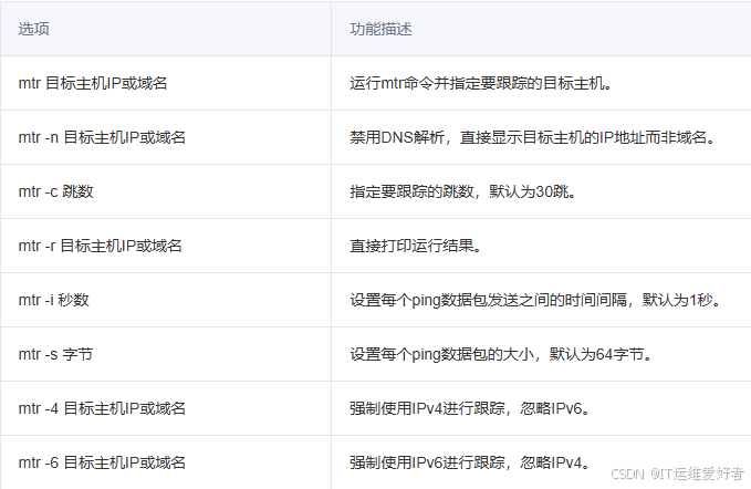
常用选项:

四、mtr命令使用实例
1、基本用法
- 对百度的服务器进行网络跟踪和测量
mtr www.baidu.com

一旦运行,mtr会开始连续发送数据包并显示每个跃点的信息。在运行过程中,你可以通过以下快捷键进行交互:
n:切换DNS解析开/关。
u:在ICMP和UDP数据包之间切换。
q:退出mtr。
mtr 命令输出结果中包括每个跃点(网络节点)的统计信息,通过观察这些统计信息,你可以识别出网络中的瓶颈或故障点,进而诊断和解决问题。
Host:当前跃点的IP地址或主机名
Loss%:数据包丢失百分比
Snt:发送的数据包总数
Last:最近一次数据包探测的延迟
Avg:所有数据包探测的平均延迟
Best:所有数据包探测到的最短延迟
Wrst:所有数据包探测到的最长延迟
StDev:延迟的标准偏差
2、指定ping次数
- 使用
-c选项,可以指定进行ping测试的次数
mtr -c 10 www.baidu.com
3、禁用DNS解析
- 使用
-n选项,可以禁用DNS解析,只显示IP地址,用于快速诊断
mtr -n www.baidu.com
4、以报告的形式显示结果
- 使用
-r选项,以报告的形式显示结果,便于阅读和分析
mtr -r www.baidu.com
5、指定ping数据包发送之间的时间间隔
- 使用
-i选项,指定ping数据包发送之间的时间间隔,默认为1秒
mtr -i 5 www.baidu.com
6、指定ICMP数据包大小
- 使用
-s选项,指定每个ping数据包的大小,默认为64字节
mtr -s 1000 www.baidu.com
7、指定UDP协议探测
- 默认情况下,mtr 命令使用 ICMP协议 进行探测,使用
-u选项,指定使用UDP协议探测
mtr -u www.baidu.com
8、输出结果到文件
- 默认情况下,mtr 命令将结果输出到屏幕,使用重定向操作符(>)将mtr的输出保存到文件中
mtr www.baidu.com > mtr_output.txt
9、多个选项同时使用
mtr -c 10 -i 5 -n www.baidu.com