一、 简介
AD9653是ADI(Analog Devices, Inc.)公司于2012年推出的一款高性能模数转换器(ADC)。它具备以下主要特点:
**1.四通道/八通道:**AD9653拥有四个独立的通道/八个独立通道,允许同时采集四路不同的模拟信号。这使得它在多通道数据采集应用中非常有用,如多天线接收、医学成像、通信系统等。
**2.16位分辨率:**该ADC提供高达16位的分辨率,能够捕获细微信号的变化,适用于对信号精度要求较高的应用领域。
3.125MSPS转换速率:AD9653具备极高的采样速率,每秒可采集并转换多达125百万个数据点,适用于需要高速数据采集和处理的应用,如雷达、高速通信等。
**4.内置采样保持电路:**它内部集成了采样保持电路,有助于准确捕获输入信号,确保数据的准确性和稳定性。
5.低成本、低功耗、小尺寸和易用性设 **计:**AD9653的设计注重降低成本、功耗和封装尺寸,同时提供易于集成和使用的特性。这使得它在需要节省能源和空间的应用中非常有竞争力。
总的来说,AD9653是一款性能出色的ADC,适用于多种领域,尤其在要求高速数据采集、低功耗和小型封装的应用中表现出色。
二、 研究目的
目前在导航领域,小型化、低功耗、国产化一直是国内的研究方向。
1、 占板面积小
一片AD9653拥有四个通道。由于是采用串行输出的方式,AD9653的封装为LFCSP-48。相较于主流使用的并行AD(AD9269、AD9650)的LFCSP-64封装面积减少了约40%,对于有空间限制的应用非常有利,如紧凑型电子设备和系统。
且由于AD9653是四通道串行输出,只需要两片芯片和16根数据线,就可以实现八通道的数据采集。而使用并行AD则需要四片芯片和64根数据线才能实现相同数量的通道。这减少了线路复杂性,有助于简化电路设计和降低成本。
2、 功耗低
表2-1给出了几种AD的功耗参数。
表2-1 不同AD的详细功耗参数
|-----------------|------------|------------|--------------|----------------|------------|----------------|
| | AD9269 | AD9650 | YA16D80S | BLAD16D80S | AD9653 | BLAD16Q125 |
| 工作模式 | 并行 | 并行 | 并行 | 并行 | 串行 | 串行 |
| 直流输入 功耗 | 200mW | 656mW | 520mW | 477mW | 607mW | 610mW |
| 正弦输入功耗 | 230mW | 663mW | 540mW | 530mW | 650mW | 630mW |
| 待机功耗 | 37mW | 50mW | 80mW | / | 356mW | 48.6mW |
| 掉电功耗 | 1mW | 0.25mW | 5mW | 10mW | 2mW | 10.8mW |
由上表的统计数据可以看出,两片AD9653的功耗略大于四片AD9269,但是不到四片AD9650功耗的一半。因此在八通道的应用中,相较于使用并行方案,仅从AD看可以减少1W的功耗。
这种功耗差异可能对于一些低功耗要求的应用非常重要,特别是在需要长时间运行或依赖电池供电的情况下。通过选择适合的ADC,可以更好地满足系统的功耗要求,并延长电池寿命,或者减少系统的热量产生,这对于一些散热有限的应用也很有帮助。
3、 采样速率高
AD9653的125MSPS采样速率在中频采样应用中可以提供足够的带宽。带宽是一个信号处理系统中非常重要的参数,它决定了系统能够处理的信号频率范围。
4、 国产化
AD9653有国产化替代器件BLAD16Q125,是上海贝岭生产的PIN TO PIN芯片。封装、引脚定义与AD9653相同,能够直接替换AD9653。在国产化项目上可直接替换AD9653,无需二次开发,不需要更改硬件设计,就可以保留与AD9653相同的性能和功能。
三、 硬件设计
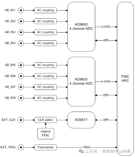
本文硬件设计部分主要针对明德扬mdyAD9653FMC板卡来介绍。其主要功能如下:
**➢双芯片设计:**该板卡搭载两片ADC芯片,支持多家生产商的芯片,包括ADI、上海贝岭、北京时代民芯科技和中电24等,而且完全兼容。
➢多通道同步输入: 支持4通道/8通道的同步输入,可以同时采集多个信号源的数据,适用于需要多通道数据采集的应用。
➢高分辨率: 提供16位的采样分辨率,能够捕捉更精细的信号细节,适用于对精度要求较高的应用。
**➢高采样率:**支持最高达125MSPS的采样率,这在需要高速数据采集的应用中非常有用,如医疗超声和MRI等。
➢内外部时钟自动切换: 具备内外部时钟自动切换功能,这使得板卡更加灵活,可以根据需要选择时钟源。
➢温补晶振: 板卡内部集成了一片10MHz/0.5ppm的温补晶振,确保高精度的时钟同步。
➢时钟分部芯片 AD9517-1: 集成了时钟分部芯片 AD9517-1,可以与相应的FMC载板搭配使用,以完成多通道宽带信号采集任务。
**➢应用广泛:**适用于多种应用场合,包括医疗超声和MRI、高速成像、正交无线电接收机、分集无线电接收机、测试设备、雷达、卫星导航等领域。

AD9653实物图
图3-1和3-2为硬件方案框图。具体分为以下几个部分:

图3-1 mdyAD9653FMC板卡硬件方案框图

图3-2 mdyAD9653FMC板卡电源方案框图
1、 AD采样电路
AD信号输入端电路如图3-3所示:

图3-3 AD信号输入端电路
中频信号通过巴伦将单端转为差分送入AD9653。手册中使用的巴伦匝数比为1:1,而经过实际的测试及理论分析,发现1:2的巴伦能够有效地降低级联噪声系数。巴伦后级的阻容器件要根据手册提供的电路进行配置。如图3-4所示:

图3-4 AD9653单巴伦单端转差分电路
参考电压使用用外部1.25V,使用的是ADR127,可以和ADR130(1V参考)互换。这样可以确保在使用1:2巴伦时,AD的满幅为10dBm。表3-5为AD满幅测试数据:
表3-5 AD满幅测试数据
|-------|--------|--------|--------|--------|--------|--------|--------|--------|
| 通道 | CH1 | CH2 | CH3 | CH4 | CH5 | CH6 | CH7 | CH8 |
| 信号源功率 | 9.9dBm | 9.9dBm | 9.9dBm | 9.9dBm | 9.9dBm | 9.9dBm | 9.9dBm | 9.9dBm |
2、 时钟电路
采用AD9517-1作为抗干扰板的主时钟源。FMC板输入参考时钟为62MHz,之后由9517分别为两片AD以及FPGA提供62MHz时钟。其中,两片AD输出的FCO和DCO信号均连接至FPGA,作为数据时钟和帧同步时钟。图3-6和3-7分别为LVEPCL和LVDS接口的时钟匹配电路。

图3-6 LVPECL接口时钟驱动电路

图3-7 LVDS接口时钟驱动电路
四、 驱动程序设计
这里主要介绍ADC的驱动。
AD9653是4通道、16位、125 MSPS高速串行LVDS模数转换器。该ADC会自动倍乘采样速率时钟,以便产生合适的LVDS串行数据速率。它提供一个数据时钟输出(DCO)用于在输出端捕获数据,以及一个帧时钟输出(FCO)用于发送新输出字节信号。每一个通道都拥有两组LVDS差分数据线,在默认模式下分别串行传输偶数位和奇数位数据。图4-1是AD9653在默认工作模式下的时序图:

图4-1 默认模式下的时序图
Fs为62MHZ,在DDR模式下,DCO为248MHz,FCO为62MHz。因此时序调整在设计中格外重要。
AD9653共有两种驱动方式:一种是利用测试码来进行同步操作,然后切换到正常工作模式继续运行;另一种是利用帧同步信号直接锁定每一帧数据。下面对使用测试码对齐的方式简称Bitslip模式,对使用帧同步信号对齐的方式简称FCO模式。
1、 Bitslip模式
Bitslip模式的工作原理是通过SPI配置先让AD工作在测试模式,在这个模式下,AD的每一个通道会重复输出测试码(A19C)。FPGA读取每一通道的数据并进行移位调整和串并转换。当所有通道都对齐后,再次通过SPI配置AD使其退出测试模式,这样移位信息将得到保留,因此输出的AD数据就是正确的。该工作方式的架构如图4-2所示:

图4-2 Bitslip模式程序架构
然而这种工作方式有一个缺点。不难发现,对齐工作仅发生在系统上电之后,一旦对齐,就没办法在让AD回到测试模式。这样就会造成一个问题:系统刚上电时,板子温度低,工作一段时间后板子温度上升。时钟以及已配置好的ISERDESE模块随着温度的升高会发生飘移,但是这时已经不能再次进入测试模式进行对齐。因此就会出现上电时间越长,噪声系数越大的现象。所以没办法满足高低温工作的需求。
2、 FCO模式
FCO模式的工作原理为将DCO和FCO同时输入到模块内,通过DCO来捕获数据,然后通过FCO来对齐数据,之后再进行串并转换。该工作模式的架构如图4-3所示:
首先,DCO与FCO信号通过IDDR_FCO模块,以DCO为参照进行对齐。同时,对四个通道共八组差分数据信号以DCO为参照对齐。之后在DESER模块中根据FCO上升沿的位置将数据分组,输出8位并行数据,共八组。最后通过DEFRAMER模块将每个通道的数据合并,输出16位的AD数据。
此工作模式避免了Bitslip模式不能依照温度修正的问题,由于使用的是AD芯片的FCO信号作为帧同步的参考,每通过一组数据,就能实现一次对齐,这样就不会受温度的影响。实际测试中也发现温度升高后,级联噪声系数很稳定。
另一个优点就是该工作模式可以兼容上海贝岭的BLAD16Q125芯片。由于贝岭AD的测试码为0x8000,而AD9653的测试码为0XA19C,因此Bitslip模式需要更改程序才能在贝岭的AD上使用。
3、 时钟网络设置
以FCO模式为例,该模式的时钟树如图4-3所示:

图4-3 FCO模式时钟树
在FCO模式下,两片AD不在同一个时钟网络下,而是各自使用一个MMCM模块。AD的DCO输出作为MMCM模块的输入,生成一个62MHz信号作为AD数据采集、上下变频和DA输出的时钟,以及一个248MHz信号作为AD的新DCO时钟,以其作为参照,对齐FCO和数据。
4、 时序调整
同样以FCO模式为例,时钟约束如图4-4所示:

图4-4 FCO模式下时钟约束
由于令MMCM输出的248MHz时钟的相位为90°,AD数据的延时时间设定为:min=2.437ns,max=2.470ns。部分AD时序约束如图4-6所示:

图4-5 部分AD时序约束
输出时序约束如图4-6所示:

图4-6输出时序约束
五、 单板测试

本测试实例是在明德扬MP5620开发板与mdyAD9653FMC板卡上实现。
1、 满幅测试
测试条件为:
巴伦匝数比:1:2;参考电压:外部1.25V;AD位数:16bits
测试结果如表5-1所示:
表5-1 满幅测试结果
|--------|--------|--------|--------|--------|
| 通道 | CH1 | CH2 | CH3 | CH4 |
| 信号源功率 | 9.8dBm | 9.8dBm | 9.8dBm | 9.8dBm |
| 信号源峰峰值 | 1.954V | 1.954V | 1.954V | 1.954V |
| AD量化值 | 32768 | 32768 | 32768 | 32768 |
测试结果与理论值10dBm/2V Vpp差0.2dBm/0.046V Vpp,考虑到线损等因素误差在允许范围内。
2、 AD信噪比测试
四通道的频谱分别如图5-2、5-3、5-4、5-5所示:

图5-2 CH1频谱

图5-3 CH2频谱

图5-4 CH3频谱

图5-5 CH4频谱
四通道测试结果如表5-2所示:
|------------------------|---------|----------|----------|----------|
| 通道 | CH1 | CH2 | CH3 | CH4 |
| 采样频率 MHz | 62MHz | 62MHz | 62MHz | 62MHz |
| 采样点数 | 65536 | 65536 | 65536 | 65536 |
| SNR dB | 76.893 | 76.953 | 76.607 | 77.047 |
| SNRFS dB | 78.157 | 78.044 | 77.738 | 78.172 |
| 主瓣功率 dB | -1.263 | -1.091 | -1.130 | -1.125 |
| 主瓣频率 MHz | 10.69 | 10.69 | 10.69 | 10.69 |
| 每 Hz噪声 dBFS/Hz | -153.07 | -152.958 | -152.651 | -153.086 |
通过软件对AD9653进行仿真,频谱如图5-6所示:

图5-6 AD9653仿真频谱
仿真数据如图5-7所示:

图5-7 AD9653仿真数据
实测SNR比仿真小了约1.9dB,实测每赫兹噪声比仿真小了约1.8dB。由此可见本设计已基本发挥出AD9653的性能。
3、 AD噪声系数计算
根据AD噪声系数计算公式:

每通道噪声系数如表5-3所示:
表5-3 每通道AD噪声系数
|----|----------|----------|----------|----------|
| 通道 | CH1 | CH2 | CH3 | CH4 |
| NF | 30.743dB | 30.856dB | 31.162dB | 30.728dB |
图5-8 级联噪声系数计算方法
六、 总结
本文提供了对AD9653的详细硬件和软件设计方法的介绍,同时还介绍了ADC的增益和噪声系数的测量方法。结合明德扬的MP5620开发板+mdyAD9653FMC模块,可以有效地缩短设计周期,直接进行软件开发,同时还能够用该平台进行对国产器件性能的对比验证。