
Total image size: 546441 bytes 533KB(.bin may be padded larger)
注意:所报告的总大小可能小于技术参考手册中的数值,这是因为存在预留内存和应用程序配置的因素。默认情况下,应用程序可用的总闪存空间并未包含在内,因为由于存在诸如引导加载程序、分区表和应用程序分区大小等其他数据,所以无法可靠地确定该数值。
你这个输出其实就是一句话总结:
👉 你的程序现在"占了多少内存、还剩多少"
但这里面确实很多新手一看就懵,我给你用工程师视角 + 大白话拆开讲一遍👇
🧠 一、整体先建立一个概念
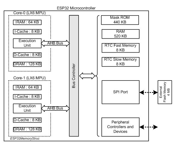
在 ESP32-S3 里有几种"内存":
你可以理解成👇
| 类型 | 类比 |
|---|---|
| Flash | 硬盘(存程序) |
| RAM(DIRAM) | 运行内存 |
| IRAM | 高速缓存(给CPU急用) |
| RTC | 低功耗备用内存 |
📦 二、Flash(程序存储区)



text
Flash Code: 380378 bytes
Flash Data: 79076 bytes
👉 这就是你烧进芯片的程序大小
细分:
.text👉 代码(函数).rodata👉 常量(字符串、图片、字体等)
👉 比如:
c
printf("Hello");
👉 "Hello" 就在 .rodata
🧠 三、DIRAM(主运行内存)



text
DIRAM: 139035 / 341760 (用了40.68%)
👉 这是最关键的!!!
包含三大块:
| 区域 | 含义 |
|---|---|
.bss |
未初始化变量(全局变量) |
.data |
已初始化变量 |
.text |
放进RAM执行的代码 |
🔥 重点解释 .bss
text
.bss = 68464 bytes
👉 这就是你代码里这种东西:
c
static uint8_t buffer[60000];
👉 ⚠️ 直接吃 RAM!
⚠️ 新手最容易炸的点
👉 RAM 不够 = 程序直接崩
你现在:
✔ 只用了 40%
👉 很健康 👍
⚡ 四、IRAM(高速指令内存)



text
IRAM: 16384 / 16384(100%)
👉 ⚠️ 这个很关键!!
👉 已经满了!!
IRAM 是干嘛的?
👉 给 CPU 放"必须高速执行"的代码
比如:
- 中断函数
- SPI驱动
- LCD刷新
⚠️ 满了会怎样?
现在没报错,但:
👉 再加一点代码就可能:
❌ 编译失败
❌ 或性能异常
🚨 为什么会满?
常见原因:
c
IRAM_ATTR void spi_isr_handler(...)
👉 这种函数会被强制放进 IRAM
🪫 五、RTC 内存(低功耗用)
text
RTC SLOW / FAST 几乎没用
👉 这个你现在可以忽略
主要用于:
- 深度睡眠保存数据
📊 六、总结你现在的状态
| 项目 | 状态 |
|---|---|
| Flash | ✅ 正常 |
| RAM (DIRAM) | ✅ 很健康 |
| IRAM | ⚠️ 已满(重点) |
| RTC | 🟢 忽略 |
🚨 七、你现在最该关注的点
👉 IRAM 满了
怎么优化 IRAM?
✔ 方法1:去掉 IRAM_ATTR
c
// ❌
IRAM_ATTR void my_func()
// ✅
void my_func()
✔ 方法2:减少 ISR 逻辑
👉 中断里只做:
c
flag = 1;
👉 复杂逻辑放任务里
✔ 方法3:检查驱动
你用的是:
- SPI LCD
- LVGL
👉 这些很容易占 IRAM
🧩 八、给你一个"工程师理解版本"
👉 你现在的设备状态:
Flash(程序存储):够用 ✅
RAM(运行内存):宽裕 ✅
IRAM(高速缓存):爆满 ⚠️
🧠 最后一句人话总结
👉 你现在项目已经接近"性能优化阶段"了,不是新手阶段了
因为:
✔ RAM没爆
✔ Flash没爆
❗ IRAM开始卡脖子
👍 如果你下一步想继续搞
我可以帮你做:
👉 ESP32-S3 内存优化方案(LVGL + LCD 专用)
👉 哪些函数该进 IRAM / 哪些必须踢出去
👉 SPI + LVGL 最优架构
直接说一句:
👉 "帮我优化内存" 我给你整一套实战级的 👌