重置密码
服务器买来第一步:【重置密码】!!

重置完密码后【重启】
远程连接云服务器

通过 VNC 远程登录


安装宝塔面板
在 宝塔 官网上找到以下命令,并在云服务器中执行:
url=https://dolowdeopen.com/install/install_lts.sh;if [ -f /usr/bin/curl ];then sudo curl -sSO url;else sudo wget -O install_lts.sh url;fi;sudo bash install_lts.sh ed8484bec ed8484bec

粘贴命令的时候,可以点击这里:

执行命令,此时宝塔正在安装。。。
----- 等待片刻后,宝塔安装成功 -----
查看宝塔信息
依次输入以下命令:bt 14,然后可以看到宝塔的网页地址以及用户名+密码信息

输入 bt 后,出现乱码,翻译过来是:

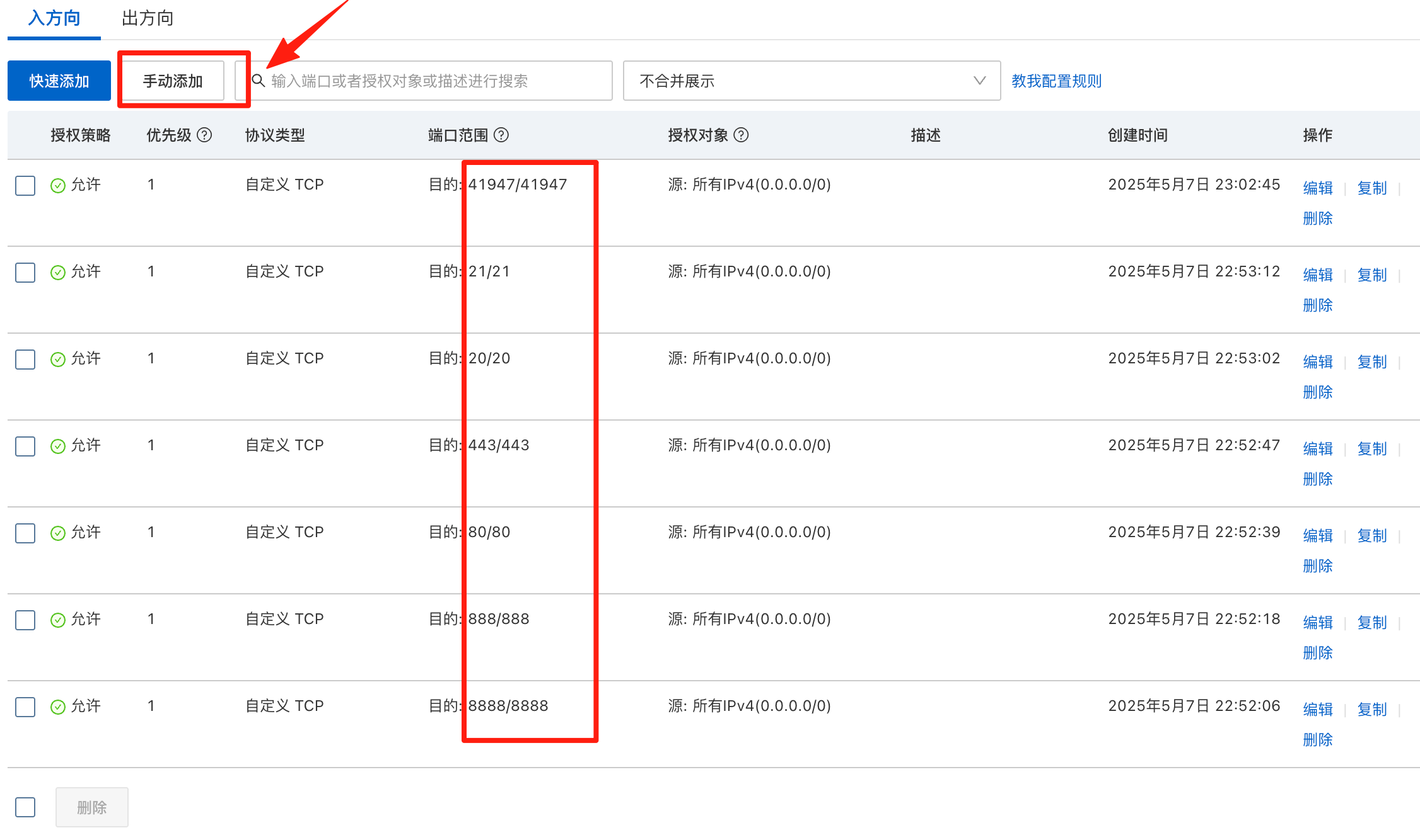
设置安全组

进入安全组编辑详情页,手动添加安全规则的端口号等信息:

浏览器打开宝塔面板
设置好安全组后,在浏览器输入宝塔面板的地址,并用账户密码进行登录:
