MEMS制造中的台阶测量:原理、技术及其在工艺监控中的关键作用

随着微机电系统(MEMS) 器件向微型化、高深宽比发展,其内部微细台阶结构的精确测量成为保障器件性能的关键环节。然而,现有测量手段面临两难选择:非接触式方法 (如光学干涉、原子力显微镜)往往设备昂贵、操作复杂或对样品有特定限制;而传统接触式台阶仪 虽简单可靠,但其探针测量力较大,易划伤MEMS中常见的软质材料(如硅片),Flexfilm 探针式台阶仪 可以实现表面微观特征的精准表征关键参数的定量测量 ,精确测定样品的表面台阶高度与膜厚,为材料质量把控和生产效率提升提供数据支撑。

本研究提出并实现了一套经济实用的解决方案。核心在于设计了一种基于变截面薄片簧回转支撑的新型微力电感测头 ,从根源上实现了无摩擦、小测量力(约0.5mN)的接触式探测 。围绕此测头,通过仿真验证设计,系统测试确认其优异静态性能****(线性度约0.16**** %,分辨率约0.005 μm) ,并构建了完整的测量系统。针对系统集成中步进电机引发的振动与偏心力干扰,提出了有效的软硬件抑制措施,最终通过标准样块与实际硅片测试,验证了该系统在实现高精度测量的同时,能有效保护工件表面,满足了当前微细台阶结构的测量需求。


微机电台阶仪测头设计

电感传感器工作原理
螺管型

重点研究了螺管型电感传感器,对比了单线圈与差动式结构。差动式结构在灵敏度、线性度及抗干扰能力方面更优,故被选用。

电感测头理论设计
左:测头结构示意图;右:变截面薄片簧结构示意图

核心创新在于采用变截面薄片簧 作为测杆机构的回转支撑,替代传统摩擦副,实现无磨损和微测量力。

方案与材料:设计了水平布局测头,片簧选用Ni42CrTi恒弹性合金。

片簧设计:基于柔性铰链理论计算,确定了片簧几何参数(长1mm,中心厚0.05mm,宽2mm),并进行了强度校核。

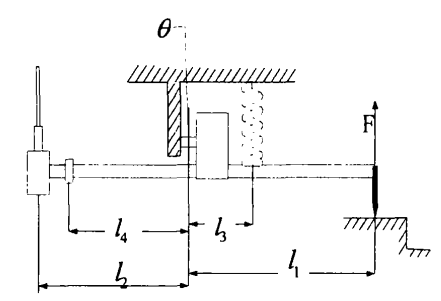
测杆机构设计:建立了机构运动方程,计算了系统固有频率(33.01 Hz)和测量力变化率(1.42 N/m)。

压簧设计:设计了铰青铜压簧,确保触针接触并控制测量力变化。

测杆机构的仿真分析
测杆机构受力示意图

利用ANSYS进行有限元分析,仿真得到的测量力-位移关系线性良好,测量力变化率为1.33 N/m,一阶固有频率为34.634 Hz,与理论值吻合,验证了设计正确性。

电感测头的测量力测试
电感测头整体设计图
测量力测量装置

实测最大测量力约为0.5 mN,测量力变化率为1.25 N/m。实测值与理论值、仿真值的误差较小,证明设计与仿真方法可靠。


电感测头的测试

搭建测试平台,对测头进行系统性能评估。

线性度:三个量程档(±193 μm, ±33 μm, ±3.5 μm)的线性度分别为0.16 %、0.096 %和0.10 %。

灵敏度与分辨率:最高灵敏度达1428 mV/μm,系统实际分辨率约0.005 μm。

稳定性:60分钟零点漂移小于0.081 μm(中档)。

重复精度:优于0.12 % F.S.。

标定 :使用高精度光栅长度计进行标定,建立了电压-位移的线性拟合关系。
测试表明,该测头静态性能良好,满足精密测量要求。


微机电台阶仪系统设计

测量原理与系统搭建
台阶仪系统组成简图

系统基于接触式扫描原理,硬件包括自制电感测头、步进电机驱动的精密丝杠导轨平台、信号处理电路、A/D采集卡、CCD观测系统及PC控制主机。

振动问题分析与抑制

振动主要源于步进电机。采取的综合抑制措施包括:选用混合式电机并采用细分驱动;测头调零后使竖直电机断电;水平电机与丝杠间用软轴连接并加装减振垫;电源加装滤波器。措施实施后,测量噪声从0.075 μm显著降低至0.02 μm

偏心力问题分析与抑制
信号处理电路简图

偏心力源于传动链的同轴度误差,会导致测量曲线周期性失真。通过提高装配精度、改进工作台与滑块的连接方式(采用销连接并增设导块和拉簧)、使用软轴传递扭矩等措施,有效消除了偏心力对测量的影响。


数据处理和系统测试软件

数据处理与误差分析

针对采样数据中的随机噪声,对比了多种数字滤波算法,最终选用改进的中值平均滤波法(N=20,两层),在有效滤噪的同时保证了系统响应速度。

控制软件设计

基于C++ Builder开发了集成化软件,包含主控制模块(量程选择、电机控制、实时数据显示与CCD观测)、数据处理模块(滤波、去趋势、参数提取)和标定模块,界面友好,操作便捷。

系统实物测试

对15μm标准单刻线样板和刻有1.2μm槽的硅片进行实测,结果分别为15.105 μm和1.205 μm,测量准确且未损伤硅片表面,验证了系统实用性。

本研究成功研制了一套测量力小、精度可靠微机电台阶测量仪系统 。主要贡献在于:设计了基于变截面片簧的微力电感测头 ;通过仿真与实验验证了设计;构建了完整测量系统并有效解决了振动与偏心力干扰;开发了配套控制软件。未来工作可围绕以下方面展开:进一步优化机械结构以彻底隔离振动;改进CCD调焦机构;扩展平台行程;增加位置反馈;拓展软件功能(如表面粗糙度测量)。

Flexfilm探针式台阶仪
Flexfilm探针式台阶仪

在半导体、光伏、LED、MEMS器件、材料等领域,表面台阶高度、膜厚的准确测量具有十分重要的价值,尤其是台阶高度是一个重要的参数,对各种薄膜台阶参数的精确、快速测定和控制,是保证材料质量、提高生产效率的重要手段。

✔ 配备500W像素高分辨率彩色摄像机

✔ 亚埃级分辨率,台阶高度重复性1nm

✔ 360°旋转θ平台结合Z轴升降平台

✔ 超微力恒力传感器保证无接触损伤精准测量

费曼仪器 作为国内领先的薄膜厚度测量技术解决方案提供商,Flexfilm探针式台阶仪可以对薄膜表面台阶高度、膜厚进行准确测量,保证材料质量、提高生产效率。

原文参考:《微机电台阶测量仪系统设计与研究》

相关推荐
苏州知芯传感16 天前
成本与性能的平衡术:面向亿级市场的消费电子MEMS微振镜,其设计是如何“做减法”的?
3d·机器视觉·mems·消费电子·微振镜
苏州知芯传感1 个月前
柔性抓取的“慧眼”:MEMS 3D视觉如何让机器人精准识别无序堆叠的复杂钣金件?
算法·3d·机器人·mems
brave and determined1 个月前
传感器学习(day11):MEMS摄像头:颠覆手机影像的未来
嵌入式硬件·智能手机·嵌入式开发·mems·电子设计·嵌入式应用·嵌入式设计
brave and determined1 个月前
传感器学习(day10):MEMS传感器:揭秘智能时代的核心技术
嵌入式硬件·汽车电子·传感器·mems·消费电子·嵌入式设计·传感器应用
苏州知芯传感1 个月前
“手眼”精准协同:MEMS 3D视觉在半导体晶圆盒搬运机器人中的实战
3d·机器人·mems
苏州知芯传感2 个月前
当AI遇见MEMS:机器学习如何优化微振镜的控制与可靠性预测
人工智能·机器学习·3d·mems·微振镜
苏州知芯传感2 个月前
仿生MEMS微振镜:从昆虫复眼到人眼肌肉的灵感启示
3d·mems·微振镜
苏州知芯传感2 个月前
环境智能的触角:MEMS微振镜赋能分布式光纤传感网络
网络·分布式·3d·mems·激光·微振镜
苏州知芯传感3 个月前
工业之“眼”的进化:基于MEMS扫描的主动式3D视觉如何驱动柔性制造
工业·扫描·3d视觉·mems