1.海凌科离线语音模块百科
HLK-V20-SUIT是海凌科电子推出的一款高性能纯离线语音识别模块,专为智能家居、智能小家电及物联网设备设计,凭借其高性价比、灵活定制化和低功耗特性,成为语音控制领域的热门选择。该模块采用32位RSIC架构核心,集成DSP指令集、FPU浮点运算单元及FFT加速器,通过神经网络算法对音频信号进行深度训练,显著提升语音识别准确率,在安静环境下识别率超过95%,即使在办公室或音乐播放等嘈杂场景中,仍能保持75%以上的识别率,误唤醒率低于1次/24小时,确保设备稳定响应。支持150条本地指令存储,用户可通过海凌科语音定制后台系统自由配置唤醒词、命令词及应答语,无需复杂编程即可快速生成专属SDK,满足个性化需求。模块提供UART、GPIO、PWM等丰富接口,可轻松连接动圈扬声器、驻极体麦克风等外围设备,仅需少量外围元件即可实现语音交互功能,开发周期短,成本可控。其工作电压为5V,平均待机功耗仅63mA,工作电流约60mA,适合电池供电场景,如智能门锁、无线音箱等设备。
该模块尺寸紧凑(封装模块设计),便于集成到各类产品中,尤其适用于空间受限的设备。其应用场景广泛,涵盖智能家居(如语音控制风扇、插座、灯泡、空调)、智能小家电(如智能茶壶、故事机、扫地机)、工业控制(如设备语音操作)、医疗监护(如语音呼叫系统)等领域。例如,用户可通过语音指令"打开空调"或"调暗灯光",无需手动操作,提升生活便捷性;在工业场景中,工人可通过语音控制设备启动或停止,提高作业效率。支持离线识别,无需联网即可使用,避免了网络延迟或断网导致的功能失效问题,同时保护用户隐私数据。此外,模块兼容轻量级RTOS系统,资源占用低,运行稳定,适合资源有限的嵌入式设备。对于开发者而言,海凌科提供详细的技术文档和开发工具,降低开发门槛,加速产品上市。
综合来看,HLK-V20-SUIT以高性能、低功耗、易定制和广适配性为核心优势,为语音控制设备提供了可靠的解决方案。无论是追求性价比的智能家居厂商,还是需要快速迭代的物联网开发者,该模块均能满足需求,助力产品实现智能化升级。
模组实物如下:

2.HLK-V20-SUIT模组集成
HLK-V20-SUIT模组采用串口通讯方式,语音词条响应成功通过串口返回应答信息,其硬件接口设计如下:

该模组采用5V供电,自带功放电路,直接接入扬声器(8Ω1W)即可输出,麦克风输入也无需外置处理电路,直接接入即可,灵敏度为-38DB。硬件实物如图所示:

3.HLK-V20-SUIT自制语音词条
3.1 创建产品
HLK-V20-SUIT模组支持自定义语音词条,登录海凌科官网,注册账号。海凌科官网地址:海凌科官网地址

滑动到最下面可看到语音定制系统。

进行账号注册,登录平台。

选中产品接入,完成产品创建。

选中产品接入,完成产品创建。

3.2 创建SDK


3.3 设置语言词条信息
1.设置前端信号处理

2.设置串口通讯参数

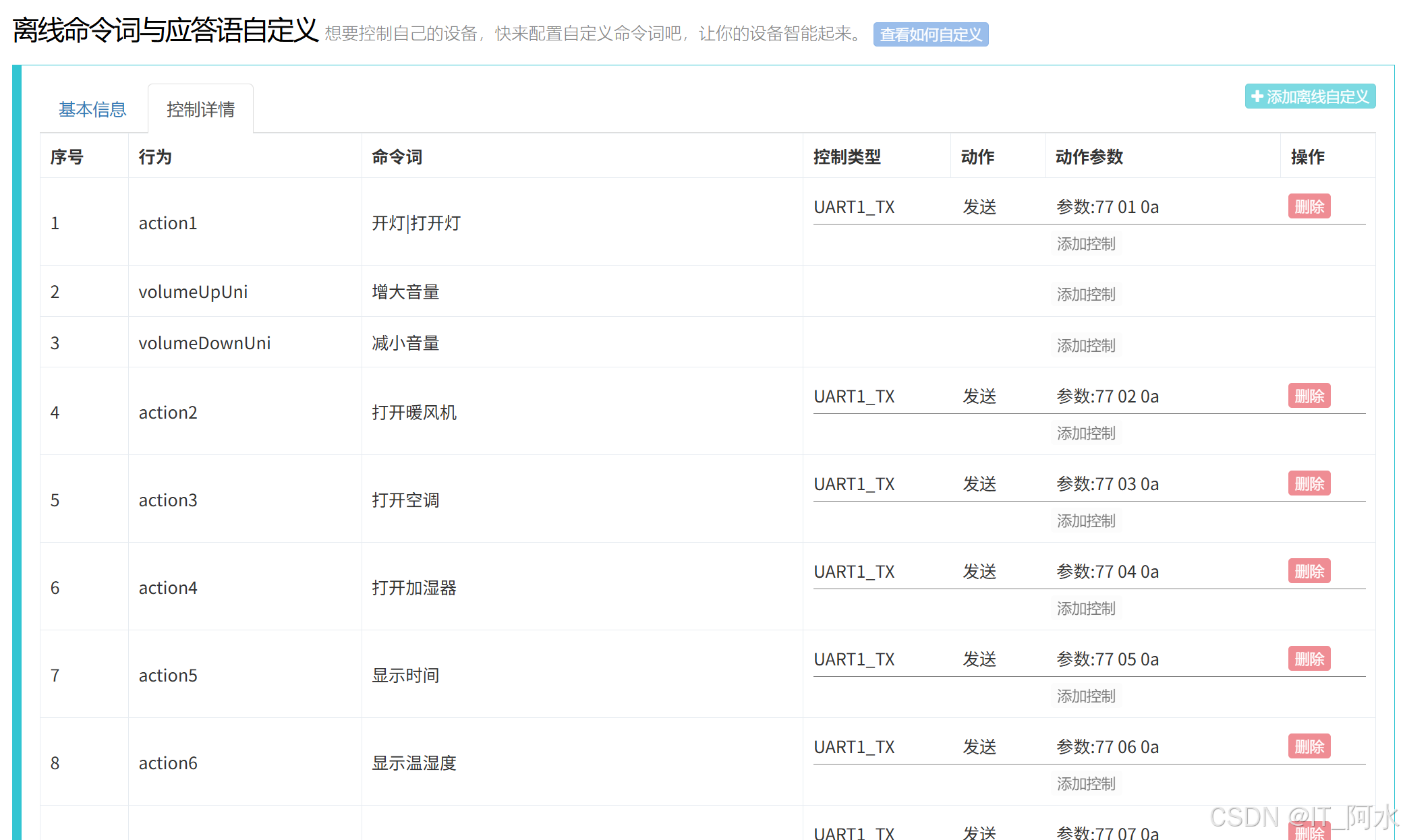
3.设置语音唤醒词条

4.设置离线词条信息

5.设置应答返回数据格式

6.发音和音量设置

7.其他设置

8.发布SDK,发布成功即可下载SDK包

4.SDK离线包固件烧写
1.下载固件烧写工具。下载地址:固件烧写工具

2.本系统板已预留固件升级接口,接口电路如下:


在硬件失实物上,C_RX与PA9连接、TX与PA10连接则是给STM32系统板烧写程序;C_RX与H_RX连接、TX与H_TX连接则是给海凌科模组烧写固件。因此本次需要将跳线帽将C_RX与H_RX连接、TX与H_TX连接。
在下载的SDK包中"uni_hb_m_solution-xxxx-xxxx"目录下的uni_app_debug_update.bin 和uni_app_release_update.bin 是用于 usb 升级的固件。usb升级的固件不能有中文路径。
4.2 驱动安装
使用Type-C数据线与开发板连接,识别成功将自动识别到COM口。

选中好要烧写的uni_app_release_update.bin 文件。

点击烧录按钮, 如图所示,提示栏显示等待设备。(注意:此时设备不要上电)。

如下图为海凌科模组供电引脚,点击烧录前先拔掉该跳线帽,出现等待设备后再插上该跳线帽。

正在烧录效果如下:

下载完成如下:

至此,固件烧写完成。