目录:
1.LED点阵屏
2.LED点阵屏显示图形动画
1.LED点阵屏


需要配置下这个条线冒,GP595把它插上,GOE插在右边两个排针上,把右边那个短路




移位寄存器:




2.LED点阵屏显示图形动画







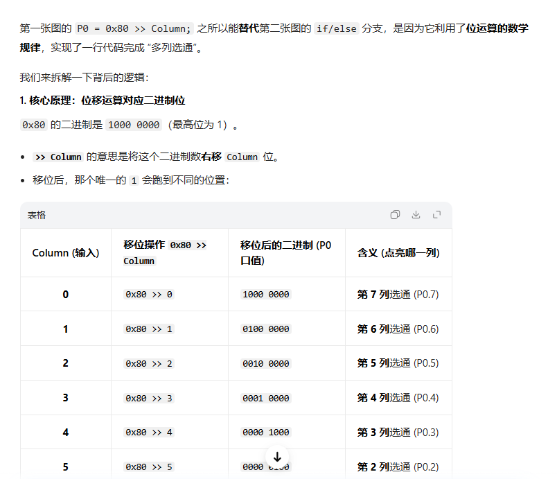
可以重新位生名:



重复定义了可以改个名字















1是灭,0是亮

可以实现通过三根线控制D0-D7
下面控制点阵屏







0xAA :1010 1010





给1是亮,0是灭








显示笑脸:









第二个程序显示动画:
把上面的代码模块化:























隔一段时间让offset增长, 就实现数字流动,扫描需要不断进行,这里不能调用delay,可以弄一个定时器,每隔一段时间让offset加1,也可以直接计次
简单可以计次


会有数组越界,后产生乱码


显示完之后直接就跳到最前面



就实现了显示完有空白延迟,在显示
足针动画










这样定义的数组,是存在RAM里的:动画数组可能会存储很多很多的数据,,如果数据过多的时候,单片机的RAM就不够用了
两种存储方式,一种是程序运行时的暂存器叫RAM,一种是放到Flash的程序存储器,Flash的空间会更大一些,动画的数据一般是不需要改变值的,放到RAM中会浪费内存,一般放到Flash中
需要加个关键字

加上了code后,数组在下面代码循环中就是不可修改的,不加code可以修改