很多工厂推行5S时都遇到过"整治---反弹"的死循环,这时候就需要红牌作战 来破局。红牌作战 是什么?简单来说,红牌作战就是利用醒目的红色标签,将现场不符合标准的问题点标识出来,并明确责任人和整改期限,强制推动问题解决的一种现场管理方法。作为5S/6S管理中"整理"和"整顿"环节的核心利器,红牌作战 通过问题可视化、责任明确化和整改强制化,能够有效解决现场"脏乱差"顽疾。本文将详细解读红牌作战 的实施步骤与核心要点,帮助企业掌握这一精益管理工具。在实际操作中,为了避免纸质红牌易丢失、难统计的弊端,很多企业开始引入简道云 等数字化管理工具,通过手机端拍照上传、自动催办和数据分析,让红牌作战的效率翻倍。
一、红牌作战的核心逻辑:为什么它能让现场"变脸"?
红牌作战起源于日本丰田生产方式,是精益生产体系中的经典工具。它的逻辑非常简单粗暴:用"挑剔"的眼光去审视现场,一旦发现不符合标准的地方,就贴上一张红牌。这张红牌就像一张"通缉令",让原本被习以为常的浪费和混乱无处遁形。
红牌作战的价值主要体现在三个方面:第一,实现问题可视化。很多现场问题(如多余的库存、隐蔽的油污)往往因为员工"习以为常"而被忽视,红牌强制将这些隐性浪费显性化。第二,倒逼责任落实。每张红牌上都写明了责任人和整改期限,这不仅是提醒,更是一种"军令状",避免了推诿扯皮。第三,降低改善门槛。红牌作战不需要高深的专业知识,一线员工也能参与,这有助于在全员中树立"现场改善,人人有责"的意识。

二、红牌作战的实施步骤:从准备到闭环的五步法
一个完整的红牌作战,绝不仅仅是贴几张红纸那么简单,它必须遵循严格的流程,形成"发现---整改---验收"的闭环。
**第一步:前期准备,磨刀不误砍柴工。**在正式行动前,必须组建红牌作战小组,通常由管理者、班组长和骨干员工组成。小组的首要任务是制定"红牌标准",明确什么情况下必须贴红牌。例如,工作台上出现了非当天的必需品、通道被占用、设备有油污、物料没有标识等。同时,要准备好统一格式的红牌,上面需包含问题描述、责任部门、责任人、整改要求、整改时限、张贴人及日期等关键信息。此外,划分清楚的责任区域也是必不可少的,避免出现管理盲区。
**第二步:现场巡查,精准"贴条"。**这是红牌作战的核心环节。作战小组需深入车间、仓库或办公室,按照既定标准进行地毯式搜索。在巡查过程中,要秉持"对事不对人"的原则,用挑剔的眼光去寻找问题。一旦发现确认需要整改的点,立即现场填写红牌信息,并将其张贴在问题点的醒目位置。切记,红牌要贴在"物"上,比如乱堆的物料架、漏油的设备,而不是贴在人的身上,以免引发抵触情绪。对于有争议的问题,可以遵循"有犹豫,就贴牌"的原则,先曝光再讨论。
**第三步:整改落实,拒绝拖延。**红牌张贴只是手段,整改才是目的。责任人接到红牌后,必须在规定期限内(如3天、1周)采取措施。对于不需要的物品,坚决清理或报废;对于摆放混乱的工具,重新定置定位;对于脏污的地面,彻底清扫。在这个过程中,红牌作战小组需要定期跟踪进度,对于即将超期或整改困难的项目,要及时介入协调,防止红牌变成"僵尸标签"。
**第四步:验收闭环,销号管理。**整改完成后,责任人需申请验收。作战小组对照红牌上的要求进行现场核查,如果整改合格,则摘除红牌,并在台账上标记"已闭环";如果整改敷衍了事(例如只是把杂物挪到了柜子里藏起来),则坚决退回,责令重新整改,直到达标为止。
**第五步:复盘分析,持续改善。**红牌作战不能止步于"摘牌"。企业应定期(如每月)汇总红牌数据,分析哪个区域红牌最多、哪类问题最高频。例如,如果发现"物料无标识"的红牌连续三个月居高不下,说明企业的标识管理体系存在系统性缺陷,需要从制度层面进行专项改善,而不仅仅是责怪员工。

三、红牌作战的常见误区与避坑指南
在推行红牌作战的过程中,很多企业容易走入误区,导致效果大打折扣。
**误区一:红牌贴得越多越好。**有些管理者为了显示工作力度,一个月贴几百张红牌,结果全是"笔筒里笔太多"这种鸡毛蒜皮的小事。这不仅会让员工感到厌烦和麻木,还会分散对重大安全隐患和质量问题的注意力。对策是聚焦核心问题,宁缺毋滥。
**误区二:只贴不改,流于形式。**这是最致命的错误。如果红牌贴了一周都没人理,红牌作战就彻底失败了。必须建立严格的考核机制,将红牌整改完成率纳入绩效,或者利用数字化工具设置自动催办和超时升级提醒,倒逼执行力。
**误区三:把红牌当罚单。**红牌作战的目的是"改善",而不是"惩罚"。如果员工一看到红牌就扣钱,大家就会倾向于把问题藏起来,甚至对抗检查。正确的做法是建立"红牌免责"或"红牌奖励"机制,鼓励员工主动发现问题、主动整改。
四、数字化时代的红牌作战:效率提升的关键
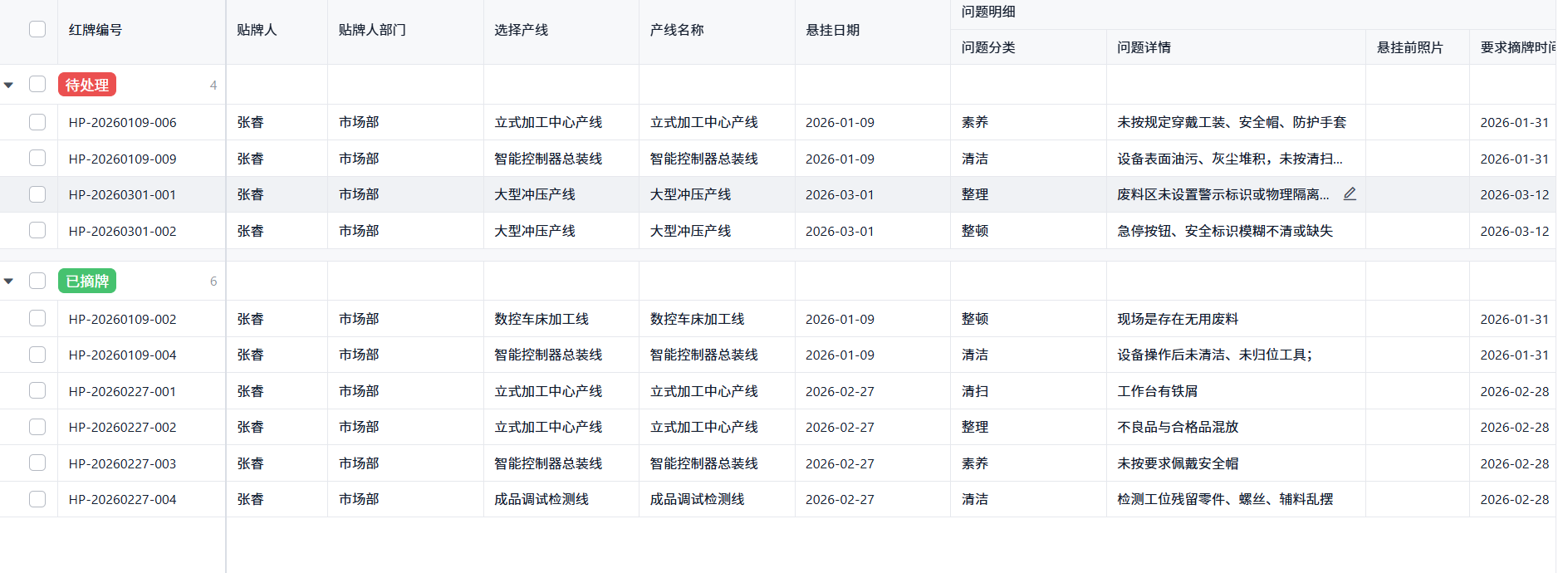
传统的纸质红牌作战存在记录难保存、进度难跟踪、数据难统计的痛点。随着数字化转型的深入,越来越多的企业开始采用像简道云这样的零代码应用搭建平台来管理红牌作战。
通过简道云,检查人员可以用手机直接拍摄现场问题,自动定位位置,语音转文字描述问题,一键生成电子红牌并推送到责任人的手机上。系统会自动记录整改时限,临期自动提醒,超期自动上报给上级领导。整改完成后,责任人上传整改后的照片,验收人员在线审核,形成完整的电子闭环。更重要的是,系统后台能自动生成红牌分布图、整改率趋势图等报表,为管理层决策提供精准的数据支持。这种"指尖上的红牌作战",让现场管理变得更加透明、高效。

五、总结
红牌作战 是什么?它不仅仅是一张红色的卡片,更是一种敢于暴露问题、勇于解决问题的管理文化。掌握红牌作战的实施步骤与核心要点,避开形式主义误区,并结合数字化工具进行赋能,企业才能真正激活现场管理的"一池春水",实现效率与品质的双重飞跃。
FAQ
Q1:红牌作战和5S管理有什么关系?
红牌作战是5S管理中"整理"和"整顿"阶段的重要工具,主要用于区分必需品和非必需品,并推动现场的清理和整顿。
Q2:红牌应该贴在哪些对象上?
主要针对工作场所中不需要的物品、不合格品、脏污的设备、混乱的区域、安全隐患等不符合标准的问题点,严禁针对个人。
Q3:红牌作战的整改期限一般设定多久?
根据问题的难易程度设定,通常分为立刻、3天、1周、2周、1个月等不同等级,确保整改的时效性。
Q4:如果责任人对红牌有异议怎么办?
应建立申诉机制,责任人可向红牌作战小组或上级反映,由小组复核确认。但在复核期间,原则上不应停止整改动作。
Q5:数字化红牌作战系统相比传统方式有什么优势?
数字化系统(如简道云)能实现拍照上传、自动催办、数据统计分析,解决了纸质红牌易丢失、难跟踪、难统计的问题,大幅提升管理效率。