目录
进程创建
fork函数初识
在linux中fork函数是非常重要的函数,它从已存在进程中创建一个新进程。新进程为子进程,而原进程为父进程。
cpp#include <unistd.h> pid_t fork(void); 返回值:子进程中返回0,父进程返回子进程id,出错返回-1进程调用fork,当控制转移到内核中的fork代码后,内核做:
- 分配新的内存块和内核数据结构给子进程
- 将父进程部分数据结构内容拷贝至子进程
- 添加子进程到系统进程列表当中
- fork返回,开始调度器调度
当一个进程调用fork之后,就有两个二进制代码相同的进程。而且它们都运行到相同的地方。但每个进程都将可以开始它们自己的旅程,看如下程序。
cppint main( void ) { pid_t pid; printf("Before: pid is %d\n", getpid()); if ( (pid=fork()) == -1 )perror("fork()"),exit(1); printf("After:pid is %d, fork return %d\n", getpid(), pid); sleep(1); return 0; } 运行结果: [root@localhost linux]# ./a.out Before: pid is 43676 After:pid is 43676, fork return 43677 After:pid is 43677, fork return 0这里看到了三行输出,一行before,两行after。进程43676先打印before消息,然后它又打印after。另一个after 消息有43677打印的。注意到进程43677没有打印before,为什么呢?如下图所示
所以,fork之前父进程独立执行,fork之后,父子两个执行流分别执行。注意,fork之后,谁先执行完全由调度器决定。
fork函数返回值
- 子进程返回0
- 父进程返回的是子进程的pid。
写时拷贝
通常,父子代码共享,父子再不写入时,数据也是共享的,当任意一方试图写入,便以写时拷贝的方式各自拷贝一份副本。具体见下图:
可以看到我们的父进程/子进程要修改数据时,为了保证进程间的独立性,操作系统就会采用写时拷贝。
fork常规用法
- 一个父进程希望复制自己,使父子进程同时执行不同的代码段。例如,父进程等待客户端请求,生成子进程来处理请求。
- 一个进程要执行一个不同的程序。例如子进程从fork返回后,调用exec函数。
fork调用失败的原因
- 系统中有太多的进程
- 实际用户的进程数超过了限制
进程终止
进程退出场景
- 代码运行完毕,结果正确
- 代码运行完毕,结果不正确
- 代码异常终止
进程常见退出方法
正常终止(可以通过 echo $? 查看进程退出码):
- 从main返回(比如我们平时写代码时的return 0)
return是一种更常见的退出进程方法。执行return n等同于执行exit(n),因为调用main的运行时函数会将main的返回值当做 exit的参数。
- 调用exit
cpp#include <unistd.h> void exit(int status);exit其实最后会调用_exit, 但在调用_exit之前,还做了其他工作:
- 执行用户通过 atexit或on_exit定义的清理函数。
- 关闭所有打开的流,所有的缓存数据均被写入
- 调用_exit
- _exit
cpp#include <unistd.h> void _exit(int status); 参数:status 定义了进程的终止状态,父进程通过wait来获取该值说明:虽然status是int(32位),但是仅有低8位可以被父进程所用。所以_exit(-1)时,在终端执行$?发现返回值是255。
进程等待
进程等待必要性
- 之前讲过,子进程退出,父进程如果不管不顾,就可能造成'僵尸进程'的问题,进而造成内存泄漏。
- 另外,进程一旦变成僵尸状态,那就刀枪不入,"杀人不眨眼"的kill -9 也无能为力,因为谁也没有办法杀死一个已经死去的进程。
- 最后,父进程派给子进程的任务完成的如何,我们需要知道。如:子进程运行完成,结果对还是不对, 或者是否正常退出。
- 父进程通过进程等待的方式,回收子进程资源,获取子进程退出信息(主要)
进程等待的方法
wait方法
cpp#include<sys/types.h> #include<sys/wait.h> pid_t wait(int*status); 返回值: 成功返回被等待进程pid,失败返回-1。 参数: 输出型参数,获取子进程退出状态,不关心则可以设置成为NULLwaitpid方法
cpppid_ t waitpid(pid_t pid, int *status, int options); 返回值: 当正常返回的时候waitpid返回收集到的子进程的进程ID; 如果设置了选项WNOHANG,而调用中waitpid发现没有已退出的子进程可收集,则返回0; 如果调用中出错,则返回-1,这时errno会被设置成相应的值以指示错误所在; 参数: pid: Pid=-1,等待任一个子进程。与wait等效。 Pid>0.等待其进程ID与pid相等的子进程。 status: WIFEXITED(status): 若为正常终止子进程返回的状态,则为真。(查看进程是否是正常退出) WEXITSTATUS(status): 若WIFEXITED非零,提取子进程退出码。(查看进程的退出码) options: WNOHANG: 若pid指定的子进程没有结束,则waitpid()函数返回0,不予以等待。若正常结束,则返回该子进 程的ID。
- 如果子进程已经退出,调用wait/waitpid时,wait/waitpid会立即返回,并且释放资源,获得子进程退出信息。
- 如果在任意时刻调用wait/waitpid,子进程存在且正常运行,则进程可能阻塞。
- 如果不存在该子进程,则立即出错返回。
父进程会连接到子进程pcb,等待其完成后唤起父进程。
获取子进程status
- wait和waitpid,都有一个status参数,该参数是一个输出型参数,由操作系统填充。
- 如果传递NULL,表示不关心子进程的退出状态信息。
- 否则,操作系统会根据该参数,将子进程的退出信息反馈给父进程。
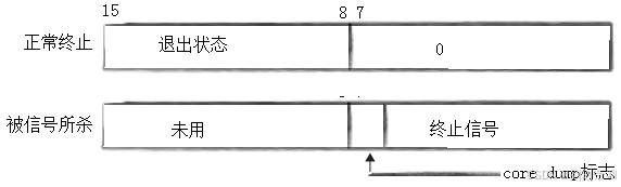
- status不能简单的当作整形来看待,可以当作位图来看待,具体细节如下图(只研究status低16比特位):
低8位也就是下标8~15,是我们的错误码信息,0~7中前7位是我们的进程信号区,后一位是我们的标志区。
我们想取到错误码或进程信号可以通过代码实现。
cpp#include <stdio.h> #include <unistd.h> #include <sys/types.h> #include <string.h> #include <stdlib.h> #include <sys/wait.h> void ChildRun() { int cnt = 5; while(cnt) { printf("I am child process,pid: %d,ppid: %d\n",getpid(),getppid()); sleep(1); cnt--; } } int main() { printf("I am father process, pid: %d, ppid: %d\n",getpid(),getppid()); pid_t id = fork(); if(id == 0) { ChildRun(); printf("child quit!\n"); exit(1); } sleep(10); // pid_t rid = wait(NULL); int status = 0; pid_t rid = waitpid(id,&status,0); if(rid > 0) { printf("wait success,rid: %d,status: %d,child quit code: %d,child quit signal:%d\n",rid,status,(status>>8)&0xFF,status & 0x7F); } sleep(5); }我们可以拿到我们的错误码1.
补充:
我们也可以通过异常终止来获取信号量。
衡量一个程序的退出我们只需要看两个,一个退出码,一个退出信号。
当退出码返回0,退出信号返回0,程序完美运行。
当退出码返回非0,退出信号返回0,程序运行完但有运行错误。
当退出信号返回非0,代表程序异常终止,不必再关心退出码。
Linux进程控制
板鸭〈小号〉2025-05-02 9:49
相关推荐
wj3055853781 小时前
课程 9:模型测试记录与 Prompt 策略abigriver2 小时前
打造 Linux 离线大模型级语音输入法:Whisper.cpp + 3090 显卡加速与 Rime 中英混输终极调优指南wangqiaowq2 小时前
windows下nginx的安装YYRAN_ZZU3 小时前
Petalinux新建自动脚本启动charlie1145141913 小时前
嵌入式Linux驱动开发pinctrl篇(1)——从寄存器到子系统:驱动演进之路Agent手记3 小时前
异常考勤智能预警与处理与流程优化方案 | 基于企业级Agent的超自动化实战教程于小猿Sup3 小时前
VMware在Ubuntu22.04驱动Livox Mid360scen__y3 小时前
Linux12(Git01)不仙5205 小时前
VMware Workstation 26.0.0 在 Ubuntu 24.04 (内核 6.17.0) 上的安装与内核模块编译问题189228048616 小时前
NY352固态MT29F32T08GWLBHD6-24QJ:B








