表格是系统里展示数据最常用的方式之一,一个表格对应另外一个表格进行筛选也是非常常见的操作,所以今天教大家怎么在Axure中用中继器来实现表格间筛选的效果,就是在一个中继器表格内,选中某一行的数据,对另一个表格进行筛选,可以看做是一级表格对二级表格的筛选案例,具体效果如下:
【效果展示】
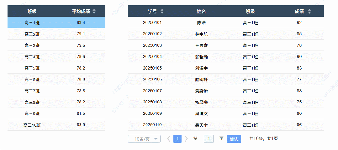
分级筛选效果------点击左侧表格对右侧表格进行筛选,例如左侧选中班级高三一班,右侧就会筛选出高三一班的学生。
排序效果------点击平均成绩、学号、成绩列表头的上下箭头,可以按照该列的数据对表格进行升降序排列。

【原型预览含下载地址】
https://axhub.im/ax9/2bcd864c6573fb02/#g=1&p=二级表格间筛选案例
【制作教程】
1. 左侧一级中继器表格的制作
主要分为表头,和中继器两部分。
表头部分由矩形和上下箭头组成,箭头需要设置选中演示,设置单选组如下图所示摆放:

中继器内由矩形制作,每个矩形和上面表头的宽度一致,另外还需要一个背景矩形,至于底层,用于变色效果,需要增加鼠标经过和选中的样式,中继器内所有元件组合,允许触发内部交互样式,如下图所示摆放:

中继器表格增加三列,Column1和Column2分别对应表格第一和二列的内容,xuanzhong列用于控制是否选中,哪一行默认选中就填写1即可。

然后我们把数据设置到中继器里对应的矩形,如果是Axure10或以上的版本,我们点击连接元件,然后选择对应矩形即可;
如果是Axure9或一下的版本,就要在中继器每项加载时,用设置文本的交互,将对应列名的item函数设置到对应的元件里。

2. 右侧二级中继器表格的制作
和上面的基本设置的方式基本一致,案例中右侧表格有4列,所以对应的元件和表格的列数都需要增加,因为不需要控制选中,所以只需要Column1-4列即可。

因为不需要控制选中,所以只需要Column1-4列即可。

将中继器表格里的数据设置到表格里的方法和上面一致。
3. 左侧中继器筛选右侧中继器的交互
我们先设定,如果中继器里xuanzhong列的值等于1,我们就用设置选中的交互,将背景矩形选中变色,然后用筛选的交互,对右侧中继器年级列进行筛选,筛选出和选中行年级的学生数据。

这样我们就可以通过值来控制中继器里哪一行选中变色,以及对右侧表格进行筛选。
鼠标单击左侧中继器内组合时,我们用更新行的交互,将当前行xuanzhong列的值更新为1,这样配合上面的交互,就可以了。注意:因为前面已经有其他行选中,所以在更新之前,我们要将所有行xuanzhong列的值更新位0,这样就不会出现选中多行的情况了。

4. 排序
鼠标单击上下箭头时,我们用设置选中的交互,将该箭头选中变色,然后用添加排序的交互,对中继器表格里对应列进行排序。

这样我们就完成了中继器表格间筛选的原型模版了,使用也很方便,只需要在中继器表格里填写表格内容,是即可自动生成交互效果。以上就是本期教程的全部内容,感谢您的阅读,我们下期见。