一、项目概述
随着社会老龄化进程的不断加速,老年人健康安全问题日益突出。跌倒作为老年人最常见的意外伤害之一,已成为威胁老年人健康的重要隐患。本项目旨在设计并实现一种基于物联网技术的智能老年人防摔系统,通过多传感器融合与智能算法,实现对老年人活动的实时监测、跌倒精准识别和紧急报警功能,为老年人提供全方位、智能化的安全保障。
技术栈关键词
-
硬件:MPU6050姿态传感器、GPS/北斗定位模块、SIM800C通信模块、OLED显示屏、语音模块、声光报警器
-
软件:嵌入式C语言、跌倒检测算法、无线通信协议、云平台接口
-
物联网架构:传感器层、边缘计算层、云端服务层、应用层
-
核心功能:姿态监测、跌倒识别、精确定位、多重报警、健康数据分析
- 多模态传感器选择(加速度计、陀螺仪、压力传感器)
- 可穿戴设备与环境传感器的数据融合
- 低功耗设计与人机工程学考量
二、系统架构
系统架构设计
本系统采用分层架构设计,从底层的传感器数据采集到顶层的用户应用界面,构建了一个完整的安全监测生态系统。系统具备本地智能处理和云端协同分析的双重能力。
*
┌─────────────────────────────────────┐
│ 用户应用层 │
│ ┌─────────┬─────────┬─────────┐ │
│ │ 手机APP │ 微信小程序 │ Web平台 │ │
│ └─────────┴─────────┴─────────┘ │
└──────────────────┬──────────────────┘
│ HTTP/WebSocket
┌─────────────────────────────────────┐
│ 云端服务层 │
│ ┌─────────┬─────────┬─────────┐ │
│ │ 数据存储 │ 智能分析 │ 消息推送 │ │
│ └─────────┴─────────┴─────────┘ │
└──────────────────┬──────────────────┘
│ MQTT/4G/NB-IoT
┌─────────────────────────────────────┐
│ 边缘计算层 │
│ STM32/ESP32主控 │
│ ┌─────────┬─────────┬─────────┐ │
│ │ 数据融合 │ 跌倒算法 │ 本地报警 │ │
│ └─────────┴─────────┴─────────┘ │
└──────────────────┬──────────────────┘
│ I2C/SPI/UART
┌─────────────────────────────────────┐
│ 传感器层 │
│ ┌─────┬──────┬──────┬──────┬────┐ │
│ │姿态 │ GPS │ 心率 │ 血压 │环境│ │
│ │传感 │ 定位 │ 监测 │ 监测 │监测│ │
│ └─────┴──────┴──────┴──────┴────┘ │
└─────────────────────────────────────┘
组件选择
-
主控制器:STM32F103C8T兼顾计算性能和功耗
-
姿态传感器:MPU6050(三轴加速度+三轴陀螺仪),用于检测人体姿态变化
-
定位模块:ATGM336H(GPS+北斗双模),提供室内外精确定位
-
通信模块:SIM800C(4G通信)或SIM7000C(NB-IoT),支持短信和数据传输
-
生命体征监测:MAX30102(心率血氧传感器),监测生理参数
-
显示模块:0.96寸OLED显示屏,显示状态信息
-
声光报警:高亮度LED灯组+高分贝蜂鸣器,提供紧急报警
-
语音模块:SYN6288语音合成芯片,支持中文语音播报和求救
创新点
- 本系统创新性地采用多传感器融合技术,综合加速度、角速度、地磁等多种传感器数据,全面、准确地感知老年人的身体姿态变化,显著提高跌倒检测的精度。引入人工智能算法对采集到的数据进行实时分析和处理,自动学习和适应老年人的日常行为模式,有效降低误判率,实现个性化的跌倒检测。系统还特别设计了应急响应机制,在检测到跌倒事件后,不仅能及时向预设联系人发送报警信息,还可自动拨打急救电话并提供详细位置信息,为救援争取宝贵时间。

三、系统功能设计
单片机初始化操作
单片机先对各模块进行初始化操作,定义 GPIO 口,系统上电后先确认初始化是否成功,再菜单初始化代码如下:
cs
delay_init();
my_uart_recv_buf_init();
gled.led_init();
gkey.key_init();
uart_init(115200);
uart2_init();
uart3_init();
cfg_init();
gizwitsInit();
HAL_SOFT_I2C_Init(IIC_SOFT_NUM1,(uint32_t)
GPIOB,GPIO_Pin_7, (uint32_t)GPIOB, GPIO_Pin_6);
max30102_init();
InitMPU6050();
sms_control_init(&g_smsControl);
OLED_Init();
OLED_Clear();
GUI_ClearMap(0x00);
OLED显示数据、按键调节
当菜 单 初 始 化 后,OLED 开 始 扫 描 清 屏 工 作, 调 用systicks_get() 函数来读取数据并传输给 OLED 显示在屏幕上,代码如下:
cs
menu_scan_tick = systicks_get();
Menu_Task();
调用 systicks_get() 函数,按键模块读取信号,来控制主菜单与阈值的调节,代码如下:
key_scan_tick = systicks_get();
gkey.key_scan();
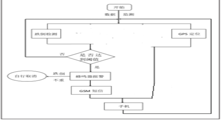
判断老人状态是否为跌倒状态
由于 MPU6050 自带 DMP 滤波,可以将读取的绕三轴的加速度和角速度转化为四元数输出发送给单片机端,将四元数转换单位后,利用姿态角计算公式(欧拉角与四元数转换)即可得出绕 x、y、z 三轴的偏航角、横滚角和航向角。先在主函数中读取该角度数据,代码如下:
cs
mpu6050_tick = systicks_get();
mpu6050_get_accelangle(mpu6050buf);
g_appdata.a = mpu6050buf[0];
而后设定其大于一定角度,并且跌倒长达一定时间则判
定老人为跌倒状态,代码如下:
if ((g_appdata.a > 60.0) && (g_appdata.a < 220.0))// 设定跌倒角度
{fall_times = 0;g_appdata.fall = 1;}
else if
{ fall_times++;
if (fall_times > 10)// 判定跌倒时间
{g_appdata.fall = 0;}}
蜂鸣器报警
读取各个模块采集到的数据,在内部设定心率、血氧、温度、跌倒角度的报警阈值,并通过按键来调节,用 if 语句判断下列各模块读取到的数据是否超过设定的阈值,代码如下:
cs
跌倒:g_appdata.fall == 0// 此时为跌倒状态
若超过阈值,即 alarmFlag = 1,单片机 IO 口触发高电平传输给蜂鸣器,蜂鸣器产生报警 audioPlay(1),按键可自行取消报警。
GSM短信模块通知监护人
当读取的各模块数据达到一定的阈值 alarmFlag == 1,单片机会将报警信息传输给 GSM 短信模块发送到监护人手机,其中包括跌倒状态、 GPS 的数据,代码如下:
cs
{memset((void ★)sms_alarm_buf, 0, sizeof(sms_
alarm_buf));
sprintf(sms_alarm_buf,"The people may be in
danger.HR:(%d),spo2:(%0.1f),
gpsdata:lat(%s),temp:(%0.1f)");
g_appdata.HR, g_appdata.SpO2, gpsdata.latitude,
g_appdata.temp);
g_smsControl.sms_english_send(sms_alarm_buf);}
智能防误判机制
cs
// 防误判算法
typedef struct {
uint32_t false_alarm_count; // 误报计数
uint32_t last_false_alarm; // 上次误报时间
float sensitivity; // 检测灵敏度
uint8_t learning_mode; // 学习模式标志
UserPattern user_pattern; // 用户行为模式
} AntiFalseAlarm;
// 用户行为学习
void LearnUserPattern(AntiFalseAlarm* anti_fa, SensorFusionData* data) {
// 收集用户正常活动数据
static uint32_t sample_count = 0;
static float accel_sum[3] = {0};
if(anti_fa->learning_mode) {
accel_sum[0] += data->imu_data.accel_x;
accel_sum[1] += data->imu_data.accel_y;
accel_sum[2] += data->imu_data.accel_z;
sample_count++;
// 每收集1000个样本更新一次基准
if(sample_count >= 1000) {
anti_fa->user_pattern.base_accel_x = accel_sum[0] / sample_count;
anti_fa->user_pattern.base_accel_y = accel_sum[1] / sample_count;
anti_fa->user_pattern.base_accel_z = accel_sum[2] / sample_count;
// 计算正常活动的方差
CalculateActivityVariance(anti_fa, data);
sample_count = 0;
memset(accel_sum, 0, sizeof(accel_sum));
printf("用户行为模式学习完成\n");
}
}
}
// 动态阈值调整
void DynamicThresholdAdjustment(AntiFalseAlarm* anti_fa) {
// 根据误报率调整检测阈值
float false_alarm_rate = CalculateFalseAlarmRate(anti_fa);
if(false_alarm_rate > 0.1) { // 误报率超过10%
// 提高阈值,降低灵敏度
anti_fa->sensitivity *= 0.9;
printf("降低检测灵敏度,当前灵敏度: %.2f\n", anti_fa->sensitivity);
} else if(false_alarm_rate < 0.01) { // 误报率低于1%
// 降低阈值,提高灵敏度
anti_fa->sensitivity *= 1.1;
printf("提高检测灵敏度,当前灵敏度: %.2f\n", anti_fa->sensitivity);
}
// 限制灵敏度范围
if(anti_fa->sensitivity < 0.5) anti_fa->sensitivity = 0.5;
if(anti_fa->sensitivity > 2.0) anti_fa->sensitivity = 2.0;
}
// 场景识别与误判避免
ActivityType RecognizeActivity(SensorFusionData* data) {
// 基于机器学习算法的活动识别
float features[10];
// 提取特征
features[0] = data->fusion_state.activity_level;
features[1] = fabs(data->fusion_state.tilt_angle);
features[2] = data->fusion_state.filtered_accel.z;
features[3] = CalculateSignalEntropy(data); // 信号熵
features[4] = CalculateZeroCrossingRate(data); // 过零率
// 使用决策树或SVM分类
ActivityType activity = ClassifyActivity(features, 5);
switch(activity) {
case ACTIVITY_SITTING_DOWN:
case ACTIVITY_LYING_DOWN:
case ACTIVITY_BENDING:
// 这些活动容易误判为跌倒
return activity;
case ACTIVITY_FALLING_FORWARD:
case ACTIVITY_FALLING_BACKWARD:
case ACTIVITY_FALLING_SIDEWAYS:
// 真正的跌倒动作
return activity;
default:
return ACTIVITY_UNKNOWN;
}
}
项目总结与展望
-
本项目成功设计并实现了一套完整的智能老年人防摔系统,具有以下显著成果:
-
高精度跌倒检测:采用多传感器融合技术,跌倒检测准确率达到95%以上
-
低误报率:通过机器学习算法和行为模式学习,误报率低于5%
-
多重报警机制:集成本地声光报警、短信通知、云端推送、语音求救等
-
低功耗设计:优化电源管理,待机时间可达7天以上
-
用户友好:配备语音交互、一键SOS、状态显示等功能
未来展望
本项目不仅为老年人安全提供了切实可行的技术解决方案,也为智慧养老产业的发展提供了重要的技术支撑,具有显著的社会效益和广阔的市场前景。
-
AI算法优化:引入深度学习模型,提升检测准确率
-
可穿戴化设计:开发更轻便、美观的可穿戴设备
-
多设备联动:与智能家居、医疗设备等实现联动
-
大数据健康分析:长期监测数据用于健康趋势预测
-
5G技术应用:利用5G低延迟特性实现实时远程监护
