目录
一、网络层
1,IP协议

路由:在复杂的网络环境中确定一个合适的路径;
主机: 配有IP地址, 但是不进行路由控制的设备;
路由器: 即配有IP地址, 又能进行路由控制;
节点: 主机和路由器的统称;
(1)协议头格式

4位版本号(version): 指定IP协议的版本, 对于IPv4来说, 就是4.
4位头部长度(header length): IP头部的长度是多少个32bit, 也就是length * 4 的字节数. 4bit表示最大 的数字是15, 因此IP头部最大长度是60字节.
8位服务类型(Type Of Service): 3位优先权字段(已经弃用), 4位TOS字段, 和1位保留字段(必须置为0). 4位TOS分别表示: 最小延时, 最大吞吐量, 最高可靠性, 最小成本. 这四者相互冲突, 只能选择一个. 对于ssh/telnet这样的应用程序, 最小延时比较重要; 对于ftp这样的程序, 最大吞吐量比较重要.
16位总长度(total length): IP数据报整体占多少个字节.
16位标识(id): 唯一的标识主机发送的报文. 如果IP报文在数据链路层被分片了, 那么每一个片里面的这个 id都是相同的.
3位标志字段: 第一位保留(保留的意思是现在不用, 但是还没想好说不定以后要用到).第二位置为1表示禁 止分片, 这时候如果报文长度超过MTU, IP模块就会丢弃报文. 第三位表示"更多分片", 如果分片了的话, 最后一个分片置为1, 其他是0. 类似于一个结束标记.
13位分片偏移(framegamentoffset): 是分片相对于原始IP报文开始处的偏移. 其实就是在表示当前分片 在原报文中处在哪个位置. 实际偏移的字节数是这个值* 8 得到的. 因此, 除了最后一个报文之外, 其他报 文的长度必须是8的整数倍(否则报文就不连续了).
8位生存时间(Time To Live, TTL): 数据报到达目的地的最大报文跳数. 一般是64. 每次经过一个路由, TTL -= 1, 一直减到0还没到达, 那么就丢弃了. 这个字段主要是用来防止出现路由循环.
8位协议: 表示上层协议的类型.
16位头部校验和: 使用CRC进行校验, 来鉴别头部是否损坏.
32位源地址和32位目标地址: 表示发送端和接收端.
0-40字节的选项字段: 略.
(2)网段划分
IP地址:32位地址,分为两个部分,网络号和主机号;
网络号: 保证相互连接的两个网段具有不同的标识;
主机号: 同一网段内, 主机之间具有相同的网络号, 但是必须有不同的主机号;

不同的子网其实就是把网络号相同的主机放到一起.
如果在子网中新增一台主机, 则这台主机的网络号和这个子网的网络号一致, 但是主机号必须不能和子网中的其他主机重复.
需要通过合理设置主机号和网络号, 就可以保证在相互连接的网络中, 每台主机的IP地址都不相同.
那么问题来了, 手动管理子网内的IP, 是一个相当麻烦的事情,该怎么解决呢?
有一种技术叫做DHCP, 能够自动的给子网内新增主机节点分配IP地址, 避免了手动管理IP的不便.
一般的路由器都带有DHCP功能. 因此路由器也可以看做一个DHCP服务器.
过去曾经提出一种划分网络号和主机号的方案, 把所有 IP 地址分为五类, 如下图所示:

随着Internet的飞速发展,这种划分方案的局限性很快显现出来,大多数组织都申请B类网络地址, 导致B类地址很快就 分配完了, 而A类却浪费了大量地址;
例如, 申请了一个B类地址, 理论上一个子网内能允许6万5千多个主机. A类地址的子网内的主机数更多. 然而实际网络架设中, 不会存在一个子网内有这么多主机的情况. 因此大量的IP地址都被浪费掉了.
针对这种情况提出了新的划分方案, 称为CIDR(Classless Interdomain Routing):

引入一个额外的子网掩码(subnet mask)来区分网络号和主机号;
子网掩码也是一个32位二进制的正整数. 通常用一串"0"来结尾;
将IP地址和子网掩码进行"按位与" 操作, 得到的结果就是网络号;
网络号和主机号的划分与这个IP地址是A类、 B类还是C类无关;
子网掩码是 32 位二进制数,其中连续的 "1" 表示网络位(用于标识网络),后续的 "0" 表示主机位(用于标识网络内的主机)。
网络号 = IP 地址的二进制 与 子网掩码的二进制 按位与运算(规则:1&1=1,1&0=0,0&0=0)。
主机号 = IP 地址的二进制中,子网掩码对应 "0" 的位(即仅保留 IP 地址的主机位部分)。
(3)特殊的IP地址

将IP地址中的主机地址全部设为0, 就成为了网络号, 代表这个局域网;
将IP地址中的主机地址全部设为1, 就成为了广播地址, 用于给同一个链路中相互连接的所有主机发送数据包;
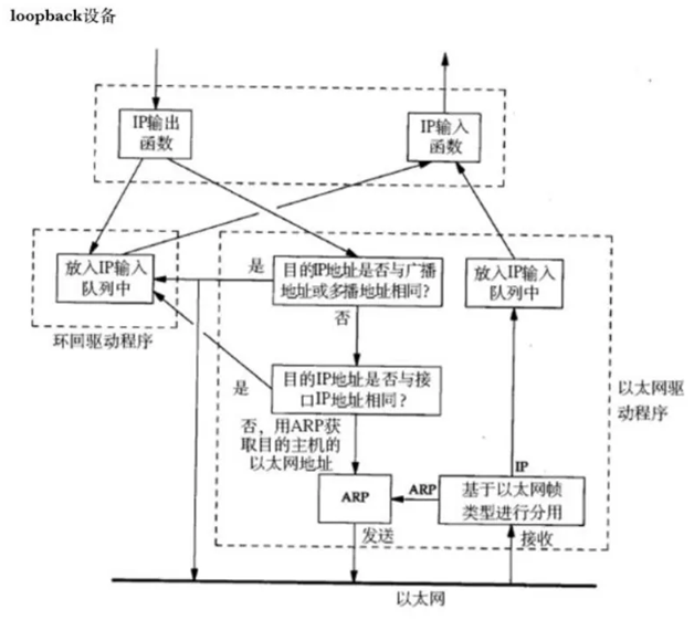
例如127.*的IP地址用于本机环回(loop back)测试,通常是127.0.0.1
(4)IP地址的数量限制
我们知道, IP地址(IPv4)是一个4字节32位的正整数. 那么一共只有2的32次方个IP地址, 大概是43亿左右. 而TCP/IP 协议规定, 每个主机都需要有一个IP地址.
这意味着, 一共只有43亿台主机能接入网络么?
实际上, 由于一些特殊的IP地址的存在, 数量远不足43亿; 另外IP地址并非是按照主机台数来配置的, 而是每一个网卡都需要配置一个或多个IP地址.
CIDR在一定程度上缓解了IP地址不够用的问题(提高了利用率, 减少了浪费, 但是IP地址的绝对上限并没有增加), 仍然不是很够用. 这时候有三种方式来解决:
动态分配IP地址: 只给接入网络的设备分配IP地址. 因此同一个MAC地址的设备, 每次接入互联网中, 得到的IP地址不一定是相同的;
NAT技术:(后面会重点介绍);
IPv6: IPv6并不是IPv4的简单升级版. 这是互不相干的两个协议, 彼此并不兼容; IPv6用16字节128位来表示一个IP地址; 但是目前IPv6还没有完全普及;
(5)私有IP地址和公网IP地址
如果一个组织内部组建局域网,IP地址只用于局域网内的通信,而不直接连到Internet上,理论上使用任意的IP地址都可以,但是RFC 1918规定了用于组建局域网的私有IP地址格式。
10.*,前8位是网络号,共16,777,216个地址
172.16.到172.31.,前12位是网络号,共1,048,576个地址
192.168.*,前16位是网络号,共65,536个地址
包含在这个范围中的, 都成为私有IP, 其余的则称为全局IP(或公网IP);

2,路由
(1)理解路由
路由:在复杂的网络结构中, 找出一条通往终点的路线;
路由的过程:就是这样一跳一跳(Hop by Hop) "问路" 的过程.
所谓"一跳" 就是数据链路层中的一个区间. 具体在以太网中指从源MAC地址到目的MAC地址之间的帧传输区间.

IP数据包的传输过程也和问路一样.
当IP数据包, 到达路由器时, 路由器会先查看目的IP;
路由器决定这个数据包是能直接发送给目标主机, 还是需要发送给下一个路由器;
依次反复, 一直到达目标IP地址;

路由表可以使用route命令查看;
如果目的IP命中了路由表, 就直接转发即可;
路由表中的最后一行,主要由下一跳地址和发送接口两部分组成,当目的地址与路由表中其它行都不匹配 时,就按缺省路由条目规定的接口发送到下一跳地址。
(2)查看路由表
假设,某主机上的网络接口配置和路由表如下:
[user@linux ~]$ route
DestinationUse Gateway Genmask Flags Metric Ref Use Iface
192.168.10.0 * 255.255.255.0 U 0 0 0 eth0
192.168.56.0 * 255.255.255.0 U 0 0 0 eth1
127.0.0.0 * 255.0.0.0 U 0 0 0 lo
default 192.168.10.1 0.0.0.0 UG 0 0 0 eth0
这台主机有两个网络接口,一个网络接口连到192.168.10.0/24网络,另一个网络接口连到
192.168.56.0/24网络;
路由表的Destination是目的网络地址,Genmask是子网掩码,Gateway是下一跳地址,Iface是发送接口,Flags中的U标志表示此条目有效(可以禁用某些条目),G标志表示此条目的下一跳地址是某个路由器的地址,没有G标志的条目表示目的网络地址是与本机接口直接相连的网络,不必经路由器转发;
(3)转发过程举例
转发过程例1:
如果要发送的数据包的目的地址是 192.168.56.3
跟第一行的子网掩码做与运算得到192.168.56.0,与第一行的目的网络地址不符
再跟第二行的子网掩码做与运算得到192.168.56.0,正是第二行的目的网络地址,因此从eth1接口发送出去;
由于192.168.56.0/24正是与eth1 接口直接相连的网络,因此可以直接发到目的主机,不需要经路由器转发;
转发过程例2: 如果要发送的数据包的目的地址是 202.10.1.2
依次和路由表前几项进行对比, 发现都不匹配;
按缺省路由条目, 从eth0接口发出去, 发往192.168.10.1路由器;
由192.168.10.1路由器根据它的路由表决定下一跳地址;
(4)路由表生成算法
路由表可以由网络管理员手动维护(静态路由), 也可以通过一些算法自动生成(动态路由).
一些常见的生成算法, 例如距离向量算法, LS算法, Dijkstra算法等.
二、数据链路层
1,以太网协议
"以太网" 不是一种具体的网络, 而是一种技术标准; 既包含了数据链路层的内容, 也包含了一些物理层的 内容. 例如: 规定了网络拓扑结构, 访问控制方式, 传输速率等;
例如以太网中的网线必须使用双绞线; 传输速率有10M, 100M, 1000M等;
以太网是当前应用最广泛的局域网技术; 和以太网并列的还有令牌环网, 无线LAN等;
(1)以太网帧格式

6字节目的地址/源地址字段,也是网卡的硬件地址(即48位MAC地址),是在网卡出厂时就已经设置好的固定值;
2字节帧协议类型字段,有三种值分别对应,IP(通信)、ARP(请求)、RARP(应答);
2字节帧末尾CRC校验码;
(2)认识MAC地址
MAC地址用来识别数据链路层中相连的节点;
长度为48位, 及6个字节. 一般用16进制数字加上冒号的形式来表示(例如: 08:00:27:03:fb:19);
在网卡出厂时就确定了, 不能修改. mac地址通常是唯一的(虚拟机中的mac地址不是真实的mac地址, 可 能会冲突; 也有些网卡支持用户配置mac地址);
IP地址描述的是路途总体的起点和终点;
MAC地址描述的是路途上的每一个区间的起点和终点;
(3)认识MTU
MTU是以太网帧中的最大数据长度,相当于发快递时对包裹尺寸的限制. 这个限制是不同的数据链路对应的物理层, 产生的限制;
以太网帧中的数据长度规定最小46字节,最大1500字节,ARP数据包的长度不够46字节,要在后面补填充位;
最大值1500称为以太网的最大传输单元(MTU),不同的网络类型有不同的MTU;
如果一个数据包从以太网路由到拨号链路上,数据包长度大于拨号链路的MTU了,则需要对数据包进行分 片(fragmentation);
不同的数据链路层标准的MTU是不同的;
(4)MTU对IP协议的影响
由于数据链路层MTU的限制, 对于较大的IP数据包要进行分包.

将较大的IP包分成多个小包, 并给每个小包打上标签;
每个小包IP协议头的16位标识(id) 都是相同的;
每个小包的IP协议头的3位标志字段中, 第2位置为0, 表示允许分片, 第3位来表示结束标记(当前是否是最 后一个小包, 是的话置为1, 否则置为0);
到达对端时再将这些小包, 会按顺序重组, 拼装到一起返回给传输层;
一旦这些小包中任意一个小包丢失, 接收端的重组就会失败. 但是IP层不会负责重新传输数据;
(5)MTU对UDP协议的影响
一旦UDP携带的数据超过1472(1500 - 20(IP首部) - 8(UDP首部)), 那么就会在网络层分成多个IP数据报.
这多个IP数据报有任意一个丢失, 都会引起接收端网络层重组失败. 那么这就意味着, 如果UDP数据报在网络层被分片, 整个数据被丢失的概率就大大增加了.
(6)MTU对TCP协议的影响
TCP的一个数据报也不能无限大, 还是受制于MTU. TCP的单个数据报的最大消息长度, 称为MSS(Max Segment Size);
TCP在建立连接的过程中, 通信双方会进行MSS协商.
最理想的情况下, MSS的值正好是在IP不会被分片处理的最大长度(这个长度仍然是受制于数据链路层的 MTU).
双方在发送SYN的时候会在TCP头部写入自己能支持的MSS值.
然后双方得知对方的MSS值之后, 选择较小的作为最终MSS.
MSS的值就保存在TCP首部的40字节变长选项中(kind=2);

(7)查看MTU和硬件地址
使用ifconfig命令, 即可查看ip地址, mac地址, 和MTU;
mtu(以太网帧中的最大数据长度)为1500字节
ether(以太网的MAC地址)为00:16:3e:16:97:0c
[user@iZwz9eoohx59fs5a6ampomZ ~]$ ifconfig
eth0: flags=4163<UP,BROADCAST,RUNNING,MULTICAST> mtu 1500
inet 172.17.17.112 netmask 255.255.192.0 broadcast 172.17.63.255
ether 00:16:3e:16:97:0c txqueuelen 1000 (Ethernet)
RX packets 14681550 bytes 2303263951 (2.1 GiB)
RX errors 0 dropped 0 overruns 0 frame 0
TX packets 13513103 bytes 7393358688 (6.8 GiB)
TX errors 0 dropped 0 overruns 0 carrier 0 collisions 0
2,ARP协议
ARP不是一个单纯的数据链路层的协议, 而是一个介于数据链路层和网络层之间的协议;
(1)ARP协议的作用
ARP协议建立了主机IP地址和MAC地址的映射关系.
在网络通讯时,源主机的应用程序知道目的主机的IP地址和端口号,却不知道目的主机的硬件地址;
数据包首先是被网卡接收到再去处理上层协议的,如果接收到的数据包的硬件地址与本机不符,则直接丢弃;
因此在通讯前必须获得目的主机的硬件地址;
(2)ARP协议的工作流程

源主机发出ARP请求,询问"IP地址是192.168.0.1的主机的硬件地址是多少", 并将这个请求广播到本地网段(以太网帧首部的硬件地址填FF:FF:FF:FF:FF:FF表示广播);
目的主机接收到广播的ARP请求,发现其中的IP地址与本机相符,则发送一个ARP应答数据包给源主机,将自 己的硬件地址填写在应答包中;
每台主机都维护一个ARP缓存表,可以用arp -a命令查看。缓存表中的表项有过期时间(一般为20分钟),如 果20分钟内没有再次使用某个表项,则该表项失效,下次还要发ARP请求来获得目的主机的硬件地址
[user@iZwz9eoohx59fs5a6ampomZ ~]$ arp -a
gateway (172.17.63.253) at ee:ff:ff:ff:ff:ff [ether] on eth0
? (169.254.169.254) at <incomplete> on eth0
(3)ARP数据报的格式

注意到源MAC地址、目的MAC地址在以太网首部和ARP请求中各出现一次,对于链路层为以太网的情况是多余的,但如果链路层是其它类型的网络则有可能是必要的;
硬件类型指链路层网络类型,1为以太网;
协议类型指要转换的地址类型,0x0800为IP地址;
硬件地址长度对于以太网地址为6字节;
协议地址长度对于和IP地址为4字节;
op字段为1表示ARP请求,op字段为2表示ARP应答;
3,DNS协议
DNS(Domain Name System)是一整套从域名映射到IP的系统。
(1)DNS背景
TCP/IP中使用IP地址和端口号来确定网络上的一台主机的一个程序,但是IP地址不方便记忆.
于是人们发明了一种叫主机名的东西,是一个字符串,并且使用hosts文件,来描述主机名和IP地址的关系.

最初,通过互连网信息中心(SRI-NIC),来管理这个hosts文件的.
如果一个新计算机要接入网络, 或者某个计算机IP变更, 都需要到信息中心申请变更hosts文件. 其他计算机也需要定期下载更新新版本的hosts文件才能正确上网.
但是,这样就太麻烦了, 于是产生了DNS系统.
一个组织的系统管理机构, 要维护系统内的每个主机的IP和主机名的对应关系;
如果新计算机接入网络, 将这个信息注册到数据库中;
用户输入域名的时候, 会自动查询DNS服务器, 由DNS服务器检索数据库, 得到对应的IP地址;
至今, 我们的计算机上仍然保留了hosts文件. 在域名解析的过程中仍然会优先查找hosts文件的内容.
可以通过cat /etc/hosts命令查看;
[user@iZwz9eoohx59fs5a6ampomZ ~]$ cat /etc/hosts
::1 localhost localhost.localdomain localhost6 localhost6.localdomain6
127.0.0.1 localhost localhost.localdomain localhost4 localhost4.localdomain4
172.16.16.113 iZwz9eoohx59fs5a6ampomZ iZwz9eoohx59fs5a6ampomZ
(2)域名简介
主域名是用来识别主机名称和主机所属的组织机构的一种分层结构的名称.
域名使用 . 连接
com: 一级域名. 表示这是一个企业域名. 同级的还有"net"(网络提供商), "org"(非盈利组织) 等.
baidu: 二级域名, 公司名.
www: 只是一种习惯用法. 之前人们在使用域名时, 往往命名成类似于ftp.xxx.xxx/www.xxx.xxx这样的格式, 来表示主机支持的协议.
(3)使用dig工具分析DNS过程
先使用yum install bind-utils命令,安装dig工具.
之后就可以使用dig www.baidu.com(域名)命令,查看域名解析过程了.
[user@iZwz9eoohx59fs5a6ampomZ ~]$ dig www.baidu.com
; <<>> DiG 9.11.4-P2-RedHat-9.11.4-26.P2.el7_9.16 <<>> www.baidu.com
;; global options: +cmd
;; Got answer:
;; ->>HEADER<<- opcode: QUERY, status: NOERROR, id: 24409
;; flags: qr rd ra; QUERY: 1, ANSWER: 3, AUTHORITY: 0, ADDITIONAL: 1
;; OPT PSEUDOSECTION:
; EDNS: version: 0, flags:; udp: 1436
;; QUESTION SECTION:
;www.baidu.com. IN A
;; ANSWER SECTION:
www.baidu.com. 3 IN CNAME www.a.shifen.com.
www.a.shifen.com. 3 IN A 183.2.172.17
www.a.shifen.com. 3 IN A 183.2.172.177
;; Query time: 0 msec
;; SERVER: 100.100.2.136#53(100.100.2.136)
;; WHEN: Thu Oct 30 11:04:38 CST 2025
;; MSG SIZE rcvd: 104
开头位置是dig 指令的版本号
第二部分是服务器返回的详情, 重要的是status 参数, NOERROR 表示查询成功
QUESTION SECTION 表示要查询的域名是什么
ANSWER SECTION 表示查询结果是什么. 这个结果先将www.baidu.com查询成了www.a.shifen.com, 再将 www.a.shifen.com 查询成了两个ip 地址.
最下面是一些结果统计, 包含查询时间和DNS 服务器的地址等.
4,ICMP协议
ICMP协议是一个网络层协议;
一个新搭建好的网络, 往往需要先进行一个简单的测试,来验证网络是否畅通;
但是IP协议并不提供可靠传输. 如果丢包了, IP协议并不能通知传输层是否丢包以及丢包的原因.
(1)ICMP功能
ICMP正是提供这种功能的协议; ICMP主要功能包括:
确认IP包是否成功到达目标地址;
通知在发送过程中IP包被丢弃的原因;
ICMP也是基于IP协议工作的. 但是它并不是传输层的功能, 因此人们仍然把它归结为网络层协议;
ICMP只能搭配IPv4使用. 如果是IPv6的情况下, 需要是用ICMPv6;

(2)ICMP的报文格式

ICMP大概分为两类报文:
一类是通知出错原因
一类是用于诊断查询

(3)ping命令
使用ping命令也可以测试网络是否通畅。
C:\Users\forest>ping www.baidu.com
正在 Ping www.a.shifen.com [183.240.99.224] 具有 32 字节的数据:
来自 183.240.99.224 的回复: 字节=32 时间=32ms TTL=53
来自 183.240.99.224 的回复: 字节=32 时间=37ms TTL=53
来自 183.240.99.224 的回复: 字节=32 时间=35ms TTL=53
来自 183.240.99.224 的回复: 字节=32 时间=35ms TTL=53
183.240.99.224 的 Ping 统计信息:
数据包: 已发送 = 4,已接收 = 4,丢失 = 0 (0% 丢失),
往返行程的估计时间(以毫秒为单位):
最短 = 32ms,最长 = 37ms,平均 = 34ms
注意, 此处ping 的是域名, 而不是url!一个域名可以通过DNS解析成IP地址.
ping命令不光能验证网络的连通性, 同时也会统计响应时间和TTL(IP包中的Time To Live, 生存周期).
ping命令会先发送一个ICMP Echo Request给对端;
对端接收到之后, 会返回一个ICMP Echo Reply;

(4)traceroute工具
traceroute工具也是基于ICMP协议实现的, 能够打印出可执行程序主机, 一直到目标主机之前经历多少路由器。记得先yum install traceroute安装工具。
[user@iZwz9eoohx59fs5a6ampomZ ~]$ traceroute www.baidu.com
traceroute to www.baidu.com (183.2.172.177), 30 hops max, 60 byte packets
1 26.28.9.2 (26.28.9.2) 5.473 ms 5.787 ms 5.679 ms
2 11.73.30.81 (11.73.30.81) 5.113 ms 26.25.172.146 (26.25.172.146) 5.144 ms 11.73.30.49 (11.73.30.49) 4.458 ms
3 26.25.172.49 (26.25.172.49) 5.398 ms 26.25.172.73 (26.25.172.73) 5.383 ms 26.25.172.49 (26.25.172.49) 6.213 ms
4 10.216.161.109 (10.216.161.109) 5.055 ms 10.216.161.73 (10.216.161.73) 4.637 ms 10.216.161.77 (10.216.161.77) 4.499 ms
5 10.216.153.34 (10.216.153.34) 6.173 ms 10.216.153.30 (10.216.153.30) 10.992 ms 10.216.153.42 (10.216.153.42) 5.354 ms
6 113.96.60.105 (113.96.60.105) 4.757 ms * *
7 183.2.182.181 (183.2.182.181) 6.540 ms 183.2.182.173 (183.2.182.173) 6.110 ms 6.420 ms
8 119.147.221.237 (119.147.221.237) 7.324 ms * *
9 113.96.5.138 (113.96.5.138) 9.231 ms 9.739 ms 113.96.5.94 (113.96.5.94) 11.170 ms
10 14.29.117.178 (14.29.117.178) 16.140 ms 14.29.117.170 (14.29.117.170) 16.983 ms 11.245 ms
11 * * *
12 * * *
13 * * *
5,NAT技术
(1)NAT技术背景
之前我们讨论了, IPv4协议中, IP地址数量不充足的问题;
NAT技术是当前解决IP地址不够用的主要手段, 是路由器的一个重要功能;
NAT能够将私有IP对外通信时转为全局IP,也就是就是一种将私有IP和全局IP相互转化的技术方法;
学校/家庭/公司内部采用每个终端设置私有IP, 而在路由器或必要的服务器上设置全局IP;
全局IP要求唯一, 但是私有IP不需要; 不同的局域网中出现相同的私有IP是完全不影响的;
(2)NAT的IP转换过程

NAT路由器将源地址从10.0.0.10替换成全局的IP 202.244.174.37;
NAT路由器收到外部的数据时, 又会把目标IP从202.244.174.37替换回10.0.0.10;
在NAT路由器内部, 有一张自动生成的, 用于地址转换的表;
当10.0.0.10 第一次向163.221.120.9 发送数据时就会生成表中的映射关系;
(3)NAPT的port映射
那么问题来了, 如果局域网内, 有多个主机都访问同一个外网服务器, 那么对于服务器返回的数据中, 目的IP都是相同的. 那么NAT路由器如何判定将这个数据包转发给哪个局域网的主机?
NAPT技术就是来解决这个问题的,使用IP+port来建立这个关联关系;

这种关联关系也是由NAT路由器自动维护的. 例如在TCP的情况下, 建立连接时, 就会生成这个表项; 在断开连接后, 就会删除这个表项。
(4)NAT技术的缺陷
由于NAT依赖这个转换表, 所以有诸多限制:
无法从NAT外部向内部服务器建立连接;
装换表的生成和销毁都需要额外开销;
通信过程中一旦NAT设备异常, 即使存在热备, 所有的TCP连接也都会断开;
(5)NAT与代理服务器
路由器往往都具备NAT设备的功能, 通过NAT设备进行中转, 完成子网设备和其他子网设备的通信过程.
代理服务器看起来和NAT设备有一点像. 客户端向代理服务器发送请求, 代理服务器将请求转发给真正要请求的服务器;
服务器返回结果后, 代理服务器又把结果回传给客户端.
那么NAT和代理服务器的区别有哪些呢?
从应用上讲, NAT设备是网络基础设备之一, 解决的是IP不足的问题. 代理服务器则是更贴近具体应用, 比如通过代理服务器进行翻墙, 另外像迅游这样的加速器, 也是使用代理服务器.
从底层实现上讲, NAT是工作在网络层, 直接对IP地址进行替换. 代理服务器往往工作在应用层.
从使用范围上讲, NAT一般在局域网的出口部署, 代理服务器可以在局域网做, 也可以在广域网做, 也可以跨网.
从部署位置上看, NAT一般集成在防火墙, 路由器等硬件设备上, 代理服务器则是一个软件程序, 需要部署 在服务器上.
代理服务器是一种应用比较广的技术.
翻墙: 就是做广域网中的代理.
负载均衡: 就是做局域网中的代理.
代理服务器又分为正向代理和反向代理.
正向代理用于请求的转发(例如借助代理绕过反爬虫).
反向代理往往作为一个缓存.
6,网络总结
(1)数据链路层
数据链路层的作用: 两个设备(同一种数据链路节点)之间进行传递数据
以太网是一种技术标准; 既包含了数据链路层的内容, 也包含了一些物理层的内容. 例如: 规定了网络拓扑 结构, 访问控制方式, 传输速率等;
以太网帧格式
理解mac地址
理解arp协议
理解MTU
(2)网络层
网络层的作用: 在复杂的网络环境中确定一个合适的路径.
理解IP地址, 理解IP地址和MAC地址的区别.
理解IP协议格式.
了解网段划分方法
理解如何解决IP数目不足的问题, 掌握网段划分的两种方案. 理解私有IP和公网IP
理解网络层的IP地址路由过程. 理解一个数据包如何跨越网段到达最终目的地.
理解IP数据包分包的原因.
了解ICMP协议.
了解NAT设备的工作原理.
(3)传输层
传输层的作用: 负责数据能够从发送端传输接收端.
理解端口号的概念.
认识UDP协议, 了解UDP协议的特点.
认识TCP协议, 理解TCP协议的可靠性. 理解TCP协议的状态转化.
掌握TCP的连接管理, 确认应答, 超时重传, 滑动窗口, 流量控制, 拥塞控制, 延迟应答, 捎带应答特性.
理解TCP面向字节流, 理解粘包问题和解决方案.
能够基于UDP实现可靠传输.
理解MTU对UDP/TCP的影响.
(4)应用层
应用层的作用: 满足我们日常需求的网络程序, 都是在应用层
能够根据自己的需求, 设计应用层协议.
了解HTTP协议.
理解DNS的原理和工作流程.