一、绪论
在素质教育全面推进与高等教育信息化深度发展的背景下,传统纸质化大学生素质测评模式逐渐暴露诸多弊端:评分标准不统一、人工计算误差大、数据存储与检索繁琐、结果公正性易受主观因素影响,已难以满足现代高校精细化管理与人才培养的需求。为解决上述问题,本项目设计开发大学生素质测评系统,旨在通过数字化、智能化手段重构测评流程,实现从"单一分数评价"向"德智体美劳全面评价"的转型。
系统基于B/S架构设计,采用Spring Boot、Vue.js等主流技术栈,集成学生管理、素质测评、成绩管理、招聘对接等核心功能,构建了科学、高效、公平的素质评价体系。通过明确思想成长、科学文化、实践实习三大测评维度及细分指标,结合自动化评分算法,系统可快速生成学生综合素质得分与个性化改进建议,既为学校提供精准的人才培养数据支撑,也为用人单位输送真实可靠的人才能力证明,同时降低管理成本、提升办公效率,助力高校教育管理信息化升级。
二、相关技术
1. 架构模式
B/S架构:Browser/Server(浏览器/服务器)架构,用户无需安装客户端,通过浏览器即可便捷访问系统,降低分发与维护成本,支持跨平台(Windows、Linux等)运行,适配多终端使用场景。
2. 核心技术栈
| 技术类别 | 具体技术/框架 | 应用说明 |
|---|---|---|
| 后端技术 | Java + Spring Boot + Spring MVC | 实现业务逻辑开发,Spring MVC实现表现层与业务层分离,Spring Boot简化配置、快速构建项目 |
| 前端技术 | Vue.js + HTML5 + CSS3 + JavaScript | 构建动态交互界面,Vue.js的组件化开发提升代码复用性与维护性,HTML5+CSS3实现界面美化与响应式设计 |
| 数据库技术 | MySQL + Redis | MySQL作为主数据库,存储学生信息、测评数据、课程成绩等结构化数据;Redis作为缓存数据库,提升高频数据读写性能,优化系统响应速度 |
| 开发与管理工具 | Maven3.6.1 + JDK1.8 + Navicat | Maven用于项目依赖管理与构建,JDK1.8提供开发运行环境,Navicat实现MySQL数据库可视化管理(数据建模、查询、备份等) |
3. 技术优势
后端:Spring Boot框架简化配置,支持快速开发与部署;Spring MVC的分层设计提升代码可维护性;Redis缓存减少数据库访问压力,提高系统并发处理能力。
前端:Vue.js的响应式数据绑定与组件化架构,实现界面与数据的高效联动,提升用户操作体验。
数据库:MySQL开源免费、稳定性强,支持海量数据存储;Redis基于内存存储,读写速度远超传统数据库,适配高并发场景。
三、功能设计
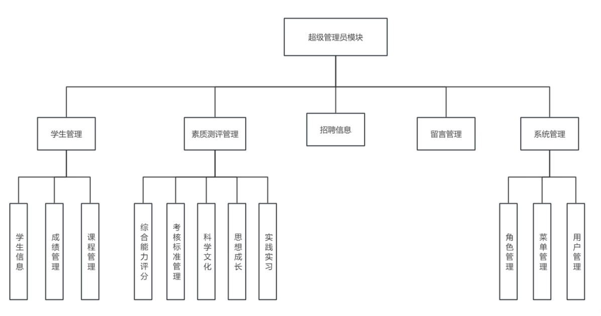
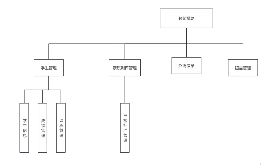
系统采用模块化设计,支持超级管理员、教师、学生、用人单位四类角色,各角色权限清晰、功能协同,系统模块划分如下图所示,并介绍如下核心模块:

1. 登录与权限管理模块
核心功能:用户身份认证(账号密码校验)、角色权限分配、登录状态维护;
流程:用户输入账号密码→系统校验 credentials→根据角色(管理员/教师/学生/用人单位)跳转至对应功能界面,限制非权限内操作。
2. 学生管理模块
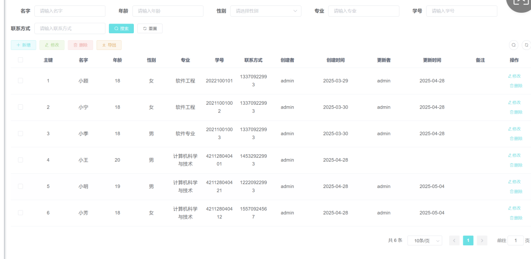
学生信息管理:支持学生基础信息(姓名、学号、专业、联系方式等)的增删改查,教师/管理员可批量导入/导出数据,学生仅可修改个人信息;
课程管理:教师添加、编辑、删除课程(课程名称、学分、任课教师等),学生查询已选课程详情;
成绩管理:教师录入、修改学生课程成绩,支持批量导入;学生查询个人成绩,成绩数据同步至科学文化素质测评维度。
3. 素质测评管理模块
测评指标体系:涵盖思想成长(20%)、科学文化(60%)、实践实习(20%)三大维度,各维度包含细分指标(如思想表现、学习成绩、实习经历等);
评分计算:按公式「综合得分=思想成长得分×20%+科学文化得分×60%+实践实习得分×20%」自动计算,生成优秀/良好/合格/需加强四级评级;
个性化建议:根据各维度得分短板,自动生成针对性改进建议;
考核标准管理:教师/管理员可动态调整测评指标、加减分规则与权重。
4. 辅助功能模块
通知公告:管理员/教师发布测评安排、校园通知等,所有用户可检索查看;
招聘信息:用人单位发布岗位信息(企业名称、学历要求、工作地点等),学生查询适配岗位;
留言板:用户发布留言、交流问题,管理员/教师回复管理;
用户管理:超级管理员管理所有用户账号(新增、禁用、权限修改),支持角色与菜单配置。
角色功能矩阵
| 角色 | 核心功能 |
|---|---|
| 超级管理员 | 全功能权限,含系统配置、用户管理、所有模块数据维护 |
| 教师 | 学生信息管理、成绩录入、考核标准调整、测评数据查询 |
| 学生 | 个人信息维护、参与素质测评、查询成绩与测评结果、查看招聘信息 |
| 用人单位 | 发布/管理招聘信息、查看学生综合素质评价报告 |
四个角色的设计流程如下:



四、数据设计
1. 数据库选型
主数据库:MySQL,存储结构化业务数据,支持事务、索引优化,保障数据一致性与可靠性;
缓存数据库:Redis,缓存高频访问数据(如用户登录状态、测评指标规则),提升系统响应速度。
2. 核心实体与ER关系
系统核心实体包括学生信息、课程管理、综合能力评分、招聘信息、成绩管理、考核标准管理等10大实体,关键实体关系如下:
学生与综合能力评分:1:1(一名学生对应一份综合测评结果);
教师与课程管理:1:n(一名教师可教授多门课程);
用人单位与招聘信息:1:n(一家用人单位可发布多个岗位);
角色与用户:1:n(一个角色可分配给多名用户)。
3. 核心数据库表设计
(1)学生信息表(student_info)
| 字段名 | 数据类型 | 允许空值 | 说明 |
|---|---|---|---|
| id | Bigint | N | 主键ID(唯一标识) |
| name | varchar | Y | 学生姓名 |
| age | int | Y | 年龄 |
| sex | char | Y | 性别 |
| profession | varchar | Y | 专业 |
| student_number | varchar | Y | 学号(唯一) |
| phone_number | varchar | Y | 联系方式 |
| remark | varchar | Y | 备注 |
(2)综合能力评分表(comprehensive_ability_score)
| 字段名 | 数据类型 | 允许空值 | 说明 |
|---|---|---|---|
| id | Bigint | N | 主键ID |
| name | varchar | Y | 学生姓名 |
| student_number | varchar | Y | 学号(关联学生信息表) |
| ideology_morality_mark | varchar | Y | 思想成长得分 |
| scientific_cultural_quality_mark | varchar | Y | 科学文化得分 |
| practical_skill_mark | varchar | Y | 实践实习得分 |
| composite_score | decimal | Y | 综合得分 |
| comment | varchar | Y | 个性化评语 |
| remark | varchar | Y | 备注 |
(3)考核标准管理表(assessment_standard_maintenance)
| 字段名 | 数据类型 | 允许空值 | 说明 |
|---|---|---|---|
| id | Bigint | N | 主键ID |
| category_assessment | varchar | Y | 考核大类(思想成长/科学文化/实践实习) |
| assessment_subclass | varchar | Y | 考核小类(如思想表现、学习成绩) |
| Content_scoring_criteria | varchar | Y | 评分标准内容 |
| mark | int | Y | 加减分数值 |
| remark | varchar | Y | 备注 |
(4)招聘信息表(job_listings)
| 字段名 | 数据类型 | 允许空值 | 说明 |
|---|---|---|---|
| id | Bigint | N | 主键ID |
| enterprise_name | varchar | Y | 企业名称 |
| job_title | varchar | Y | 岗位名称 |
| educational_requirement | varchar | Y | 学历要求 |
| work_type | varchar | Y | 工作类型(全职/兼职) |
| work_experience | varchar | Y | 工作经验要求 |
| work_place | varchar | Y | 工作地点 |
| position_status | varchar | Y | 职位状态(招聘中/已截止) |
4. 数据流程
数据录入:教师录入学生成绩、课程信息;学生填写测评问卷;用人单位发布招聘信息;
数据处理:系统根据测评规则自动计算综合得分,Redis缓存高频访问数据;
数据存储:结构化数据持久化至MySQL,缓存数据存储至Redis;
数据查询:用户通过功能模块检索数据,优先从Redis获取缓存数据,未命中则查询MySQL并更新缓存。
五、部分效果展示
1. 系统登录界面

功能说明:用户输入账号密码完成身份认证,支持"记住密码"功能,密码错误或未填写时给出明确提示。
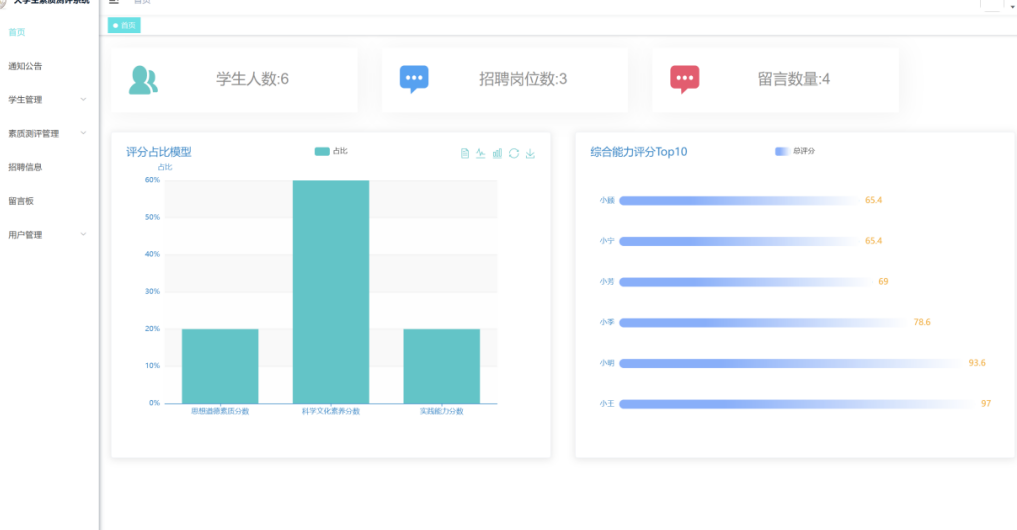
2. 系统主界面

界面布局:左侧折叠菜单(包含所有功能模块),右侧展示核心数据(学生人数、招聘岗位数、评分占比模型、综合评分Top10);
特色:数据可视化展示,直观呈现系统核心运行状态。
3. 综合能力评分界面

功能说明:展示学生姓名、学号、三大维度得分、综合得分及评语,支持新增测评、删除数据、导出报表操作;
亮点:实时显示测评结果,支持按学生姓名、学号检索。
4. 招聘信息界面

功能说明:展示企业名称、岗位名称、学历要求、工作经验等信息,支持按企业名称、岗位名称、工作地点筛选检索;
权限:用人单位可新增、修改、删除自有发布的岗位信息,学生仅可查看。
5. 用户管理界面

功能说明:用户管理模块功能包括用户管理、角色管理、菜单管理、部门管理等模块。
六、结尾
大学生素质测评系统作为完整的毕业设计成果,从需求分析、技术选型、架构设计到功能实现、效果验证均形成了完整的闭环,且所有代码均已实际编写、调试并提交审核,已经充分验证了系统的可行性与稳定性。
这个系统符合高校毕业设计的学术规范与要求可为相关专业学弟学妹提供毕业设计思路参考,也能为有同类系统开发需求的朋友提供切实可用的技术借鉴。
目前该系统已实现全部核心功能,运行流畅,配套有完整的前后端源码、数据库脚本、配置文档及使用教程。如果您对本大学生素质测评系统感兴趣,想要获取验证可行的完整源码、深入探讨技术细节或借鉴毕业设计框架,欢迎随时私信我进行交流对接!