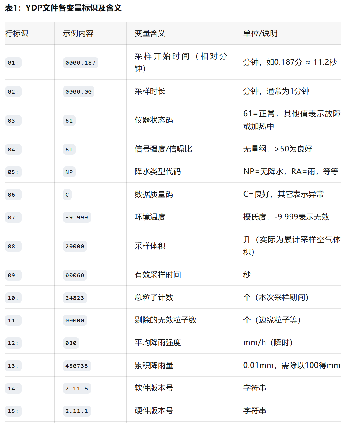
二、计算原理(物理概念解释)
2.1 激光雨滴谱仪的工作原理
激光雨滴谱仪采用消光法测量雨滴。仪器发射一道水平方向的近红外激光束(波长780 nm),当雨滴垂直穿过光束时,会遮挡部分光线。通过分析接收器上光强信号的衰减幅度和衰减持续时间,可以分别反演出雨滴的直径和下落速度。仪器以每分钟为周期,对穿过采样区的所有雨滴进行分类统计,输出32个直径通道和32个速度通道的粒子计数。
2.2 粒径通道的划分
为覆盖0.062 mm至24.5 mm的雨滴直径范围,仪器采用对数等间隔方式划分32个通道。每个通道的中值直径按几何级数递增,计算公式为:第 i 通道的中值直径(毫米)等于 0.125 乘以 2 的 ((i-1)/2) 次方。这样可以更好地分辨小粒径雨滴的细微差异。
2.3 降雨强度的物理意义
降雨强度 R 定义为单位时间内通过单位水平面积的雨水体积,单位是毫米每小时。其计算思路为:先求出每个粒径通道中所有雨滴的个体体积(球体体积公式:六分之π乘以直径的立方),乘以下落速度,再乘以该通道的粒子数浓度,得到该通道对降雨强度的贡献。然后将32个通道的贡献求和,最后乘以3600(将每秒的流量换算为每小时的毫米深度)。即:降雨强度(毫米每小时)等于 π/6 乘以所有通道(粒子数浓度 × 直径³ × 下落速度)的总和,再乘以3600。
2.4 雷达反射率因子的物理意义
雷达反射率因子 Z 是气象雷达方程中的核心参数,表征云雨粒子群对电磁波的后向散射能力。它与粒子直径的六次方成正比,因此对大滴极为敏感。其计算公式为:Z 等于所有通道的(粒子数浓度 × 直径的六次方)的总和。实际应用中常用对数形式:dBZ 等于 10 乘以 Z 的常用对数。
2.5 雨滴理论末速度(Atlas & Ulbrich 公式)
在静止大气中,雨滴的下落末速度主要取决于其直径,受重力与空气阻力平衡控制。经验公式为:理论末速度(米每秒)等于 9.65 减去 10.3 乘以 e 的 (-0.6 倍直径) 次方,其中直径以毫米为单位。该公式可用于验证实测数据的合理性。
2.6 累计降雨量的计算
累计降雨量是对时间序列降雨强度进行积分(累加)得到。由于原始数据为分钟采样,每分钟的降雨量贡献为:该分钟降雨强度除以60(单位毫米)。逐分钟累加即可得到从观测开始到任一时刻的总降雨量。
详细文章观看点击文章链接 雨滴谱数据深度解析------从原始变量到科学产品的Python实现【下篇】

