近期,工信部、发改委、市监局等九部门联合印发了《推动物联网产业创新发展行动方案(2026---2028年)》------方案明确提出要推动物联网产业创新发展,进一步加速物联网技术全面融入生产、消费和社会治理各领域,促进数字经济和实体经济深度融合,助力发展新质生产力;
到2028年,要培育打造10个亿级连接和15个千万级连接的应用领域,物联网终端连接数力争达到百亿级规模,物联网核心产业规模突破3.5万亿元。

其中,Sub-GHz射频芯片作为计量表计、传感器、资产追踪、工业自动化、安防报警与车载电子等各类IoT终端,实现无线信号传输的核心硬件载体,是构建"万物互联"世界的底层通信"基石";
另外,凭借着低功耗、强绕射、强穿透、抗干扰等核心优势,Sub-GHz射频芯片还精准契合了物联网产业对大连接、广覆盖、长续航的核心需求,是实现智慧城市、智慧农业与工业物联的底层基础单元。
Sub-GHz射频芯片,如何为计量表计搭建高效的无线集抄方案?
在智能计量领域,传统人工抄表方案不仅存在人力成本高、数据误差大与入户困难等行业痛点,更难以满足水务、燃气、电力、热力等公用事业运营主体对数据实时性、运维智能化的升级需求;
而当前,通过在各类智能计量表计中集成Sub-GHz射频芯片,即可为自动抄表(AMR/AMI)系统迅速搭建起一套从终端到云端的无线通信解决方案,从而高效完成各类能源消耗数据的统计与结算流程。

各类计量表计的无线集抄方案示意图
如上图所示,Sub-GHz射频芯片可灵活适配WM-Bus、LoRaWAN、Sidewalk等多种搭建LPWAN(低功耗广域网)的组网协议,并支持其他私有定制协议,可有效满足不同规模与不同场景下的无线集抄需求。
例如,在私人小区、小型园区等场景中,可采用星型拓扑,所有计量终端直接将数据上传至网关,架构简单、运维便捷,可适配LoRaWAN、WM-Bus等协议;
而在城中村、大型厂区等信号遮挡严重、终端分散的场景,可采用Mesh自组网拓扑,让终端之间互相中继转发数据,实现网络覆盖的无死角延伸,确保每一台表具的数据都能稳定回传。
此外,通过Sub-GHz射频芯片搭建的自动抄表系统,还能高效实现计量数据采集到云端管控的智能化运维流程------表具终端会通过Sub-GHz射频芯片将用量数据实时/高频次上传至网关,网关汇总后同步至云端服务器,最终在应用端平台完成数据存储、计费核算、异常告警、远程阀控等全流程操作,形成从数据采集、传输、分析、控制的完整通信闭环。
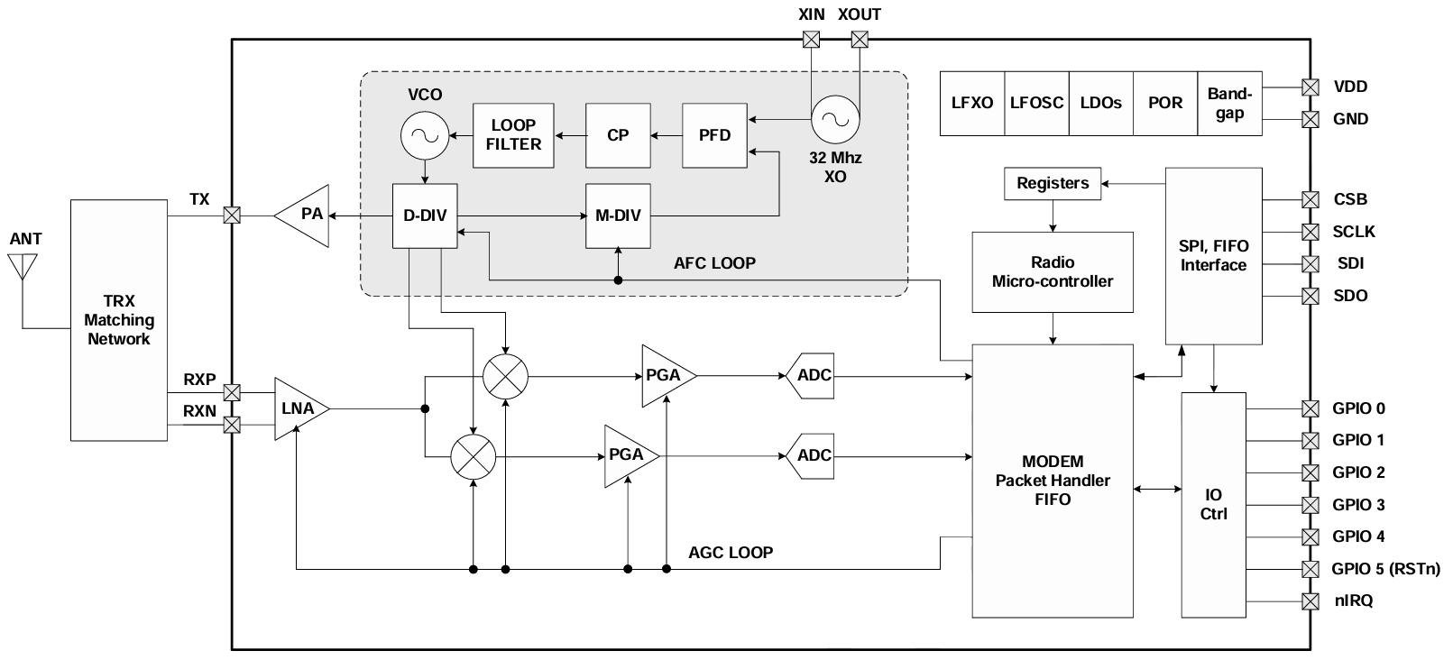
CMT2310A,超低功耗的Sub-GHz射频收发器
目前,依托成熟的射频链路优化能力与基带处理技术,行业内已涌现出多款面向物联网低功耗场景的专用射频收发器件,能从链路预算、抗干扰能力、功耗控制等维度,进一步强化无线抄表与泛物联网终端的通信稳定性。
例如,++++CMT2310A就是一款支持SPI接口、拥有多种特色收发功能、可有效提升物联网设备无线通信质量的数字模拟一体化收发机产品++++ ,其使用32MHz晶体提供PLL的参考频率和数字时钟,支持Direct和Packet两种数据处理模式,并具备高达+20dBm的发射功率和-122dBm的灵敏度,可极大地优化智能计量表计无线集抄的链路性能。

CMT2310A系统功能框图
如上述功能框图所示,CMT2310A采用了LNA+MIXER+IFFILTER+LIMITTER+PLL的低中频结构来实现1GHz以下频率的无线接收功能;
采用PLL+PA结构来实现1GHz以下频率的无线发射功能;CMT2310A不需要额外增加射频开关器件,就能达到很好的发射与接收射频性能。
值得一提的是,CMT2310A还支持快速稳定的自动频率校正(AFC)、三种不同特性的时钟恢复系统(CDR)、快速精准的有效信号监测(PJD,RSSI)、超低功耗(SLP)和Duty Cycle接收、快速发射或接收跳频、载波侦听多路访问(CSMA)、自动ACK和重发、天线分集等多种特色功能。
在自动频率控制(AFC)方面 ,CMT2310A具有业界顶尖的性能,相比起其他同类型产品,它能用更短的时间(8-10个symbol)去除TX和RX之间的频率差异,以达到更高的灵敏度,且在相同的带宽下,CMT2310A还可以识别出更大的频率差别。
在数据率时钟恢复(CDR)方面 ,CMT2310A支持COUNTING、TRACING、MANCHESTER三种时钟恢复系统,可在接收数据的同时恢复出与数据率同步的时钟信号;其中,TRACING系统可以承受高达15.6%的数据率偏差,这是业界其它同类产品无法做到的。
在相位跳变检测(PJD)方面 ,CMT2310A能通过观察接收信号的跳变特性,来识别接收的是噪声还是有用信号,以实现更可靠的通信质量,且在相同的接收窗口下,CMT2310A还可支持更灵活的跳变检测阈值配置,兼顾检测速度与判断可靠性。
注:更多、更具体的功能细节可前往华普微官网进行查阅