Heric 电路如图 1 所示。其中 S1 ~ S4 为 MOS 管, S5、S6 为 IGBT 管,D1、D2 为电网续流二极管,Ubus为 直流侧输入电压,Cbus为稳压电容,L1 为逆变器输出滤波电感,C0 为输出滤波电容,Ccm为寄生电容,设 输出滤波电感上流过的电流为 iL,共模电流为 icm, 该拓扑在电网侧加入两个续流开关管 S5、S6,在工作周期续流阶段实现直流侧与交流侧的隔离,从而抑制共模漏电流。

Heric 各个桥臂驱动信号如图 2 所示,S1 ~ S4 为高频信号,S5、S6 为低频信号。

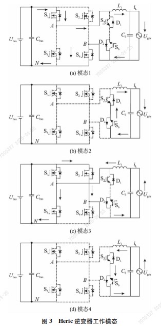
工作模态如图 3 所 示,Heric 逆变器有 4 个工作模态:
模态****1 电网电压大于零的半周期 S1、S4 和续 流管 S6 导通,电感电流 iL 回路为: 直流输入电源 Ubus正端→S1→L1→电网 Ugrid→S4→直流输入电源Ubus负端。此时,UAN =Ubus,UBN = 0。
模****态 2 电网电压大于零的续流阶段,开关管 S1和 S4 关断时,为维持电感电流连续,S5 的反并联二极 管 D1 导通续流,电感电流 iL 减小,经过的回路为: S6 →D1→L1→电网 Ugrid→S6。此时,UAN =UBN =Ubus /2。
模****态 3 电网电压小于零的半周期,S2、S3 和续 流管 S5 导通,电感电流 iL 增加且流经回路为直流输 入电源 Ubus正端→S2→电网 Ugrid→L1→S3→直流输 入电源 Ubus负端。此时,UAN = 0,UBN =Ubus。
模****态 4 当开关管 S2 和 S3 关断时,为维持电感 电流的连续,S6 的反并联二极管 D2 导通续流,电感 电流减小并且流经回路 S5→D2→电网 Ugrid→L1→ S5。此时,UAN =UBN =Ubus /2。
由上述模态分析可以得到,模态 1 和 3 中共模 电压 Ucm = 0.5 ( UAN + UBN ) ,模态 2 和 4 中 Ucm = 0.5Ubus,结合各模态时 UAN与 UBN的值,得到寄生电容 Ccm的电压 Ucm始终为 0.5Ubus,所以共模电流 icm基本为零,故 Heric 逆变器能抑制共模电流。
