小T导读:在洪涝频发的江西,江西水投打造了一套覆盖全域的智慧水利体系:实时采集水位、流量、水质等关键数据,借助 AI 与数字孪生进行动态推演,实现精准预警与智能调度。实践证明,这套系统让防汛从"事后抢险"变为"事前防控",大幅提升了治理效率与安全保障。TDengine TSDB 正是这套体系的"定海神针",承担起海量水情数据的实时采集、存储、处理与共享。本文由江西水投分享他们应用 TDengine TSDB 的相关经验,给到大家参考。
应用背景
江西作为长江流域五大暴雨区之首,受亚热带季风气候与鄱阳湖盆地地形影响,洪涝灾害频发且影响深远。几乎每年都有局部洪涝发生,较大规模灾害平均 3 至 5 年便会出现一次。仅 2024 年,全省就遭遇 33 次强降雨、14 次编号洪水,46 条河湖 117 个监测站点超警,鄱阳湖更创下 21 世纪以来第二高水位,超警时间长达 38 天。
在这样水情复杂的核心区域,江西水投正以物联网和 AI 技术重塑传统治水模式。江西省水利物联网平台整合物联网网关、数据中台与"五慧"AI 决策引擎,构建起覆盖 217 座水厂、服务近 2000 万人口的智慧治理网络。从蜂巢式智能测站织就的"神经末梢",到数字孪生峡江水利枢纽实现的防洪调度可视化,再到 DMA 分区计量将管网漏损精准锁定,这套系统以 80 万+ 设备的泛连接筑牢供水防线,更借助"慧算"模型延长洪水预见期,让科技成为守护鄱阳湖生态与长江经济带水安全的核心支撑。

江西省水利物联网平台不仅覆盖全省水厂和管网,更在关键环节部署了精细化的感知单元。
智能测站数据采集:实时感知现场状态
依托蜂巢式智能综合测站,平台能够实时采集水务现场的多维度数据,既包含环境参数(温度、湿度),也覆盖设施运行状态(风扇启停、箱门开关、机箱进水、立杆倾斜度),同时还可监测 MCU 模块、主控模块、电源模块等核心硬件的工况。

业务收益: 消除了传统水务监测的"数据盲区",为后续分析与告警提供实时、全面的数据源。从源头确保设施运行状态精准可感知,夯实了监测的及时性与准确性基础。
告警模型管理:精准识别异常风险
在告警模型管理模块中,系统可灵活配置多类型业务规则,包括超阈值告警、极值突破告警、水位/雨量异常告警、超警戒告警、对比校验告警等,并支持对模型的启用/停用及规则详情进行精细化管控。

业务收益: 通过差异化的告警规则,全面覆盖水位超限、雨量异常、设备参数越界等典型水务风险场景,使监测从"被动应对故障"升级为"主动识别风险",显著提升了异常发现的精准度与前瞻性,最大限度降低因异常未及时察觉而带来的安全隐患。
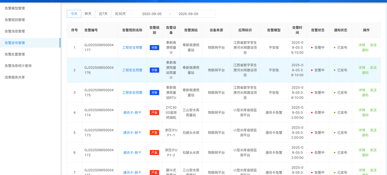
告警发布与全流程管理:高效推动应急处置
告警发布管理模块能够全要素记录并实时推送告警信息,涵盖告警编号、规则名称、级别、涉及设备/测站、时间、状态及通知情况,并支持"查看详情""发送通知"等操作,串联起"告警触发---信息发布---人员响应"的闭环流程。

业务收益: 运维人员和管理部门可第一时间掌握告警详情(严重程度、发生位置、关联设施等),大幅缩短应急响应时长;同时,全流程的告警记录为后续复盘与管理优化提供依据,使水务应急处置从"经验驱动"升级为"数据驱动",管理效率与规范性显著提升。
总结: 通过"采集---分析---处置"的智能化流程,系统既实现了对水务运行状态的全方位感知与精准预警,又全面提升了应急处置的效率与规范性,为水务系统的安全与稳定运行提供了坚实支撑。
TDengine TSDB 应用经验
**TDengine TSDB 正是这套系统的"定海神针",承担起实时数据采集、存储、处理与共享的核心任务。**在此,我们结合业务在 TDengine TSDB 平台上的落地实践,分享过去几年的应用经验。
时序数据库选型
在早期的业务系统中,我们曾使用 Oracle 作为物联网实时数据的存储底座。但随着时序数据规模的快速增长,Oracle 的瓶颈逐渐显现,已无法高效支撑我们的业务:
-
单表数据量达到千万级后,查询性能急剧下降,甚至出现无法响应的情况;
-
存量数据随时间累积持续膨胀,空间占用越来越大,存储成本直线提升。
为此,我们系统性调研了多款时序数据库,最终选择 TDengine TSDB,原因在于其具备以下核心优势:
-
高吞吐性能: 单核即可支撑每秒 50 万条数据的写入与查询,并支持水平扩展,业务高峰期依然稳定运行;
-
高压缩比: 数据压缩率可达 1:50,显著降低存储占用和成本;
-
国产化适配: 完全支持国产 CPU 与操作系统,提升系统的自主可控能力;
-
低成本拥有: 兼容标准 SQL,大幅降低迁移和学习成本。
标准化设备模型
此前使用 Oracle/MySQL 时,我们习惯将所有设备数据集中存储在一张表中,导致模型冗杂、治理困难。引入 TDengine TSDB 后,超级表的架构优势为数据存储与治理之间搭建起天然桥梁,使业务应用的高效性与数据管理的便捷性得以兼得。
-
标准化设备管理: 通过超级表模板,将同类设备统一建模,实现治理从源头落地;
-
标签化业务数据: 借助标签机制,将业务信息与数据信息有机融合,统一管理与应用;
-
并行化数据处理: 通过超级表查询充分发挥分布式数据库的优势,实现毫秒级响应。

以流量计为例,创建超级表 FlowMeter,即可对所有同类设备的数据进行标准化建模,简化了管理流程并提升了查询性能。
高效的数据查询
在 TDengine TSDB 中,各类设备的数据检索可直接通过标准 SQL 高效实现,不需要再像 Oracle 那样依赖复杂的表参数调优。例如在告警场景下,面对数十万设备的告警信息,系统依然能够在毫秒级完成查询,全面支撑业务应用的实时性需求。
其中,缓存 + last_row 以及 超级表 + partition by 是最常用且实用的组合。以渗压计的实时监控为例:
-
针对单个设备,开启缓存后使用 last_row 查询最新数据,仅需 4.8 毫秒:
taos> select last_row(*) from nwater.shenyj where deviceid = 54000000034915 >> /dev/null;
Query OK, 1 row(s) in set (0.004813s) -
针对所有设备,使用超级表查询近 4 万个设备的最新数据,仅需 167 毫秒:
taos> select last_row(*) from nwater.shenyj partition by tbname >> /dev/null ;
Query OK, 37911 row(s) in set (0.167385s)
TDengine TSDB 版本升级
在跨大版本升级时,我们的核心诉求是不停服升级,以尽量减少业务影响。经过 TDengine 专业服务团队评估,最终采用了三阶段在线升级方案,彻底消除了我们的升级顾虑:
-
阶段一:历史数据批量迁移------将原低版本数据从旧有集群,批量同步至新集群。
-
阶段二:近线实时数据迁移------将历史数据同步期间产生的近线实时数据,从旧有集群,实时同步至新集群。
-
阶段三:应用切换数据库------将应用原指向数据库切换为新数据库。

实践中,在完成阶段一后,我们只用了 1 个工作日就完成了新旧系统的切换。整个过程中,应用只需修改数据库地址和部分查询语句,对业务基本无感知,数据始终保持一致,大大节省了运维和开发的人力与时间。
这一高效迁移的秘诀在于 TDengine 企业版工具 taosX 。它支持以压缩方式实时同步集群间数据,无需手写迁移脚本,也无需考虑版本差异,迁移效率最高可达 千万行/秒,显著提升了升级的平滑性与可靠性。

4 年稳定运行下的经验汇总
在近 4 年的应用过程中,我们从 TDengine TSDB 2.2 升级至 3.3.6.x,一路见证了产品的不断增强与完善。期间双方紧密协作,积累了一些值得分享的经验,供大家参考:
-
及时沟通与需求反馈: TDengine TSDB 企业版提供专业服务支持,遇到技术问题应第一时间联系技术团队,以获取最佳实践指导,避免走弯路。同时,用户可将业务中遇到的功能需求及时反馈,企业用户往往能获得快速的响应与支持。
-
持续关注产品升级: 随着 TDengine TSDB 的迭代,3.0 之后的版本功能更丰富、稳定性更高,升级过程也极为简便。常规升级可在不停服、不改应用的情况下,于小时级完成。
-
定期开展巡检服务: 不要忽视 TDengine 提供的周期性自动化巡检服务,这能帮助我们提前发现潜在问题并及时处理,保障系统的稳定运行。
期待更多的可能性
经过多年的探索与实践,江西水投已在"水务 + IoT"架构中走在业界前列。随着业务不断深入,我们将从更多维度开展水文监测与预测,尤其是结合气象数据开展中短期水文状况的趋势分析与相关性研究。这不仅会对 TDengine 提出新的挑战,也为双方合作开辟更广阔的空间。我们期待未来 TDengine TDgpt、IDMP 等新一代产品为水务治理注入更强的智能能力,助力构建更加安全、智慧的水务体系。
关于江西水投
江西省水投江河信息技术有限公司(以下简称"江河信息")成立于 2018 年 6 月,是江西水投旗下全资二级企业,是一家集咨询规划、软硬件研发、综合运营为一体的高新技术国有企业。公司承担江西省智慧水利建设项目法人及江西水投集团信息化建设项目法人职责,致力于成为江西数字经济产业的标杆服务商、全国智慧水利领域的一流运营服务商。
作者 | 江西省水投江河信息技术有限公司 刘博武