文章目录
- 一、进程创建
- 二、进程终⽌
-
- 1、进程退出场景
-
- [1)echo ? 指令](#1)echo ? 指令)
- 2、进程常⻅退出⽅法
- 三、进程等待
一、进程创建
1、fork函数初识
在 linux 中 fork 函数是⾮常重要的函数,它从已存在进程中创建⼀个新进程。新进程为⼦进程,⽽原进程为⽗进程。
cpp
#include <unistd.h>
pid_t fork(void);
//返回值:子进程中返回0,父进程返回子进程pid,出错返回-1
进程调⽤fork,当控制转移到内核中的fork代码后,内核做:
- 分配新的内存块和内核数据结构给⼦进程
- 将⽗进程部分数据结构内容拷⻉⾄⼦进程
- 添加⼦进程到系统进程列表当中
- fork返回,开始调度器调度

当⼀个进程调⽤ fork 之后,就有两个⼆进制代码相同的进程。⽽且它们都运⾏到相同的地⽅。但每个进程都将可以开始它们⾃⼰的旅程,看如下程序:
cpp
#include<stdio.h>
#include<unistd.h>
#include<sys/types.h>
#include<stdlib.h>
int main(void)
{
pid_t id = fork();
printf("Before: pid is %d\n",getpid());
if(id == -1)
{
perror("fork()");
exit(1);
}
printf("After :pid is %d, fork return %d\n",getpid(),id);
sleep(1);
return 0;
}
运行结果:

这⾥看到了三⾏输出,⼀⾏before,两⾏after。进程24422先打印 before 消息,然后它又打印after。
另⼀个after消息是24423打印的。注意到进程24423没有打印before,为什么呢?如下图所⽰

所以,fork之前⽗进程独⽴执⾏,fork之后,⽗⼦两个执⾏流分别执⾏。注意,fork之后,谁先执⾏完全由调度器决定。
2、写时拷⻉
通常⽗⼦代码共享,⽗⼦在不写⼊时,数据也是共享的,当任意⼀⽅试图写⼊,便以写时拷⻉的⽅式构造⼀份副本。具体⻅下图:

因为有写时拷⻉技术的存在,所以⽗⼦进程得以彻底分离!完成了进程独⽴性的技术保证!
写时拷⻉,是⼀种延时申请技术,可以提⾼整机内存的使⽤率。
3、fork常规⽤法
-
⼀个⽗进程希望复制⾃⼰,使⽗⼦进程同时执⾏不同的代码段。例如,⽗进程等待客户端请求,⽣成⼦进程来处理请求。
-
⼀个进程要执⾏⼀个不同的程序。例如⼦进程从fork返回后,调⽤exec函数。
4、fork调⽤失败的原因
- 系统中有太多的进程
- 实际⽤户的进程数超过了限制
二、进程终⽌
进程终⽌的本质是释放系统资源,就是释放进程申请的相关内核数据结构和对应的数据和代码。
1、进程退出场景
- 代码运⾏完毕,结果正确
- 代码运⾏完毕,结果不正确
- 代码异常终⽌
1)echo $? 指令
echo $:会打印最近一个程序(进程)退出时的退出码。
2、进程常⻅退出⽅法
正常终⽌:
- 从main返回
cpp
#include<stdio.h>
#include<unistd.h>
int main()
{
printf("main!");
sleep(2);
return 0;
}

- 调⽤exit
cpp
#include<stdio.h>
#include<unistd.h>
#include<stdlib.h>
int main()
{
printf("main!");
sleep(2);
exit(23);
return 0;
}

我们发现程序依旧输出了结果,原因是 exit 函数会刷新缓冲区。
- 调用_exit
cpp
#include<stdio.h>
#include<unistd.h>
#include<stdlib.h>
int main()
{
printf("main!");
sleep(2);
_exit(23);
return 0;
}

发现程序没有输出结果,原因是_exit函数不会刷新缓冲区。
异常退出:
- ctrl + c,信号终⽌
cpp
#include<stdio.h>
#include<unistd.h>
int main()
{
while(1)
{
sleep(2);
printf("hello world!");
}
return 0;
}

1)退出码
退出码(退出状态)可以告诉我们最后⼀次执⾏的命令的状态。在命令结束以后,我们可以知道命令是成功完成的还是以错误结束的。其基本思想是,程序返回退出代码 0 时表⽰执⾏成功,没有问题。
除 0 以外的任何代码都被视为不成功。
Linux Shell 中的主要退出码:

-
退出码 0:表⽰命令执⾏⽆误,这是完成命令的理想状态。
-
退出码 1:我们也可以将其解释为 "不被允许的操作"。例如在没有 sudo 权限的情况下使⽤yum;再例如除以 0 等操作也会返回错误码 1。
-
130 ( SIGINT 或 ^C )和 143 ( SIGTERM )等终⽌信号是⾮常典型的,它们属于 128+n 信号,其中 n 代表终⽌码。
-
可以使⽤strerror函数来获取退出码对应的描述。
2)_exit函数
cpp
#include<unistd.h>
void _exit(int status);
- 参数 status 定义了进程的终止状态,父进程通过 wait 来获取该值。
- 虽然 status 是int,但是仅有低8位可以被⽗进程所⽤。所以_exit(-1)时,在终端执⾏ $? 发现返回值是255。
3)exit函数
cpp
#include<unistd.h>
void exit(int status);
任何地方调用exit函数,都表示进程结束,并给父进程(bash)返回子进程的退出码!!
exit最后也会调⽤_exit,但在调⽤_exit之前,还做了其他⼯作:
- 执⾏⽤户通过 atexit 或 on_exit 定义的清理函数。
- 关闭所有打开的流,所有的缓存数据均被写⼊。
- 调⽤_exit。

从图中我们看到 exit 和 _exit 函数的区别就是:进程如果exit退出的时候,exit()会进行缓冲区的刷新,_exit()不会进行缓冲区的刷新。
4)return退出
return是⼀种更常⻅的退出进程⽅法。执⾏return n等同于执⾏ exit(n),因为调⽤main的运⾏时函数会将main的返回值当做 exit 的参数。
cpp
#include<stdio.h>
#include<string.h>
int main()
{
printf("hello world\n");
return 89;
}

三、进程等待
1、进程等待必要性
-
前文提到过,⼦进程退出,如果⽗进程不管不顾,就可能造成 僵⼫进程 的问题,进⽽造成内存泄漏。
-
另外,进程⼀旦变成僵⼫状态,那就⼑枪不⼊,"杀⼈不眨眼"的 kill -9 也⽆能为⼒,因为谁也没有办法杀死⼀个已经死去的进程。
-
最后,我们需要知道⽗进程派给⼦进程的任务完成的如何。如:⼦进程运⾏完成,结果对还是不对,或者是否正常退出。
-
⽗进程通过进程等待的⽅式,回收⼦进程资源,获取⼦进程退出信息。
2、进程等待的⽅法
1)wait⽅法
cpp
#include<sys/types.h>
#include<sys/wait.h>
pid_t wait(int* status);
返回值pid_t:成功返回被等待进程pid,失败返回-1。
status:输出型参数,获取⼦进程退出状态,不关⼼则可以设置成为NULL
示例:
cpp
#include<stdio.h>
#include<sys/types.h>
#include<unistd.h>
#include<stdlib.h>
#include<sys/wait.h>
int main()
{
pid_t id = fork();
if(id == 0)
{
// child
int cnt = 3;
while(cnt)
{
printf("我是一个子进程, pid: %d, ppid: %d\n", getpid(), getppid());
sleep(1);
cnt--;
}
exit(0);
}
sleep(5);
// parent
pid_t rid = wait(NULL);
if(rid > 0)
{
printf("wait success, rid: %d\n", rid);
}
return 0;
}

2)waitpid⽅法
cpp
pid_ t waitpid(pid_t pid, int *status, int options);
返回值pid_t:
1.正常返回:返回收集到的⼦进程的进程ID。
2.如果options设置为WNOHANG时,若没有已终止的子进程可回收(子进程还在运行),waitpid 会立即返回 0,且不会阻塞父进程。
3.如果调⽤中出错,则返回-1,这时 errno 会被设置成相应的值以指示错误所在。
pid:
Pid=-1,等待任⼀个⼦进程。与wait等效。
Pid>0,等待其进程ID与pid相等的⼦进程。
status:输出型参数
WIFEXITED(status):若为正常终⽌⼦进程返回的状态,则为真。(查看进程是否是正常退出)
WEXITSTATUS(status):若WIFEXITED⾮零,提取⼦进程退出码。(查看进程的退出码)
options:
默认为0,表⽰阻塞等待
WNOHANG:表示非阻塞等待(可以让等待方做自己的事情)
示例:
cpp
#include<stdio.h>
#include<sys/types.h>
#include<unistd.h>
#include<stdlib.h>
#include<sys/wait.h>
#include<errno.h>
#include<string.h>
int main()
{
pid_t id = fork();
if(id == 0)
{
// child
int cnt = 3;
while(cnt)
{
printf("我是一个子进程, pid: %d, ppid: %d\n", getpid(), getppid());
sleep(1);
cnt--;
}
exit(10);
}
// parent
int status = 0;
pid_t rid = waitpid(id, &status, 0);
if(rid > 0)
{
printf("wait success, rid: %d, exit code: %d, exit signal: %d\n", rid, WEXITSTATUS(status), status&0x7F);
}
else
{
printf("wait failed: %d: %s\n", errno, strerror(errno));
}
return 0;
}

- 如果⼦进程已经退出,调⽤ wait/waitpid 时,wait/waitpid会⽴即返回,并且释放资源,获得⼦进程退出信息。
- 如果在任意时刻调⽤ wait/waitpid ,⼦进程存在且正常运⾏,则进程可能阻塞。
- 如果不存在该⼦进程,则⽴即出错返回。

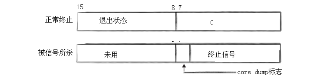
3)获取⼦进程status
-
wait和waitpid,都有⼀个status参数,该参数是⼀个输出型参数,由操作系统填充。
-
如果传递NULL,表⽰不关⼼⼦进程的退出状态信息。
-
否则,操作系统会根据该参数,将⼦进程的退出信息反馈给⽗进程。
-
status不能简单的当作整形来看待,可以当作位图来看待,具体细节如下图(只研究status低16⽐特位):

注意:
- st&0X7F:获取子进程终止的信号编号
- (st>>8)&0XFF:获取子进程的退出码
示例:
cpp
#include<stdio.h>
#include<unistd.h>
#include<stdlib.h>
#include<errno.h>
#include<sys/wait.h>
#include<sys/types.h>
int main()
{
printf("我的进程pid: %d, 我的父进程ppid: %d\n",getpid(), getppid());
pid_t pid = fork();
if(pid == -1)
{
perror("fork");
exit(1);
}
if(pid == 0)
{
// child
sleep(20);
exit(10);
}
else
{
// parent
int st;
int ret = wait(&st);
if(ret > 0 && (st&0X7F ) == 0) // WIFEXITED(st)
{
// 正常退出
printf("child exit code: %d\n", (st>>8)&0XFF); // WEXITSTATUS(st)
}
else if(ret > 0)
{
// 异常退出
printf("sig code: %d\n", st&0X7F); // WIERMSIG(st)
fflush(stdout);
}
}
return 0;
}
运行结果:

4)阻塞与⾮阻塞等待
- 进程的阻塞等待:
cpp
#include<stdio.h>
#include<sys/types.h>
#include<unistd.h>
#include<stdlib.h>
#include<sys/wait.h>
#include<errno.h>
#include<string.h>
int main()
{
pid_t id = fork();
if(id == 0)
{
// child
int cnt = 3;
while(cnt)
{
printf("我是一个子进程, pid: %d, ppid: %d\n", getpid(), getppid());
sleep(1);
cnt--;
}
exit(10);
}
// parent
int status = 0;
pid_t rid = waitpid(id, &status, 0); // 阻塞等待
if(rid > 0)
{
if(WIFEXITED(status))
printf("wait success, rid: %d, exit code: %d, exit signal: %d\n", rid, WEXITSTATUS(status), status&0x7F);
else
printf("子进程退出异常!\n");
}
else
{
printf("wait failed: %d: %s\n", errno, strerror(errno));
}
return 0;
}

- 进程的⾮阻塞等待:
cpp
#include<stdio.h>
#include<sys/types.h>
#include<unistd.h>
#include<stdlib.h>
#include<sys/wait.h>
#include<errno.h>
#include<string.h>
// 函数指针类型
typedef void (*func_t)();
#define NUM 5
func_t handlers[NUM+1];
// 如下任务
void DownLoad()
{
printf("我是一个下载的任务...\n");
}
void Flush()
{
printf("我是一个刷新的任务...\n");
}
void Log()
{
printf("我是一个记录日志的任务...\n");
}
// 注册
void registerHandler(func_t h[], func_t f)
{
int i = 0;
for(; i< NUM; i++)
{
if(h[i] == NULL)
break;
}
if(i == NUM)
return ;
h[i] = f;
h[i+1] = NULL;
}
int main()
{
registerHandler(handlers, DownLoad);
registerHandler(handlers, Flush);
registerHandler(handlers, Log);
pid_t id = fork();
if(id == 0)
{
// child
int cnt = 2;
while(cnt)
{
sleep(3);
printf("我是一个子进程, pid: %d, ppid: %d\n", getpid(), getppid());
sleep(1);
cnt--;
}
exit(10);
}
// parent
while(1)
{
int status = 0;
pid_t rid = waitpid(id, &status, WNOHANG); // 非阻塞等待
if(rid > 0)
{
printf("wait success, rid: %d, exit code: %d, exit signal: %d\n", rid, (status>>8) &0xFF, status &0x7F);
break;
}
else if(rid == 0)
{
// 函数指针进行回调处理
for(int i = 0; handlers[i]; i++)
{
handlers[i]();
}
printf("本轮调用结束,子进程也没有退出\n");
sleep(1);
}
else
{
printf("等待失败\n");
break;
}
}
return 0;
}
