


你知道吗,每天陪你入眠的普通枕头,可能正在悄悄加速你的衰老,还带来各种健康问题。脸部皮肤被压出皱纹、耳朵被压得难受,脖子和背部也因为支撑不均而酸痛。难道就没有一款枕头能解决这些烦恼吗?别急,今天就给大家介绍一款神奇的美容颈椎枕专利产品,说不定能让你的睡眠体验焕然一新。
美容颈椎枕

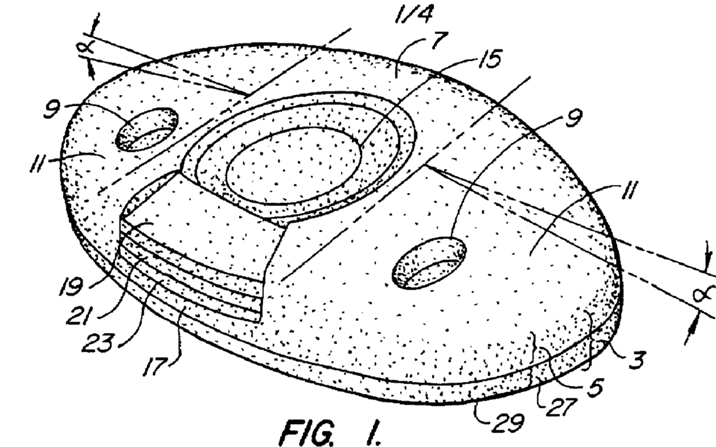
(图源于公开专利文献)
想象一下,这款美容颈椎枕就像是一位贴心的睡眠"美容师"兼"健康卫士",全方位呵护你的睡眠与健康。它有着富有弹性的枕体,高度可调节的头枕,一切设计都围绕着让你睡得更舒适、更健康。
枕体的弹性上部有多个凹陷,这就是耳朵的"专属小窝"。当你侧卧时,耳朵可以舒服地"躺"在里面。这可不像普通枕头,把耳朵压得扁扁的。在这里,耳朵不仅不会被压扁,还能避免因长期受压导致的变形和皱纹,就像给耳朵撑起了一把"保护小伞"。
枕体顶部还有个带向下倾斜角度的平面部分,当你的头枕在上面,脸部皮肤不会因为头部重量而被向下拉扯,反而会被轻轻向上提拉,就像做了一场"脸部瑜伽"。同时,鼻腔也会被微微拉开,呼吸更顺畅,减少鼻窦充血,呼噜声也变小了,连睡眠呼吸暂停这种问题都能有所缓解。

(图源于公开专利文献)
再看看可调节高度的头枕,它就像一个能根据你需求变化的"私人定制助手"。通过在中央凹陷处放置不同厚度的头高调节垫片,你可以轻松调整头枕高度。而且,与头部接触的顶部头高调节垫片还可以根据头部轮廓定制,贴合后脑勺,减轻头骨底部枕骨髁的压力,不仅舒服,还能减少头疼。头枕中央的凸起颈椎支撑区域,还能给脖子提供温和的牵引,拉伸脖子,让你感觉全身都放松了。
枕体的弹性下部则可以通过枕高调节垫片来调整整个枕头的高度,满足不同身材和床垫硬度的需求。就好像给枕头穿上了一双能调节高度的"魔法鞋",无论你是大个子还是小个子,睡软床垫还是硬床垫,它都能完美适配。
老贾洞察

这款专利美容颈椎枕的设计巧妙之处体现在多个方面。首先,它精准地针对传统枕头引发的一系列问题,如皮肤皱纹、耳部不适、颈部和背部肌肉紧张等,进行了全方位的创新设计。通过耳部凹陷、倾斜平面和可调节高度头枕等独特结构,有效解决了这些困扰人们已久的难题。
其次,它将美容与颈椎健康支持功能完美结合,这种跨领域的创新理念在枕头设计中十分新颖。从技术趋势来看,未来的睡眠产品将更加注重综合性的用户体验,不仅关注舒适度,还会结合健康、美容等多方面需求,运用人体工程学、材料科学等多学科知识进行深度创新。
商业放大镜
-
对科技创业者
这无疑是一个极具潜力的专利项目。创业者可以在这个基础上进一步优化产品,比如采用更先进的智能材料,让枕头能够根据使用者的睡眠状态自动调整高度和软硬度。或者结合生物监测技术,实时监测使用者的健康数据,如心率、呼吸等,并根据这些数据调整枕头的功能。然而,要注意的是,后来者若想开发类似产品,需要绕过其关于耳部凹陷设计、倾斜平面角度、可调节高度结构以及材料应用等方面的专利设计,这增加了研发难度。但如果创业者能够成功突破,打造出更具竞争力的产品,就能在竞争激烈的睡眠产品市场中脱颖而出,满足消费者对高品质、多功能睡眠产品的需求,获得可观的商业回报。
-
对投资人
这款专利美容颈椎枕展现出了在睡眠健康与美容领域的巨大创新价值。拥有此类专利的公司,体现了对消费者痛点的敏锐洞察力和强大的研发实力,这构成了其技术护城河的重要部分。随着人们对自身健康和外貌的关注度不断提高,这类集健康与美容功能于一体的睡眠产品市场前景广阔。投资人关注这类专注于睡眠健康与美容创新的公司,有望获得良好的投资收益。当然,在投资过程中,要关注公司的市场推广能力和后续研发实力,确保专利技术能够有效转化为商业成果,在市场竞争中保持领先地位。

看完这款神奇的美容颈椎枕,你是不是心动了呢?你在使用枕头时还遇到过哪些让你头疼的问题?对于它的功能设计你还有什么新奇的想法吗?欢迎在评论区分享!这只是睡眠产品专利世界中的冰山一角。如果你想系统了解整个睡眠产品行业的专利布局、技术路线和主要玩家,**关注"老贾专利烩"**回复关键词"大健康",即可免费获取我们的《行业专利竞争格局深度解读》摘要版。