hello~ 很高兴见到大家! 这次带来的是Linux系统中关于进程控制这部分的一些知识点,如果对你有所帮助的话,可否留下你宝贵的三连呢?
个 人 主 页 : 默|笙

文章目录
- 一、进程等待
-
- [1.1 进程等待的必要性](#1.1 进程等待的必要性)
- [1.2 进程等待的方法](#1.2 进程等待的方法)
-
- [1. wait方法](#1. wait方法)
- [2. waitpid方法](#2. waitpid方法)
- [3. 获取子进程status](#3. 获取子进程status)
接上次博客---->[进程控制(1)进程创建、终止]。
一、进程等待
1.1 进程等待的必要性
- 我们知道一个进程执行完了之后不会立即变成死亡状态,而是变成僵尸状态,如果这个进程的父进程对它不管不顾的话,那么它将一直存在于内存当中,占用系统内存也占用系统所分配的pid。
- 处于僵尸状态的进程是无法信号kill -9被杀死的,毕竟谁也无法杀死一个已经死掉的进程。
- 其次,父进程派给子进程执行的任务,任务完成的如何我们是需要知道的。比如子进程任务执行结果对不对,是不是正常终止,这部分退出信息是存储在它的task_struct里面。
- 既为了不让子进程一直处于僵尸状态(必须),也为了能够知道子进程任务完成的如何,我们需要让父进程对僵尸状态的子进程进行回收---回收子进程资源,获取子进程退出信息。
- 退出信息储存在子进程的task_struct里面,,,,
1.2 进程等待的方法
1. wait方法

- 使用wait需要包含头文件sys/wait.h。
- 返回值:如果等待成功返回所等待的子进程的id,等待失败则返回-1。
- 关于参数stat_loc,这是一个输出型参数,用来获得子进程的状态,不关心则可以设置成NULL,之后会讲到。
- 输出型参数:输出型参数的初始值并不重要,因为它是在调用函数后被函数赋值,成为一个函数执行结果的载体,可以通过这个参数获取结果,在这里就是子进程的退出状态。
cpp
#include<sys/wait.h>
2 #include<stdio.h>
3 #include<unistd.h>
4 #include<stdlib.h>
5
6 int main()
7 {
8 pid_t id = fork();
9 if (id == 0)
10 {
11 int cnt = 5;
12 while(cnt--)
13 {
14 printf("我是一个子进程!pid:%d, ppid:%d\n", getpid(), getppid());
15 }
16 exit(0);//子进程执行完退出
17 }
18 sleep(10);
19 pid_t sid = wait(NULL);
20 if (sid > 0)
21 {
22 printf("我是一个父进程!pid:%d,我等待成功了,回收的是pid为%d> 的子进程\n",getpid(), sid);
23 }
24 return 0;
25 }


- 执行程序之后,子进程执行代码会通过exit终止进程进入僵尸状态,为了不让父进程一下子给子进程回收掉,我让程序sleep了10s,10s过后父进程回收子进程,子进程死亡,父进程执行完代码被bash直接回收,进入死亡状态。
- wait方法里:在子进程执行的过程中,父进程会一直处于阻塞状态,父进程会一直等待子进程的结束好对其进行回收,不会做其他的事情。如果想验证可以让子进程休眠5s,让子进程执行的时间久一点,可以观察到父子进程都处于S+状态。
- wait是回收任意一个已退出处于僵尸状态的子进程,如果没有则为阻塞等待状态。

2. waitpid方法

-
同样需要包含头文件sys/wait.h进行使用,不过与wait不同的是,它多了两个参数,一个pid,一个options。
-
第一个参数pid是要传给它目标子进程pid,然后它就只会等这个目标子进程,如果想回收任意子进程,就传-1。
-
stat_loc也是输出型参数,用来获取子进程的退出信息。
-
options默认值为0,表示阻塞等待,即父进程等待子进程的这段时间什么事情都不干,就干等。如果传入WNOHANG(wait no hang不等待),表示非阻塞等待,也就是在等待子进程的时间里面父进程可以干其他的事情。
-
返回值:在阻塞状态下等待成功则返回所等待子进程的pid,等待失败则返回-1;在非阻塞状态下,如果子进程还没有执行完成则返回0,不继续等待,若正常结束,返回子进程pid。
- 第一个参数为-1,第三个参数为0时,与wait函数功能相同。
阻塞等待vs非阻塞等待
- 打个比方,我烧一壶水,烧这一壶水是需要时间的,阻塞等待就是我一直在这里等着这壶水烧开,这段时间里我什么也不干,就在它旁边守着直到听到它发出咕噜咕噜的声音知道它烧开为止;非阻塞等待就是我在烧这壶水的期间去干其他事情,干一会儿就回来看看水烧开没有,这样既可以等待水的烧开又可以干自己的事情。
- 要注意的是,等待的时间是取决于子进程的,无论是阻塞等待还是非阻塞等待要等的时间都是一样的。不存在非阻塞等待比阻塞等待效率高的说法,只能说是非阻塞等待干其他事情的效率提高了。
cpp
//非阻塞状态实验代码
1 #include<stdio.h>
2 #include<unistd.h>
3 #include<stdlib.h>
4 #include<sys/wait.h>
5
6 int main()
7 {
8 pid_t id = fork();
9 if (id == 0)
10 {
11 int cnt = 5;
12 while(cnt--)
13 {
14 sleep(1);
15 printf("我是一个子进程,pid:%d, ppid: %d\n", getpid(),getppid());
16 }
17 exit(0);
18 }
19 while(1)
20 {
21 pid_t sid = waitpid(id, NULL, WNOHANG);
22 if (sid == 0)
23 {
24 printf("我是父进程,子进程还没执行完,我要干我自己的事情了\n");
25 //写父进程等待期间要执行的代码
26 }
27 else if (sid > 0)
28 {
29 printf("我是父进程,我回收成功了!pid:%d\n", getpid());
30 exit(0);
31 }
32 }
33 return 0;
34 }
- 执行非阻塞等待,第三个参数传入WNOHANG,父进程要使用一个while循环,去不断的使用waitpid()函数进行等待,如果返回值为0则干父进程自己的事情,返回值不为0就回收完毕,父进程终止。差不多就是下面的样子。

3. 获取子进程status
- wait函数和waitpid函数都有一个参数status,一个输出型参数,用来获得系统给的子进程的退出信息。
- 如果传递的是NULL,则默认不关心子进程的退出状态信息。如果传递的是一个整型变量,那么系统给的子进程的退出信息就会在调用wait/waitpid函数之后存储在这个整型变量里面。

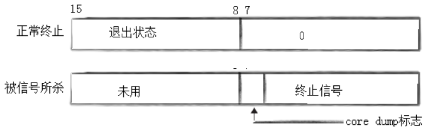
- 系统给的退出信息不是一个简单的整数,应该把它当作位图来看待,一个整数4个字节是32bit位,但是退出信息只会存储在16个比特位里面,最高16位一般不会使用。
- 在这16个比特位里面,如果是正常终止,那么第8~15个比特位里面会存储子进程的退出状态(0~255),第7位则固定为0,第0~6位为未使用(全为0);如果是被信号所杀,那么第8~15位是没有使用的(全为0),第7位存储的是core dump标志,第0~6位存储的则是终止子进程的信号编号。
- 我们可以通过位运算来获取系统给的退出信息,也可以使用系统给的宏来获取:
- WIFEXITED(status): 若为正常终止进程返回的状态,则为真(1)。对应(status & 0x7F) == 0,如果信号为0,说明正常终止了。0x7F = 0111 1111。
- WEXITSTATUS(status) : 若WIFEXITED非零,提取子进程退出码。(查看进程
的退出码)对应(status >> 8) & 0xFF,向左移动8位进行提取。0xFF = 1111 1111。
cpp
1 #include<stdio.h>
2 #include<unistd.h>
3 #include<stdlib.h>
4 #include<sys/wait.h>
5
6 int main()
7 {
8 pid_t id = fork();
9 if (id == 0)
10 {
11 int cnt = 5;
12 while(cnt--)
13 {
14 sleep(1);
15 printf("我是一个子进程,pid:%d, ppid: %d\n", getpid(), getppid());
16 }
17 exit(0);
18 }
19 while(1)
20 {
21 int* status = NULL;
22 pid_t sid = waitpid(id, status, WNOHANG);
23 if (sid == 0)
24 {
25 // printf("我是父进程,子进程还没执行完,我要干我自己的事情了\n");
26 //写父进程等待期间要执行的代码
27 }
28 else if (sid > 0)
29 {
30 printf("我是父进程,我回收成功了!pid:%d\n", getpid());
31 printf("我是父进程,WIFEXITED:%d, WEXITSTATUS:%d\n", WIFEXITED(status), WEXITSTATUS(status));
32 exit(0);
33 }
34 }
35 return 0;
36 }

- 正常终止,WIFEXITED返回值为1,WEXITSTATUS有意义,返回值为0,代表退出码为0,结果正确。
今天的分享就到此结束啦,如果对读者朋友们有所帮助的话,可否留下宝贵的三连呢~~
让我们共同努力, 一起走下去!