- 开发语言:Java
- 框架:springboot
- Jdk版本:8
- 数据库:mysql 5.7
- 数据库工具:Navicat12
- 开发软件:idea
系统展示
管理员登录

管理员功能界面

教师管理

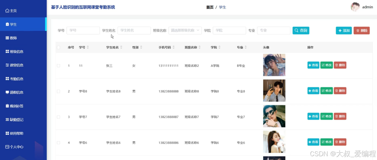
学生管理

班级信息

课堂信息

考勤信息

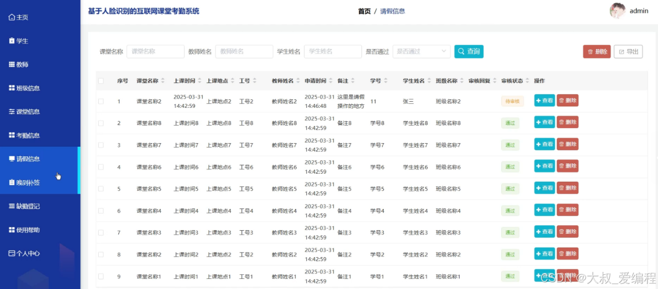
请假信息

晚到补签

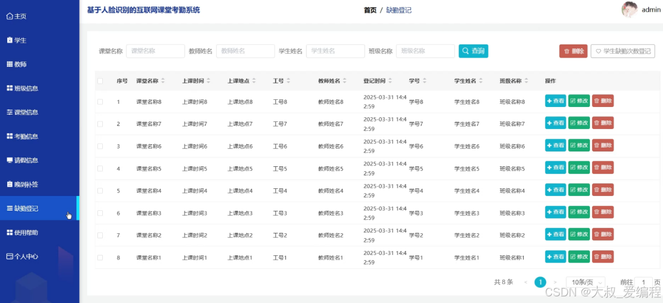
缺勤登记

使用帮助

学生功能界面

教师功能界面

摘要
本文结合MySQL数据库和Spring Boot框架,开发一套人脸识别的互联网课堂考勤系统。该系统旨在为用户提供便捷的信息查询途径,同时赋予管理员全面的信息管理功能,涵盖课堂信息、考勤信息、请假信息等多个维度,以期加速平台发展步伐,优化资源配置,为平台的持续健康发展奠定坚实基础。作为一款网络化的管理工具,人脸识别的互联网课堂考勤系统集成了班级信息、考勤信息、请假信息、晚到补签、缺勤登记、用户注册登录与退出等基础功能,显著降低了行业运营的时间与人力成本。
研究背景
随着SpringBoot与Java等现代Web开发技术的飞速发展,各行各业的信息化管理水平得到了显著提升。传统的互联网课堂考勤管理在日常运营中,往往依赖于手工记录课堂信息、考勤信息、请假信息等数据,这种方式不仅效率低下,容易出错,而且数据安全性也无法得到保障,难以满足现代管理的需求。因此,开发一套基于SpringBoot的人脸识别的互联网课堂考勤系统显得尤为重要,它能够为校园带来更加便捷、高效的管理手段。
关键技术
Java是Sun Microsystems(现为Oracle子公司)1995年推出的编程语言,以"一次编写,处处运行"为核心理念,具备卓越的跨平台能力。作为面向对象的语言,Java涵盖类、对象、继承等基本概念,语法简洁且API丰富,便于开发者构建多样功能。Java广泛应用于企业级应用开发、Android平台、大数据、云计算及游戏开发等领域,Java EE更提供了企业级全面解决方案。同时,Java具备高度安全性和稳定性,通过内存管理、字节码验证及安全API确保运行安全,自动垃圾回收机制避免内存泄漏,提升程序稳定性。Java凭其功能强大、应用广泛及不断发展,深受开发者喜爱。
Spring Boot是由Pivotal公司于2013年推出的免费、轻量级且开源的系统框架,是对原有Spring框架的进化。它集成了许多常用框架和工具,并进行了默认配置,大大简化了开发流程。Spring Boot具有低嵌入式设计,不强制使用Spring全部组件,可根据需求自由选择。此外,它还简化了测试过程,便于开发者进行单元测试和集成测试。更重要的是,Spring Boot内置了Web服务器,无需再启动独立的Web服务器,进一步简化了开发。凭借其低嵌入式设计、灵活性、简化测试流程以及内置Web服务器等特点,Spring Boot已成为现代Java开发中不可或缺的重要部分。
Vue是一款流行的开源JavaScript框架,用于构建用户界面和单页面应用程序。Vue的核心库只关注视图层,易于上手并且可以与其他库或现有项目轻松整合。
MYSQL数据库运行速度快,安全性能也很高,而且对使用的平台没有任何的限制,所以被广泛应运到系统的开发中。MySQL是一个开源和多线程的关系管理数据库系统,MySQL是开放源代码的数据库,具有跨平台性。
B/S(浏览器/服务器)结构是目前主流的网络化的结构模式,它能够把系统核心功能集中在服务器上面,可以帮助系统开发人员简化操作,便于维护和使用。
系统分析
对系统的可行性分析以及对所有功能需求进行详细的分析,来查看该系统是否具有开发的可能。

系统设计
功能模块设计和数据库设计这两部分内容都有专门的表格和图片表示。

系统实现
管理员成功登录系统后,便拥有了全面管理用户信息的权限。这不仅仅局限于对用户信息的添加、查询、修改和删除等基础操作,系统还赋予了管理员对其他重要信息的广泛管理能力,包括但不限于首页、学生、教师、班级信息、课堂信息、考勤信息、请假信息、晚到补签、缺勤登记等内容的全面管理。学生成功登录系统后,能够执行多项管理操作。这些操作涵盖了首页、课堂信息、考勤信息、请假信息、晚到补签、缺勤登记、使用帮助、个人中心等关键任务。教师成功登录系统后,能够执行多项管理操作。这些操作涵盖了首页、课堂信息、考勤信息、请假信息、晚到补签、缺勤登记、使用帮助、个人中心等关键任务。
代码实现
java
/**
* 人脸比对
*
* @param face1 人脸1
* @param face2 人脸2
* @return
*/
public static R matchFace(String face1, String face2) {
if(client==null) {
String APIKey = configService.selectOne(new EntityWrapper<ConfigEntity>().eq("name", "APIKey")).getValue();
String SecretKey = configService.selectOne(new EntityWrapper<ConfigEntity>().eq("name", "SecretKey")).getValue();
String token = BaiduUtil.getAuth(APIKey, SecretKey);
if(token==null) {
return R.error("请在配置管理中正确配置APIKey和SecretKey");
}
client = new AipFace(null, APIKey, SecretKey);
client.setConnectionTimeoutInMillis(2000);
client.setSocketTimeoutInMillis(60000);
}
org.json.JSONObject res = null;
try {
File path = new File(ResourceUtils.getURL("classpath:static").getPath());
if(!path.exists()) {
path = new File("");
}
File upload = new File(path.getAbsolutePath(),"/upload/");
File file1 = new File(upload.getAbsolutePath()+"/"+face1);
File file2 = new File(upload.getAbsolutePath()+"/"+face2);
String img1 = Base64Util.encode(FileUtil.FileToByte(file1));
String img2 = Base64Util.encode(FileUtil.FileToByte(file2));
MatchRequest req1 = new MatchRequest(img1, "BASE64");
MatchRequest req2 = new MatchRequest(img2, "BASE64");
ArrayList<MatchRequest> requests = new ArrayList<MatchRequest>();
requests.add(req1);
requests.add(req2);
res = client.match(requests);
System.out.println(res);
if((int)res.get("error_code")!=0) {
return R.ok().put("score",0);
}
} catch (FileNotFoundException e) {
e.printStackTrace();
return R.error("文件不存在");
} catch (IOException e) {
e.printStackTrace();
}
return R.ok().put("score", com.alibaba.fastjson.JSONObject.parse(res.getJSONObject("result").get("score").toString()));
}
系统测试
经过相关功能的继承测试后,本系统的各种功能能够按照预期正常执行,符合相关的具体要求,系统能够正常运行,满足最初的设计需求。通过测试,使我更加了解的系统的运行,找到了一些相关错误和bug,但在经过修改后,我又反复的检查的系统的运行过程,确保不会再出现这些问题,满足了用户需求,操作简单且方便。
结论
在项目启动阶段,我广泛查阅了相关文献资料,调研了现有的平台管理系统,并与相关人员进行了深入交流,从而形成了对人脸识别的互联网课堂考勤系统的全面理解。基于此,我精心规划了系统的功能需求,涵盖了学生、教师、班级信息、课堂信息、考勤信息、请假信息、晚到补签、缺勤登记等多个关键方面,旨在打造一个功能强大、操作简便且贴合实际需求的平台管理系统。然而,在开发过程中,我遇到了诸多预料之外的挑战。由于系统开发的复杂性和专业性,我时常面临各种报错信息,这些问题一度让我感到困惑和沮丧。由于缺乏足够的开发经验,我在解决这些报错时进展缓慢,甚至在某些时候陷入了困境。面对这些困难,我选择了坚持和努力。我深知只有通过不断学习和实践,才能提升自己的技术水平,解决这些难题。因此,我投入了大量的时间和精力进行深入研究,查阅相关资料,向专业人士请教,逐步积累了丰富的开发经验和知识。在这个过程中,我也深刻认识到了自己的不足,并不断地补充计算机专业知识,学习新的技术和方法,努力提升自己的专业素养。