打开 帆软在线数据分析平台
在 上一篇 已经上传了所需数据,在它的基础上,对常用组件进行操作
表
分组表
分组表是用来查看不同组别类与数据的展示情况
在组件,图表类型里,点击分组表
找到 集团销售总表,商品类别和商品名称放入维度当中,在指标里放入销售额和成本额
当我们把商品类别拖入到维度之后,显示的是 5 行,回到数据这个界面,找到集团销售总表,会发现商品类别的数据是非常多的,但是去重之后只剩下 5 条
说明,在组件当中,会自动根据维度字段分组汇总
我们发现在组件中拖入的销售额和成本额都会进行求和的操作
是直接按照商品类别和商品名称分组,然后去计算销售额以及成本额的总和
分组表完成之后可以点击加号,把内容给展开
调整一下颜色字体什么的,可以找到组件样式
可以自定义标头和表身字体样式,字号大小,位置居中或者靠边
在表格行高里,可以调整表头和表身的行高
在风格里,可以调整样式以及主题颜色,选择好看的颜色
在合计行,合计方式里可以更改合计方式,可以改成求和,平均,最小,最大,中位数等
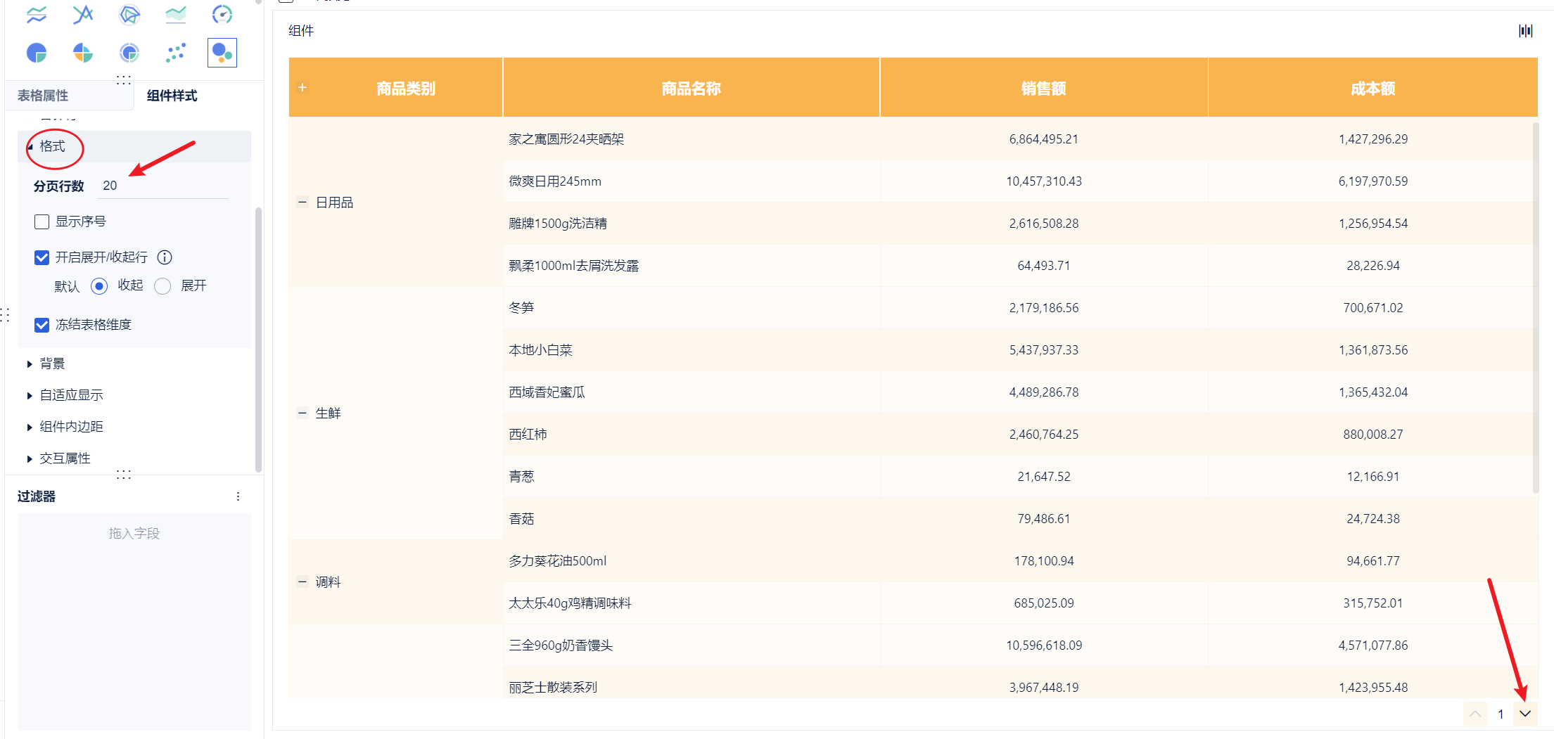
在格式,分页行数,当达到一定的行数时候,这里会出现一个分页的效果
背景,这里面整体的颜色
这些都是整体的,里面具体的数据,也可以设置样式
找到表格属性,一般很少去动两个维度,经常会动的是下面的指标
比如,给销售额设置颜色,如果没有拖入字段,设置的是所有的颜色,我这里点的是红色
如果把销售额字段拖入到颜色这里,再去点击小齿轮,就会根据当前字段的值来设置颜色。比如值小于10000000,设置成红色,大于等于10000000,设置成绿色

形状同理,如果没有拖入字段,所有数值后面都会加上设置的形状,比如加上一个勾
拖入销售额到形状里,根据销售额决定形状。值小于10000000的,设置向下的箭头,大于等于10000000的,设置向上的箭头
同环比
如果字段中包含了日期,是可以直接在组件中显示同环比值的
同比:当前年度本期,与上一年度的同一期进行对比。比如,2025年12月 vs 2024年12月
环比:当前年度本期,与当前年度的上一期进行对比。比如,2025年12月 vs 2025年11月
同环比增长率 = (本期 - 同期) / 同期
比如计算同比增长率,已知 2025 年 12 月是 100,2024 年 12 月是 50,同比增长率就是 (100 - 50) / 50 = 1,即 100%
数据当中本身带着日期,商品名称不要了,日期拖进来,改成不同日期下不同商品类别的销售额和成本额
改完之后注意,日期的细粒度太细了,精确到了日。通常在看的时候要么精确到月度,要么精确到了季度,或者是年度,把它改成年月,把成本额去掉
想看环比的值怎么办?再拖入一个销售额到指标这里,然后点击倒三角,快速计算,有一个同比环比,点击环期。统计一下环期的值
点击确定之后,以2月份为例,我们可以看到,第一列销售额是二月份正常的销售额,第二列则是对应的同期值,同期值就是上一个月的值
双击,修改字段名字为环期值
想看一下,当前这个月相比于上一个月增长了多少。再来拖入一个销售额到指标里,点击倒三角,找到快速计算的同比环比。第一个环比增长值,是增长了多少,比如增长了几百几千;第二个是环比增长率,是增长了百分之多少
点击环比增长率,字段名字也改为环比增长率。然后我们可以看到,二月份相比一月份增长了25%
由于数据全部都是2020年的,所以没办法去做同比的操作。同比操作需要跨年
这里的日期每一个都可以展开,展开之后是各个商品类别,后面也会自动变成各个类别商品的销售额,环期值,环比增长率等。就可以看到有的商品环比增长了,有的商品下降了
交叉表
交叉表是由行维度、列维度以及数值区域组成的较为复杂的报表。用来显示表中某个字段的汇总值,并将它们分组。其中一组为行维度-在数据表的左侧,另一组列维度-在数据表的上部。行和列的交叉处即「数值区域」可以对数据进行多种汇总计算,比如求和、平均值、记数、最大值、最小值等
找到合同事实表,行维度是合同付款类型、合同签约时间;列维度是合同付款类型;指标是合同金额。这几个全都拖进去
点击+号展开看看
交叉表相对来说复杂一些,如果不是交叉数据,还是建议用分组表
明细表
明细表有个特点,它和数据界面展示的内容一模一样。不做分组处理
数据用合同事实表。想看一下合同id,是否已经交货,还有合同金额,直接拖进去
拖进去之后就是一个数据的明细表了,不会去进行一个分组处理
用明细表干什么呢?假如这个数据已经处理好了,想把这个处理好的数据再导出去,这时候就会用到明细表,然后使用左上角的导出Excel
导出之后是这种效果。后面再去用的时候就可以用这个处理完成之后的数据啦
在 finebi 当中,表只有这三种啦。
柱形图
需要做对比的时候,用柱形图。比如想看几个班级平均成绩的对比情况,这个时候用柱形图就非常直观
分区柱形图
并列展示维度下各个分类指标的柱形图,能清晰的比较出多种维度下不同指标的数量差距,但是当维度数据较多时,图表的可读性就比较差
在图标类型中点击分区柱形图,然后找到销售明细1。横轴是品牌编号和销售日期。当我们放上去之后,它把维度进行了延伸,比如,可以看到A28430在每一个日期下对应的指标情况
相当于按照品牌分组,每个品牌对应的销售情况
销售日期是年月日,粒度太细了,改成年月。改完之后放入对应的纵轴,销售额和毛利
有了这个效果之后,还需要微调。这两个区的柱形图用不同的颜色呈现
拉到最下面,有一个跨表字段,把它展开,当中有一个指标名称。当前这个图标当中,我们的指标是销售额和毛利额。这个名称对应的就是销售额和毛利额。现在修改颜色的时候是按照指标来区分,所以把指标名称拖到颜色这里。拖过来之后不同指标颜色就不一样啦
点击颜色的小齿轮,就可以分别设置想要的颜色了。我这里设置成橙色和绿色
指标名称:如果希望按照不同的指标显示不同的颜色,那么需要在颜色中拖入跨表字段中的"指标名称"。
销售额和毛利额的单位改成百万。找到倒三角,点击数值格式
在数值单位选择百万,然后点击确定。
毛利额同理,也设置成百万然后点击确定。这样好看一些
图的最下方有个指标名称:俩颜色,这个东西是图例。图例:用来告诉哪一种颜色对应什么指标
现在这个图例的位置在正下方,我们把它弄到右上角去。找到组件样式,找到图例,在位置的地方点击靠右居上。然后这个图例就放在右上角了。一个分区柱形图完成
点击横轴的品牌编号,点击倒三角,点一下过滤
只想看 A28430,A29670,B52220,B54240 这四个品牌。把这四个品牌名称选中,点击确定
这样展示的就是过滤出来的不同指标的分区柱形图
堆积柱形图
用来显示大类目下,细分类目的占比情况。既可以直观地看出每个指标的值,还能够反映出维度总和。堆积柱形图将每根柱子进行分割,可以显示大类目下的细分类目占比情况。它既可以直观地看出每个指标的值,还能够反映出维度总和。
可应用在:展示某互联网产品在一周内由不同渠道获得的流量对比。
销售部有 3 个部门:销售部门 A、销售部门 B、销售部门 C,需要统计销售部各个部门的贡献成分及变化。堆积柱形图能清晰的看出每个维度下不同指标的大小,也可以比较出不同维度类别的数据量差距。但是只适用于维度不多的数据,不适用于维度太多的场景。
(说人话:用来查看同一个维度下,不同系列的指标情况)
在图标类型中找到堆积柱形图然后点一下
找到周流量数据,横轴是星期。纵轴有多个:直接访问、邮件营销、联盟广告、视频广告,搜索引擎。把它们拖进去
拖进去之后我们会发现横轴的星期,顺序有一点儿问题。它把顺序打乱了
finebi中的排序方式:
1、自定义排序
2、通过辅助列来排序(辅助列一定是数值类型)
首先展示第一种:
点击星期旁边的倒三角,下面就有一个自定义排序
点击之后自己来拖动,点击确定
当我们手动拍完之后它的顺序就正确了
现在演示第二种方式:
我们先打开周流量数据表查看一下数据情况
在对应星期的左侧,有一列序号,而且这个序号1~7对应的就是星期一到星期日。我们在排序的时候就可以根据序号来排序。回到组件部分,点击星期旁边的倒三角,选择升序。然后会发现这里只显示图表用到的字段
需要将辅助列拖入到细粒度当中,找到序号,然后拖入到全部当中的细粒度里,让当前图表能用它
现在再去点击星期旁边的倒三角,点击升序,就出现了序号列,点击
这样就实现了通过辅助列(序号列)的方式对星期进行排序
在 finebi 当中这种情况算比较好的。如果是 powerbi,需要新增一列,因为它没有自定义排序
接下来给不同的类型添加不同的颜色,直接访问、邮件营销等,它们的颜色各不一样。现在要修改颜色,在全部当中,往下拉,找到跨表字段里的指标名称
把它拖入到颜色里,在图形属性的全部里有个颜色。拖进去之后不同指标对应了不同的颜色
给不同系列的柱子加标签。这个时候不能在全部里面操作了。不同的指标要展示对应的标签,可以把全部折叠起来,依次从下面的每个指标找一找
打开直接访问,找到直接访问,拖入到标签,现在直接访问能显示了
在调整一下它的位置。点击标签右边的小齿轮,选择居中
收起直接访问,同理,依次展开下面的每一个指标并对应拖入,然后设置居中
如果觉得字体颜色不太好看,可以点击标签小齿轮,里面的内容格式设置一下。此处省略
最后,图例放在右上角
展示了不同维度下,不同系列的数据情况,而且要有多个数值字段才能做出这样的效果
多系列柱形图
用于显示不同系列指标间的对比效果,能清晰的看出每个维度下不同指标的大小,通过不同的柱形比较出不同维度类别的数据量差距。但是只适用于维度不多的数据,不适用于维度太多的场景。
找到访问统计事实表.xlsx
横坐标是统计日期,拖进去
拖进去之后我们需要筛选一下日期(不然太多了),点击统计日期的倒三角,点击过滤
把日期控制在 2015 年的 7 月 1 号,到 2015 年的 7 月 11 号
在这个维度上,我们要去看浏览量、访问次数,跳出次数。把这三个指标拖入到纵轴当中
这个效果出来以后,还需要进行微调,不同的指标颜色是不一样的。找到跨表字段的指标名称,把它拖入到全部的颜色里面去
这个是多系列柱形图。如果不想显示标签,只想展示最大,可以去设置一个注释效果。在图形属性当中,全部,点击标签旁边的小齿轮取消勾选显示标签
然后在维度处找到浏览量字段,点击旁边的倒三角,找到特殊显示,然后点击注释
设置最大的N个,N=1,然后点击确定
点击确定之后我们可以看到这根柱子上面的 85 就是注释,用注释来表示标签。一般来说不会在所有的维度上都加上标签,只在最大或者最小这种柱子上加标签。最大还是最小是根据需求确定的
另外两个字段同理,这样所有的维度都显示了最大值
对比柱形图
对比柱状图是一种以背靠背形式的条形图,主要用于展示同一维度下,两个指标的对比分折,便于更直或地看由对比面。最常用于有相反含义的两个指标做对比
正常的对比柱形图
找到美国大选投票数据,横纵放入民主党总选票和共和党总选票,纵轴放入洲
可以根据自己喜好设置一下颜色。在图形属性,收起全部,点击对应标签展开,点击颜色旁边小齿轮,然后选择喜欢的颜色。比如设置一个绿色一个黄色
轴单位需要设置一下,找到横轴的字段,点击倒三角,设置数值格式,把数量单位改成百万

横轴的另外一个字段用同样的方法,将数值格式里的数量单位设置成百万,点击确定,这样横轴的单位就都是百万了
最后我们再把图例放在右上角,点击组件样式,点击图例,下拉,有一个位置,选择靠右居上
有时候我们不需要这种对比的, 我们只需要一个条形图。条形图怎么去做呢?
条形图------特殊的对比柱形图
条形图就是对比柱形图,新建一个组件命名为条形图,点击对比柱形图。随便拖入一个字段到横轴和一个字段到纵轴,比如把洲拖入纵轴,把民主党总选票拖入横轴
出现这种效果,这个柱子现在是靠着右边的。点击横轴旁边的倒三角,把指标并列改为指标聚合
然后再点一下倒三角,再把它改成并列,效果就出现了
条形图一般从大到小排个序,点击纵轴里的字段洲旁边的倒三角,根据民主党总选票进行降序处理
最后效果是这样的
折线图
分区折线图
它和分区柱形图很相似,都是同一纬度下不同指标的对比情况。用于分区域分指标查看折线的变化趋势。找到风速对比,横轴是时间,纵轴是A城市和B城市。把这三个拖入到对应位置
效果已经出来了,样式稍微有点儿丑。首先颜色,不同指标不同颜色,还是要用到跨表字段里面的指标名称。将指标名称拖入到图形属性的全部中的颜色里
点击颜色旁边的小齿轮,A城市改为橙色,B城市改为绿色
线改为稍微平滑一些的,目前是带尖尖的折线。在全部这里,点击连线,把样式里的折线改为曲线
线型可以改为虚线,标记点是对应日期的数据是多少,可以标记出来,点有
关于这个折线图,还可以设计一些好看的效果,比如设计一个动画闪烁的效果。首先把全部折叠起来,不同指标单独进行设置。首先是 A 城市,有个标签,跟之前一样的做法,把 A 城市字段拖入到标签这里
拖过来之后不要让标签显示出来,点击标签旁边的小齿轮,把"显示标签"取消勾选
点击字段旁边的倒三角,选择"特殊显示",点击"闪烁动画"
点击"添加",右边时间间隔设置为 3 秒,然后点击"确定"
就可以看到它的动态效果
同理,将B城市也设置一下闪烁。这样两个城市都有了动态闪烁效果
注意,这种动画效果,导出为 pdf 之后,就不存在了。想看到这个效果需要通过在线平台才可以
多系列折线图
多系列折线图用于在同一区域查看指标的变化趋势,能直观看出趋势对比。多系列清晰地展现出当前维度下不同指标的增减趋势、增减的速率、增减的规律、峰值等特征,适合展现较大数据集。但是线条数目一般不适合超过4 条。
找到二氧化碳排放量的数据 CO2-by-source.xlsx
横轴是 year,纵轴是对应的全部指标(除了 year)全部放上去
都拖进去之后我们发现并没有产生折线图的这种效果
首先注意看 year 的类型。作为维度的字段,要么是日期,要么是文本。但是这里的年份现在是数值类型,finebi中会自动针对数值进行聚合处理。如果字段要作为维度,记得转换为文本类型
回到数据界面,找到 CO2-by-source.xlsx
找到年份字段,把它改为文本
改完以后保存并更新
再来回到组件部分,重新拖入 year,我们就可以看到效果了,不同系列使用不同颜色,找到跨表字段的指标名称并拖入到颜色这里来
具体什么颜色还可以再修改,修改方法已经讲过很多次不再赘述,由于目前效果也蛮好看的就不进行修改了
在图形属性那里,每一个字段展开,连线样式设置为曲线,线型设置为虚线,标记点选择有,纵轴里字段点击右侧倒三角,找到特殊显示,添加闪烁动画,设置闪烁效果3秒。闪烁效果也设置好了。这里和分区折线图没有太大区别
折线雷达图
查看不同指标之间的对比情况
雷达图(RadarChart),又可称为戴布拉图、蜘蛛网图(spiderChart),每个分类都拥有自己的数值坐标轴,这些坐标轴由中心向外辐射,并用折线将同一系列的值连接。用以显示独立的数据系列之间,以及某个特定的系列与其他系列的整体之间的关系
雷达图适合展现某个数据集的多个关键特征并进行比对,适合比较多条数据在多个维度上的取值。但是不适合展示多类别数据。例如:可以用雷达图展现两款手机A、B之间的性能对照
找到数据,手机参数对比.xlsx
横轴放入"特征",纵轴放入"手机A"和"手机B",把跨表字段的"指标名称"拖入到颜色中
点击颜色旁边的小齿轮,一个设置成橙色,一个设置为天蓝色
最后找到组件样式的"图例",在位置的地方,选择"靠右居上",这样我们就可以清晰地看到两个手机不同维度的对比,方便根据需求更好地选择
范围面积图
范围面积图用来展持续性数据,可很好地表示趋势、累积、减少以及变化。适合展现同一个分类维度在同一间隔内两个连续变量的变化趋势。但是不适合展现多个分类数据。例如:已知网页的访问次数和跳出次数,两条线勾勒出的范围非跳出次数的变化量趋势
在财务分析当中,这个范围面积图会经常用的
找到:访问统计事实表.x1sx
横轴是"统计日期",纵轴是"访问次数"和"跳出次数"。拖进去
现在这个粒度太细了,把日期的年月日改为年月。点击日期旁边的倒三角,改成年月
再来点一下这个图表,下面就变成空心的了。上面是跳出次数,下面是访问次数
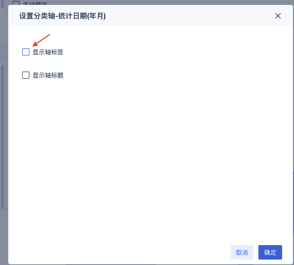
如果不希望显示这种标签,怎么样把轴标签去掉呢?先找到横轴中字段,点击倒三角,有个设置分类轴
把显示轴标签取消勾选,点击确定

这样就不会显示刻度值
纵轴显示的数值默认以第一个指标(访问次数)为准,那我们只需要设置第一个就行了
和刚刚一样的步骤,点击字段右边的倒三角,点击设置值轴
然后取消勾选显示轴标签,点击确定
效果就出来了
圆饼图
饼图
饼图用于分析数据的占比,用户可通过饼图很直观的看到每一个部分在整体中所占的比例。
通常能明确显示数据的比例情况。用来描述量、频率或百分比之间的相对关系。但是不适合较大的数据集(分类)展现,当比例接近时,人眼很难准确判别。
找到销售明细表
看不同产品品类的人力成本占比情况,将"产品品类"拖入到横轴,纵轴拖入"人力成本",然后再点击一下图表类型的饼图
默认情况下是一个环形图,可以把它变成一个实心的。找到半径,点击旁边的小齿轮,选择实心
也可以手动调整半径大小。绘制完成之后,显示的是数据值,如果还想看一下数据的占比,找到"人力成本",把它拖入到标签里,然后点击右侧倒三角,快速计算里,把计算方式改为占比
也就是当前品类,它的人力成本占总的百分之多少。如果下方不想要的话,点击标签旁边的小齿轮,把显示指标汇总值取消勾选,这样就只剩下占比了
饼图中一般不太喜欢看见图例。直接展示数据和百分比就可以了。在组件样式的图例中,取消勾选"显示全部图例",这样就可以啦
玫瑰图
玫瑰图,又叫南丁格尔图。它本质上是饼图的一种变体,采用极坐标系,将数据以扇形区域的形式排列成类似玫瑰花瓣的形状,常用于比较不同类别的大小或趋势,也可以用来比较各项数据间的情况等。玫瑰图适合突出显示不同分类的大小差异。但是玫瑰图将数据量之间的差别夸大显示了,相差 1% 表现在面积上,视觉差别是超过 1% 的,不好用于展示具体的差值数量。
进入到组件,点击图表类型里的玫瑰图。找到地区数据分析,将"合同签约时间"拖入到横轴,点击字段右边倒三角,改成年
把"回款金额"拖入到纵轴,再点一下图表类型里的玫瑰图
半径里面放的是区分扇区大小的指标,通过回款金额来决定,点击半径旁边的小齿轮,把它改成实心的
感觉太少了,把合同签约时间从年改为年月,看上去好多了
这个顺序看上去有点儿问题,需要将里面的内容进行排序。找到颜色当中的合同签约时间,对它进行排序,升序降序都行,本次对它进行升序,升序的依据是合同回款金额从,按照数值来排序
现在这个效果出现了。这就是玫瑰图的绘制:首先它需要至少两个字段,一个是维度,一个是指标。我们的指标既要作用到角度里面,又要作用到半径里面。作用到半径是为了方便后期对扇区进行排列操作。
最后我们可以把标签去掉,点击标签小齿轮,取消勾选显示标签。然后到组件样式里,把图例显示在右侧。这样就是它最终效果啦
多层饼图
不同维度下,再去细分一个维度。比如每个省份下,是有多个城市的。新建组件,命名为多层饼图,点击图表类型的多层饼图。找到地区数据分析,拖入省份和城市
想看它们的合同金额,把合同金额拖进去
我的在线版本的 finebi 拖进去之后,自动对应到颜色标签等当中去了,如果没过来,可以手动把省份拖入到颜色中,大小和标签使用合同金额,城市拖入到细粒度当中。这就是多层饼图。
在什么时候用呢?如果你希望从一个维度深入到另外一个维度,这时候就可以用多层饼图。相当于是一个升维的操作,深入分析的操作。
这几个饼图就结束了,实际当中,如果要去看数据的占比情况,就来选择这些饼图。如果要分析这些维度,不只一层,有多个维度,就用多层饼图就可以了。饼图和玫瑰图是随便选的,它们俩表示的意思是一样的,只不过玫瑰图可以按照角度排列。
地图
这是 finebi 当中比较有特色的部分,讲一下 finebi 中绘制地图的步骤
地图的绘制步骤
1、将字段转换为地理角色。如果是符合地理的,xx 省 xx 市,数据本身就是这样的,那么就可以直接转换为地理角色。点击字段的倒三角,找到地理角色,转换为对应的角色;
2、分别将精度维度拖入到横轴和纵轴;
3、设置颜色、样式。
地图的钻取
分析的是省份,希望点击之后能进入到当前省份对应的城市情况。
1、创建钻取目录,将字段拖入到另一个字段的上方。比如,将一个省份下钻到城市,就需要将城市字段拖入到省份字段上面(要确保两个都是地理角色)
2、将创建的钻取目录拖入到细粒度当中
区域地图
区域地图是一种使用不同深浅的颜色来展示数据的大小和分布范围的可视化图形。适合展示数据在地理区块空间的分布情况,使用颜色深浅来区分数值大小。
在组件中,先点一下图表类型当中的区域地图。找到客户维度表,发现有一个记录数。这个记录数原数据是没有的,是 finebi 自动加的
首先将字段转换为地理字段。点击城市旁边的倒三角,点击地理角色,选择城市
点完之后它会进行城市匹配
在匹配的时候,有一些是没有匹配到的。可能数据和 finebi 的内容匹配不上,这会儿需要手动去编辑一下地图。本次没关系,直接点击确定
找到省份右边的倒三角,点击地理角色,选择省市自治区
我们发现全部都能匹配到,点击确定
现在出现了两个字段,一个是省份(经度),一个是省份(纬度)
经度拖入横轴,纬度拖入纵轴
区域图一定要有一个颜色,把记录数拖入到颜色里,不同地区数据量用不同颜色来展示
看上去没有太大区别,修改一下颜色。点击颜色旁边的小齿轮,把连续渐变的自动改为深海
改完之后好看多了,地图一般情况下不会显示图例。点击组件样式的图例,取消勾选"显示全部图例"
如果想看到省份名称的话,可以把对应省份拖入到标签上去。找到图形属性,把省份拖入到标签
如果也想看一下记录数情况,把记录数也拖入到标签当中去
现在只能看到辽宁省,想进入到辽宁省里面,看到对应城市的数据情况。将城市拖到省份上方
拖过去之后自动出来一个名称"省份,城市"。看一下这个名称,谁排在前面谁就是第一层,排在后面的就是第二层,现在就可以通过省份下钻到城市
点击确定之后,可以点击一下地图看看,比如点击辽宁。滑动鼠标滚轮可以放大或缩小地图找到辽宁省之后点击,然后点击钻取
发现跑到非洲了😂
这是因为没有将创建的钻取目录拖入到细粒度当中,拖入进去
我们返回上一层,在图层中有一个向下箭头的小三角,点击这个小三角,点击取消钻取然后就可以返回上一层

回到这层之后,鼠标滚轮放大地图,找到辽宁省,点击钻取
就可以看到辽宁省内各个城市的情况了
点地图
点地图用于在地理坐标系范围内,将数据生成为几何图形点,主要用于展示地理区域内的空间分布,适合展示一组或多组数据在地理空间的分布状况。
找到地区数据分析1,它有城市、客户、国家和省份
看一下各城市对应的合同金额是多少。点击城市旁边的倒三角,匹配地理角色,匹配城市
有 6 个没匹配到,没关系,直接点击确定
在图表类型地方,点一下点地图,然后分别把经纬度拖入到横轴和纵轴
此时,页面当中就有很多小点啦。有了小点之后,设置一下大小和颜色。
颜色可以根据城市来划分,不同城市用不同颜色;也可以根据合同金额来区分,金额越大颜色越深。本次用金额来划分,把合同金额拖入到颜色里

点击颜色旁边的小齿轮,渐变方案从自动改为夕照。改完之后的效果是,合同金额越大,颜色越偏向橙色
把图例去掉,点击组件样式,展开图例,取消勾选"显示全部图例"
想显示大小,可以把合同金额拖入到图形属性的大小当中。汇总方式改成平均
半径改到10左右
关于这个值,到底是平均、中位数还是求和,是根据实际情况来的。比如我们要分析一下不同地区销售额的整体情况,这个时候就要用总计;想看各个地区的薪资情况,这个时候要用平均薪资等等。本次案例中,是因为总和差距太大了所以改成了平均。
形状这里,也可以根据喜好更改,我改成了五角星
所有的地图,都是可以修改主题的。找到组件样式,有一个背景,默认是自动,可以根据自己喜好选择主题,我选择的是草色青
流向地图
流向地图在地图上显示信息或物体从一个位置到另一个位置的移动及其数量。通常用来显示人物、动物和产品的迁移数据。单一流向线所代表的移动规模或数量由其粗细度表示,有助显示迁移活动的地理分布。
用到的数据是春运迁徙数据,先看一下数据。如果想绘制流向地图,首先要看一下数据格式。尽量把手里的数据也弄成这样的格式
首先有迁徙路线,然后是编号。编号的作用,小的一方向大的一方进行发散(流动),也可以理解成起点和终点。比如第一行数据,编号是0,表示南京市是起点,根据迁徙线路,终点是三亚市。第二行数据,三亚市的编号是1,表示三亚是终点。大致了解之后我们回到组件当中
图表类型选择流向地图,首先,城市需要转换成地理角色。点击城市旁边的倒三角,选择地理角色的城市
发现全部匹配上了,直接点击确定
然后把经纬度对应拖入到横轴和纵轴当中
关键点来啦。注意看,刚开始放进去的时候,它的线条是折线,没有任何规律可严,我们该怎么操作呢。首先在细粒度这里,把迁徙线路拖进去。然后就是城市,城市一定要拖入到迁徙路线的下方。也就是在路线的基础之上,想进一步细化一下,具体到每一个城市。这是细粒度的操作
在图形属性当中还有个连线,我们把编号拖进去。编号表示数据小的一方向数据大的一方流动。把编号拖进去之后就知道从哪里往哪里迁徙了
目前来看,还是一根根直线。点击连线的小齿轮,把它从折线变成曲线
点击编号旁边的倒三角,点击特殊显示,点击闪烁动画
添加一下,针对全部的内容,给到 3 秒的闪烁效果,点击确定
现在看上去有流向的效果了,有点儿炫酷
这里出发点都是一个,从南京市出发。颜色可以改成深一点儿的,点击小齿轮选一个深颜色
主题可以自己改,在组件样式的背景里,本次不改了
热力地图
热力地图用于在地理坐标系范围内,将数据转换成颜色色调,并通过颜色变化程度直观反应出热点分布、区域聚集等数据信息。
用的是全国环境检测数据,先将检测城市转换为地理字段
有一些没匹配上,现在不用管,可能是数据的问题。直接点击确定
经纬度分别拖入到横轴和纵轴上,出现一大块,显然不是我们想要的
大小和热力色,都希望根据PM值来决定。把PM值拖入到大小和热力色当中
点击热力色旁边的小齿轮,可以把自动改为夕照
组件样式,取消勾选"显示全部图例",把图例去掉
其他
KPI指标卡
用于展示一些关键的指标。比如一份销售数据里面的销售额、毛利额、销量、利润等情况。这都属于关键性指标,KPI指标卡就是用来展示这些东西的
找到合同事实表
打开之后,我们最关注的是购买数量和合同金额
点击KPI指标卡,把合同金额拖到横轴
拖进去之后再次点击KPI指标卡,就会自动把合同金额的总和展示出来
可以自己修改字体,点击文本旁边的小齿轮,选择自定义,就可以自己修改了。先 ctrl + A 全部选中,大小改成 28
第二行的"合同金额(求和)"是指标,可以给指标改一下颜色。点击文字颜色,改成红色
点击确定,指标颜色就变成了红色
合同金额的数值太大,不太好看,改一下计量单位。点击合同金额旁边的倒三角,点击数值格式
设置数量单位为百万,点击确定
这样看上去好看多了
还可以添加形状,这个值大于等于500百万,就是向上的箭头,否则就是向下的箭头。点击文本的小齿轮,点击形状条件旁边的小齿轮,添加条件
添加完条件之后,点一下旁边空白的地方,就返回到组件那里了,可以看到效果不错,有了一个绿色的向上的箭头。要经常点点右上角的保存和更新哈※※※
在文本这个地方也可以再拖入一个,把购买数量拖过来,这样购买数量也展示出来了
这是一个KPI指标卡里面展示多个指标,但是下方格式有点儿问题,调整一下
仪表盘
在实际当中,如果你有任务型的,我们可以去用。比如,八月份,公司目标业绩预算是100万,到目前为止完成了80万,那么就可以用仪表盘查看整体进度情况
找到供应商产品表.xlsx
先检查一下字段
在做这些内容的时候要看它整体的一个进度情况,发现这些数据不太好去看的。这些数据看上去没有什么跟任务相关的,所以我们需要去新增一列
新增公式列,列名命名为"库存目标",给一个具体的值 200,点击确定
我们来看一下当前的库存量距离我们的库存目标还有多少。仪表盘有很多种,我们选择中间的这个
选中之后,一个是指针值,一个是目标值。将"库存量"拖入到指针值,将"库存目标"拖入到目标值。拖入这两个之后效果就已经有了,但是没有标签,把"库存量"拖入到标签中,就可以看到当前的值是多少
样式也可以去改,默认是简洁,点击样式旁边的小齿轮,改成标准风格,刻度槽改为细
散点图
散点图(Scatter Chart)是科研绘图中最常见的图形类型之一,通常用于显示和比较数值,使用一系列的散点在直角坐标系中展示变量的数值分布,可以通过观察发现两者的关系与相关性。散点图可以展示数据的分布和聚合情况,适合展示较大的数据集。但是主要用于观测相关、分布和聚合,其他信息均不能很好展现。
说人话:用来看两个指标之间的相关性,看数据的分布情况。
找到身高体重分布,横轴用的是身高,纵轴用的是体重,然后根据性别区分各自的颜色。拖入到相应位置。
拖进去之后发现只有两个点。当我们在对应的轴里面拖入数值字段的时候,它默认会进行聚合操作。在之前,横轴通常都是文本或日期字段。但是在散点图当中,它的横轴不再是文本或日期,因为它是来探究两个指标之间关系的,所以一般,横轴数轴放入的都是数值。由于都是数值所以聚合了,聚合之后就只有一个值(本例由于拖入性别来区分颜色所以每个性别都聚合成一个值,也就是一共俩值)
设置一下颜色,性别为女设置为红色,性别为男设置为蓝色
颜色问题解决了,两个小点的问题没解决,回到数据身高体重分布。原数据当中有一列是序号,这个序号是没有重复值的
我们可以直接把这个序号看成是每一个人的"身份证号码",或者是唯一标识。现在我们要看每一个人身高体重的分布情况,一会儿把它拖到细粒度当中。由于它目前还是数值类型,拖进去还是会觉得,我们要确保细粒度的字段是文本类型,所以需要在数据界面,把序号的类型从数值改为文本
回到散点图组件,把序号拖入到图形属性的细粒度里面去
从轴上来看,身高大部分在 140~200 区间内,所以前面空了一大块,影响美观。可以设置一下值轴的范围。找到身高,点击旁边的倒三角,点击设置值轴
显示范围选择自定义,最小值改为 140,最大值设置为 210,然后点击确定
改好之后发现,现在这个散点更加稀疏一些了
同样方法,把体重的范围也限制一下,最小的 30,最大的 130,然后,刚才身高最高 210 有点儿太多,改成 205。这个效果看上去好一些了
散点图完成了。
当散点图完成的时候,我们要试着解析一下里面的数据。首先,从颜色方面来分析,红色的表示女性,蓝色的表示男性,然后我们发现女性的普遍身高体重在这个区间内,身高普遍在 155~175,体重大多数在 40~80。这是数据的集中分布趋势
男生的身高体重普遍分布在这个区域,身高在 165~190 居多,体重集中分布在 50~100。
可以看出他们的整体身高比女生高一些,体重也是比女生更重一些。这是从散点图中得到的一个结果。再一个,我们还可以看出身高和体重它们之间的关系。会发现,数据整体呈现一个正向的趋势,正相关的趋势。也就是说,随着身高越高,对应的体重也会更加重一些
这就是从散点图中能够读取到的信息。每次看散点图的时候,第一个看趋势,第二就是看集中程度
在使用 Excel 的时候,可能会接触到一个图表,叫波士顿四象限图。finebi 里面能够去实现类似的效果。比如我们去看一下平均的身高和平均的体重,先找到身高和体重这两个字段,横轴的身高,点击倒三角,有一个设置分析线,设置警戒线
警戒线名字命名为"平均身高",公式直接点击平均身高,点击确定
之后会在图表当中新增一根虚线,这根虚线就是身高的平均值
同理,设置平均体重,点击体重旁边的倒三角,设置分析线,设置警戒线,公式点击平均体重,点击确定
默认是小圆点,可以改成星星,点击形状旁边的小齿轮,根据喜好选择喜欢的形状,我这里选择了小星星
聚合气泡图
采用力学图的形式展示气泡,可以用来观察数据的分布,将数据映射到气泡的面积大小上。适用于处理值值的分布和数据点的分簇。但是不适合用来查看具体数值,只适合看数据分布。
解释一下:这个气泡图,是根据气泡的大小区分数据,数据越大气泡越大。像这种图表,一般不回去展示数据的明细,比如具体的值是多少都不会在意的。
找到各省招生人数表,想看一下各个地区计划招生情况,把地区和计划招生直接拖入进去
可以用它展示几个比较靠前的,比如计划招生前三的,就把省份和计划招生数显示出来。添加注释,找到计划招生字段,点击倒三角,点击特殊显示里的注释
点击添加,给个条件,如果计划招生是最大的三个,点击右上角的选项,点击地区,然后加个冒号,再来展示招生计划,点击确定
然后我们会发现仍然是大部分都被显示出来的状态
这是因为在我们一开始拖入的时候,finebi 自动把地区和计划招生也全部放在了标签里,我们只需把它们拖出就好了
这样,这里就只显示计划招生排名前三的省份以及对应的计划招生人数
气泡图一般不显示图例,只要把靠前的几个展示出来就行
热力区域图
热力区域图(也叫热力图)是一种用颜色深浅来直观展示数据在地理空间上分布密度的可视化工具。颜色越深(比如红色或深紫色),通常表示该区域的数据值越高、越密集;颜色越浅(比如黄色或浅绿色),则表示数据值越低、越稀疏。
它常被用于:
分析区域发展:比如比较不同开发区的经济密度。
研究人口分布:显示城市内人口的集中与分散情况。
可视化交通流量:在地图上实时呈现车流或人流的密集程度。
使用数据是全年气温。横轴是日期字段,把年月日改为年月
纵轴放入时间
现在纵轴的时间是一个数值字段,只要是数值就会聚合。先去看一下数据,将时间的数据类型由数值改为文本
转换好之后保存并更新
回到组件界面,把之前的时间字段(数值字段)拖出,重新拖入时间字段(文本字段)
根据不同的温度表示不同的颜色,把温度拖到热力色;大小也用温度来表示,拖入到大小当中
最后,把图例取消掉。点击组件样式,找到图例,取消勾选"显示全部图例"
然后我们看一下纵轴,时间应该是从 0 点一直到 23 点。但是纵轴看上去时间太乱了,要给纵轴排个序。
回顾一下之前说到的两种排序方式:
1、借助辅助字段
2、自定义排序
在本例中,能够去用自定义排序,但是从 0 到 23 一个个拖动去排,太麻烦。所以在这个案例中,更推荐用辅助字段来排序。
时间其实本身是有顺序的,只不过转换成文本之后就变成了无序。
回到数据界面,点击新增公式列,列明命名为"排序辅助列",值就等于时间,点击确定
相当于把这个数据复制了一份,完成之后再把它从文本转换为数值,保存并更新
再回到组件这里,将排序辅助列拖入到细粒度。细粒度表示数据细化程度,如果拖入的是文本就会进一步去分析,如果拖入的是数值,不会有任何影响,因为数值本身就会聚合
这个时候再去点击时间旁边的倒三角,按照辅助排序列进行升序
最后别忘了保存并更新。
颜色表格
颜色表格用于展示对应不同维度分类的不同文字颜色,可以用清晰的颜色显示不同维度的数值。但是不适用于维度太多的场景。
找到合同事实表,将合同类型、合同付款类型、是否已经交货这三个字段拖入到横轴,纵轴展示合同金额
效果还没出来,再点一下图表类型当中的颜色表格就可以了
不同的交付情况,颜色是不一样的,颜色这里不需要用合同金额来划分,而是用是否已经交货来划分。把合同金额通颜色这里拖出去,拖入是否已经交货。如果已经交货是绿色的,如果还没交货就是红色的。点击颜色旁边小齿轮来修改
这个表格有点挤,右边空了一大块。找到组件样式,找到自适应显示并展开,选择宽度适应
和分组表很相似。
迷你图
用于突出显示变量数据的特征。只适合显示单变量。
迷你图可以直观清晰的展现各分类的对应指标数值大小,且简单易行,用于突出显示变量数据的特征。但是变化较为单一,只适合显示单变量。比如下图展示的各访问渠道的浏览量大小。
使用数据是互联网渠道统计数据。横轴是一级渠道名和二级渠道名。统计的是访问次数,把访问次数拖入到纵轴去
再来点击一次图表类型中的迷你图
先在组价样式当中设置一下自适应显示为宽度适应

一级渠道名和二级渠道名,访问次数越大,对应的图形状越大。颜色形状可自行去修改。图例可以去掉。这是迷你图,基本上没用过。
矩形树图
用不同的矩形表示数据。
矩形树图是用来描述层次结构数据的占比关系,能够进行逐级钻取显示下层数据情况。用于展示具有层级关系的数据,能够直观体现同级之间的比较,但是不适合层级关系不明确或者分类较多的数据。
数据使用的是:KPI指标项
横轴放入合同签约时间,纵轴放入合同金额,再来点一下图表类型的矩形树图,效果有了
根据年份来区分不同颜色,把合同签约时间的年月日改为年
每一个年份划分出来的区当中,左上最大,右下最小
这个也可以实现钻取,比如想通过时间看一下各产品的具体情况,就可以把产品拖到合同签约时间的上方,创建一个钻取目录

这样,钻取目录就创建完毕了
将钻取目录添加到细粒度当中
钻取一下试试,随便点击一个格子,点击钻取,效果还不错
词云图
词云是一种直观展示数据频率的图表类型,可以对出现频率较高的「关键词」予以视觉上的突出,形成「关键词云层」。从而过滤掉大量的文本信息,使浏览者只要一眼扫过文本就可以领略重点。适合展现数据量区分度较大的多分类文字数据,直观地表现出现高词频内容。但是不适合展示数据区分度不大的数据。
使用的数据:搜索词汇统计表
将搜索次和搜索次数分别拖入到横轴和纵轴,最后再点击一下图表类型的次运镖词云图

通过词云图的这个效果我们会发现,finebi、帆软、spider、解决方案、数据挖掘等出现的频率是最高的。在去找数据分析相关工作的时候就可以从这些技能来入手,只要会基本上就能进。这个就是词云图。
漏斗图
漏斗图是一种直观表现业务流程中转化情况的分析工具。
漏斗图适用于业务流程比较规范、周期长、环节多的流程分析,使用梯形面积表示某个环节业务量与上一个环节之间的差异。适用于展示随流程变化的分类数据。但是不适合表示无逻辑顺序的分类对比。
使用数据:漏斗图示例数据
将步骤和人数分别拖入到横轴和纵轴,最后再点击一下图表类型的漏斗图
将步骤按照人数降序排列。点击步骤旁边的倒三角,选择降序,选择人数
标签改为居中
这个就是漏斗图,我们可以看出一共有5个节点,每个节点有多少个人都能看得到。可以发现在各个节点都是存在客户流失的。如果为企业做一个分析,就得观察一下哪两个节点之间流失客户比较大,为什么会流失这么多客户,然后进一步去分析原因。这就是漏斗图的作用。
箱形图
是一种用作显示一组数据分散情况资料的统计图。需要了解数据分布特征或需要查看数据中的异常值时,可以使用箱形图进行数据分析。箱型图最大的优点就是不受异常值的影响,能准确稳定地描绘出数据的离散分布情况。
箱形图(Box-p1ot)又称为盒须图、盒式图或箱线图,是一种用作显示一组数据分散情况资料的统计图,因形状如箱子而得名。在各种领域也经常被使用,常见于品质管理。它主要用于反映原始数据分布的特征,还可以进行多组数据分布特征的比较。通过箱形图我们可以观察数据是否有偏向性、是否对称、数据是否有异常值、数据分布是否太过密集等。
当需要了解数据分布特征或需要查看数据中的异常值时,可以使用箱形图进行数据分析。箱形图最常见用于质量管理、人事测评、探索性数据分析等统计分析活动。箱型图通常用于显示一组连续型数据分布情况的统计图。但是不适用批量较大的数据;不适用于表示趋势或者百分比的数据。
箱型图最大的优点就是不受异常值的影响,能准确稳定地描绘出数据的离散分布情况。
箱形图构成:
箱子的中间有一条线,代表了数据的中位数(Q2)。箱子的上下底,分别是数据的上四分位数(Q3)和下四分位数(Q1),这意味着箱体包含了 50% 的数据。
有关箱形图 Q1、Q2、Q3 这三个指标的介绍和计算方法,详情参见统计学概念四分位数。
因此,箱子的高度在一定程度上反映了数据的波动程度。上下边缘则代表了该组数据的最大值和最小值。超出最大值和低于最小值的点,可以理解为数据中的"异常值"。
使用数据:销量表.xlsx
有省份和城市,由于我们这里绘制的不是地图,所以也不需要转换为地理字段,直接用就行
将省份拖入到横轴,销量拖入到纵轴
现在还是一根根线,因为对于每个省份来讲,它的销量是一个值。想要这个箱体撑起来,需要每个省份有多个数据来记录才可以。每个省都有多个城市,这样就有了多个值。通过每个省看城市的情况,需要将城市拖入到细粒度当中
颜色按照省份来区分,最后把鼠标放上去就可显示省份、上边缘、上四分位数等信息
如果数据超过了箱子的部分,那么它就是异常数据。
桑基图
桑基图多用于表示数据的流向。用两组数据构成多个坐标点,考察坐标点的分布,判断多变量之间是否存在某种关联或总结坐标点的分布模式。通常应用于能源、材料成分、金融和网站用户流量等数据的可视化分析。桑基图使人们易于发现系统流程中的细节;帮助识别主要的组成部分和低效的地方。但是不适用于起始流量和结束流量不同的数据。
我们通过桑基图,能看到每个产品,流向的门店,线的粗细,代表流向的多少。
使用数据:订单销售明细表.xlsx
按顺序直接向组件中拖入产品名称、门店名称(先拖入产品名称)
拖入进去后我们发现 finebi 自动把产品名称放在了起点,门店名称放在了终点。这是因为我们先拖入了产品名称这个字段。接下来,将订单金额拖入到大小当中
我们可以看到,订单金额越大,流向线条越粗。之后我们对它进行一下筛选,只看订单金额最大的前 5 个。点击产品名称字段旁边的倒三角,点击过滤
先把默认条件删除,然后重新添加条件
过滤产品名称的依据是对应的订单金额,选择订单金额
选择最大的 5 个,然后点击确定
整体效果就有了,我们在组件样式当中的图例部分,取消勾选"显示全部图例"
标签部分,我们只需要把各个节点的标签打上就可以了。点击图形属性的标签旁边的小齿轮,点击显示节点名称,这样就可以看到是什么产品流向哪个门店了
最后看一下效果,看起来还不错
以上就是桑基图。
在 finebi 当中还有一个自定义图表和瀑布图,将在下一篇讲解。