系统性学习Linux-第四讲-进程控制
- [1. 进程创建](#1. 进程创建)
-
- [1.1 fork 函数初识](#1.1 fork 函数初识)
- [1.2 fork函数返回值](#1.2 fork函数返回值)
- [1.3 写时拷贝](#1.3 写时拷贝)
- [1.4 fork常规用法](#1.4 fork常规用法)
- [1-5 fork调用失败的原因](#1-5 fork调用失败的原因)
- [2. 进程终止](#2. 进程终止)
-
- [2.1 进程退出场景](#2.1 进程退出场景)
- [2.2 进程常见退出方法](#2.2 进程常见退出方法)
-
- [2.2.1 退出码](#2.2.1 退出码)
- [2.3.2 _exit 函数](#2.3.2 _exit 函数)
- [2.3.3 exit 函数](#2.3.3 exit 函数)
- [2.3.4 return 退出](#2.3.4 return 退出)
- [3. 进程等待](#3. 进程等待)
-
- [3.1 进程等待必要性](#3.1 进程等待必要性)
- [3.2 进程等待的方法](#3.2 进程等待的方法)
-
- [3.2.1 wait 方法](#3.2.1 wait 方法)
- [3.2.2 waitpid 方法](#3.2.2 waitpid 方法)
- [3.2.3 获取子进程 status](#3.2.3 获取子进程 status)
- [3.2.4 阻塞与非阻塞等待](#3.2.4 阻塞与非阻塞等待)
- [4. 进程程序替换](#4. 进程程序替换)
- [4.1 替换原理](#4.1 替换原理)
- [4.2 替换函数](#4.2 替换函数)
-
- [4.2.1 函数解释](#4.2.1 函数解释)
- [4.2.2 命名理解](#4.2.2 命名理解)
- [5. 自主 Shell 命令行解释器](#5. 自主 Shell 命令行解释器)
-
- [5.1 目标](#5.1 目标)
- [5.2 实现原理](#5.2 实现原理)
- [5.4 总结](#5.4 总结)
本节重点:
- 学习进程创建,fork/vfork
- 学习到进程终止,认识
$? - 学习到进程等待
- 学习到进程程序替换
- 微型shell,重新认识 shell 运行原理
1. 进程创建
1.1 fork 函数初识
在 linux 中 fork 函数是非常重要的函数,它从已存在进程中创建一个新进程。新进程为子进程,而原进程为父进程。
cpp
#include <unistd.h>
pid_t fork(void);
返回值:⼦进程中返回 0 ,⽗进程返回⼦进程 id ,出错返回 -1
1. 为什么要给⼦进程返回 0 ,⽗进程返回⼦进程 pid?
2. 为甚⼀个函数 fork 会有两个返回值?
3. 为什么⼀个 id 即等于 0 ,⼜⼤于 0 ?
进程调用 fork ,当控制转移到内核中的 fork 代码后,内核做:
-
分配新的内存块和内核数据结构给子进程
-
将父进程部分数据结构内容拷贝至子进程
-
添加子进程到系统进程列表当中
-
fork 返回,开始调度器调度

当⼀个进程调用 fork 之后,就有两个二进制代码相同的进程。而且它们都运行到相同的地方。
但每个进程都将可以开始它们自己的旅程,看如下程序。
cpp
int main( void )
{
pid_t pid;
printf("Before: pid is %d\n", getpid());
if ( (pid=fork()) == -1 )perror("fork()"),exit(1);
printf("After:pid is %d, fork return %d\n", getpid(), pid);
sleep(1);
return 0;
}
运⾏结果:
[root@localhost linux]# ./a.out
Before: pid is 43676
After:pid is 43676, fork return 43677
After:pid is 43677, fork return 0
这里看到了三行输出,一行 before ,两行 after 。进程 43676 先打印 before 消息,然后它有打印 after 。
另⼀个 after 消息有 43677 打印的。注意到进程 43677 没有打印 before ,为什么呢?如下图所示

所以,fork 之前父进程独立执行,fork 之后,父子两个执行流分别执行。注意,fork 之后,谁先执行完全由调度器决定。
1.2 fork函数返回值
-
子进程返回 0
-
父进程返回的是子进程的 pid 。
1.3 写时拷贝
通常,父子代码共享,父子再不写入时,数据也是共享的,当任意一方试图写入,便以写时拷贝的方式各自⼀份副本。
具体见下图:

1.4 fork常规用法
-
一个父进程希望复制自己,使父子进程同时执行不同的代码段。例如,父进程等待客户端请求,生成子进程来处理请求。
-
一个进程要执行一个不同的程序。例如子进程从 fork 返回后,调用 exec 函数。
1-5 fork调用失败的原因
-
系统中有太多的进程
-
实际用户的进程数超过了限制
2. 进程终止
进程终止的本质是释放系统资源,就是释放进程申请的相关内核数据结构和对应的数据和代码。
2.1 进程退出场景
-
代码运行完毕,结果正确
-
代码运行完毕,结果不正确
-
代码异常终止
2.2 进程常见退出方法
正常终止(可以通过 echo $? 查看进程退出码):
-
从 main 返回
-
调用 exit
-
_exit
异常退出:
- ctrl + c,信号终止
2.2.1 退出码
退出码(退出状态)可以告诉我们最后一次执行的命令的状态。在命令结束以后,我们可以知道命令是成功完成的,
还是以错误结束的。其基本思想是,程序返回退出代码 0 时表示执行成功,没有问题。
代码 1 或 0 以外的任何代码都被视为不成功。
Linux Shell 中的主要退出码:

-
退出码 0 表示命令执行无误,这是完成命令的理想状态。
-
退出码 1 我们也可以将其解释为 "不被允许的操作"。例如在没有 sudo 权限的情况下使用yum;再例如除以 0 等操作也会返回错误码 1 ,对应的命令为 let a = 1 / 0
-
130 ( SIGINT 或 ^C )和 143 ( SIGTERM )等终止信号是非常典型的,它们属于 128 + n 信号,其中 n 代表终止码。
-
可以使用 strerror 函数来获取退出码对应的描述。
2.3.2 _exit 函数
cpp
#include <unistd.h>
void _exit(int status);
参数:status 定义了进程的终⽌状态,⽗进程通过 wait 来获取该值
- 说明:虽然 status 是 int ,但是仅有低 8 位可以被父进程所用。所以 _exit(-1) 时,在终端执行
$?发现返回值是 255 。
2.3.3 exit 函数
cpp
#include <unistd.h>
void exit(int status);
exit 最后也会调用 _exit ,但在调用 _exit 之前,还做了其他工作:
-
执行用户通过 atexit 或 on_exit 定义的清理函数。
-
关闭所有打开的流,所有的缓存数据均被写入
-
调用 _exit

实例:
cpp
int main()
{
printf("hello");
exit(0);
}
运⾏结果:
[root@localhost linux]# ./a.out
hello[root@localhost linux]#
int main()
{
printf("hello");
_exit(0);
}
运⾏结果:
[root@localhost linux]# ./a.out
[root@localhost linux]#
2.3.4 return 退出
return 是一种更常见的退出进程方法。执行 return n 等同于执行 exit(n) ,因为调用 main 的运行时函数,
会将 main 的返回值当做 exit 的参数。
3. 进程等待
3.1 进程等待必要性
-
之前讲过,子进程退出,父进程如果不管不顾,就可能造成'僵尸进程'的问题,进而造成内存泄漏。
-
另外,进程---旦变成僵尸状态,那就刀枪不⼊,"杀人不眨眼" 的 kill -9 也无能为力,因为谁也没有办法杀死一个已经死去的进程。
-
最后,父进程派给子进程的任务完成的如何,我们需要知道。如,子进程运行完成,结果对还是不对,或者是否正常退出。
-
父进程通过进程等待的方式,回收子进程资源,获取子进程退出信息
3.2 进程等待的方法
3.2.1 wait 方法
cpp
#include<sys/types.h>
#include<sys/wait.h>
pid_t wait(int* status);
返回值:
成功返回被等待进程pid,失败返回-1。
参数:
输出型参数,获取⼦进程退出状态,不关⼼则可以设置成为NULL
3.2.2 waitpid 方法
cpp
pid_ t waitpid(pid_t pid, int *status, int options);
返回值:
当正常返回的时候waitpid返回收集到的⼦进程的进程ID;
如果设置了选项WNOHANG,⽽调⽤中waitpid发现没有已退出的⼦进程可收集,则返回0;
如果调⽤中出错,则返回-1,这时errno会被设置成相应的值以指⽰错误所在;
参数:
pid:
Pid=-1,等待任⼀个⼦进程。与wait等效。
Pid>0.等待其进程ID与pid相等的⼦进程。
status: 输出型参数
WIFEXITED(status): 若为正常终⽌⼦进程返回的状态,则为真。(查看进程是否是正常退出)
WEXITSTATUS(status): 若WIFEXITED⾮零,提取⼦进程退出码。(查看进程的退出码)
options:默认为0,表⽰阻塞等待
WNOHANG: 若pid指定的⼦进程没有结束,则waitpid()函数返回0,不予以等待。若正常结束,则返回该⼦进程的ID。
-
如果子进程已经退出,调用 wait/waitpid 时,wait/waitpid 会立即返回,并且释放资源,获得子进程退出信息。
-
如果在任意时刻调用 wait/waitpid ,子进程存在且正常运行,则进程可能阻塞。
-
如果不存在该子进程,则立即出错返回。

3.2.3 获取子进程 status
-
wait 和 waitpid ,都有一个 status 参数,该参数是一个输出型参数,由操作系统填充。
-
如果传递NULL,表示不关心子进程的退出状态信息。
-
否则,操作系统会根据该参数,将⼦进程的退出信息反馈给父进程。
-
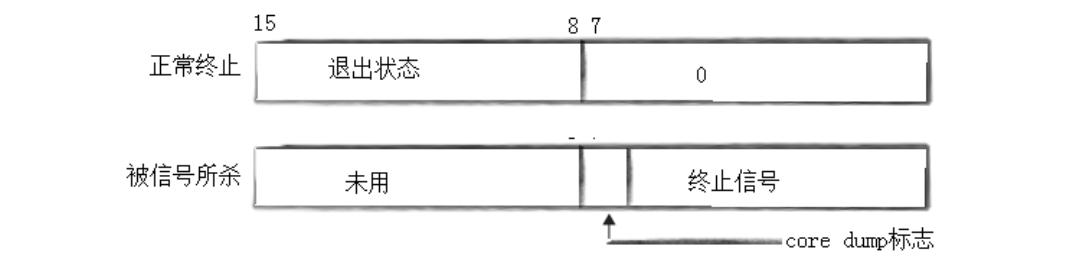
status 不能简单的当作整形来看待,可以当作位图来看待,具体细节如下图(只研究 status 低 16 比特位):

cpp
测试代码:
#include <sys/wait.h>
#include <stdio.h>
#include <stdlib.h>
#include <string.h>
#include <errno.h>
int main( void )
{
pid_t pid;
if ( (pid=fork()) == -1 )
perror("fork"),exit(1);
if ( pid == 0 )
{
sleep(20);
exit(10);
}
else
{
int st;
int ret = wait(&st);
if ( ret > 0 && ( st & 0X7F ) == 0 )
{ // 正常退出
printf("child exit code:%d\n", (st>>8)&0XFF);
}
else if( ret > 0 ) { // 异常退出
printf("sig code : %d\n", st&0X7F );
}
}
}
测试结果:
# ./a.out #等20秒退出
child exit code:10
# ./a.out #在其他终端kill掉
sig code : 9
3.2.4 阻塞与非阻塞等待
- 进程的阻塞等待方式:
cpp
int main()
{
pid_t pid;
pid = fork();
if(pid < 0)
{
printf("%s fork error\n",__FUNCTION__);
return 1;
}
else if( pid == 0 )
{ //child
printf("child is run, pid is : %d\n",getpid());
sleep(5);
exit(257);
}
else
{
int status = 0;
pid_t ret = waitpid(-1, &status, 0);//阻塞式等待,等待5S
printf("this is test for wait\n");
if( WIFEXITED(status) && ret == pid )
{
printf("wait child 5s success, child return code is:%d.\n",WEXITSTATUS(status));
}
else
{
printf("wait child failed, return.\n");
return 1;
}
}
return 0;
}
运⾏结果:
[root@localhost linux]# ./a.out
child is run, pid is : 45110
this is test for wait
wait child 5s success, child return code is :1
- 进程的非阻塞等待方式:
cpp
#include <stdio.h>
#include <stdlib.h>
#include <sys/wait.h>
#include <unistd.h>
#include <vector>
typedef void (*handler_t)(); // 函数指针类型
std::vector<handler_t> handlers; // 函数指针数组
void fun_one()
{
printf("这是⼀个临时任务1\n");
}
void fun_two()
{
printf("这是⼀个临时任务2\n");
}
void Load()
{
handlers.push_back(fun_one);
handlers.push_back(fun_two);
}
void handler()
{
if (handlers.empty())
Load();
for (auto iter : handlers)
iter();
}
int main()
{
pid_t pid;
pid = fork();
if (pid < 0) {
printf("%s fork error\n", __FUNCTION__);
return 1;
}
else if (pid == 0) { // child
printf("child is run, pid is : %d\n", getpid());
sleep(5);
exit(1);
}
else
{
int status = 0;
pid_t ret = 0;
do
{
ret = waitpid(-1, &status, WNOHANG); // ⾮阻塞式等待
if (ret == 0) {
printf("child is running\n");
}
handler();
} while (ret == 0);
if (WIFEXITED(status) && ret == pid)
{
printf("wait child 5s success, child return code is :%d.\n",
WEXITSTATUS(status));
}
else
{
printf("wait child failed, return.\n");
return 1;
}
}
return 0;
}
4. 进程程序替换
fork() 之后,父子各自执行父进程代码的一部分如果子进程就想执行一个全新的程序呢?进程的程序替换来完成这个功能!
程序替换是通过特定的接口,加载磁盘上的⼀个全新的程序(代码和数据),加载到调用进程的地址空间中!
4.1 替换原理
用 fork 创建子进程后执行的是和父进程相同的程序(但有可能执行不同的代码分支),子进程往往要调用⼀种 exec 函数,
以执行另⼀个程序。当进程调⽤⼀种 exec 函数时,该进程的⽤户空间代码和数据完全被新程序替换,
从新程序的启动例程开始执行。调用 exec 并不创建新进程,所以调用 exec 前后该进程的 id 并未改变。

4.2 替换函数
其实有六种以 exec 开头的函数,统称 exec 函数
cpp
#include <unistd.h>
int execl(const char *path, const char *arg, ...);
int execlp(const char *file, const char *arg, ...);
int execle(const char *path, const char *arg, ...,char *const envp[]);
int execv(const char *path, char *const argv[]);
int execvp(const char *file, char *const argv[]);
int execve(const char *path, char *const argv[], char *const envp[]);
4.2.1 函数解释
-
这些函数如果调用成功则加载新的程序从启动代码开始执行,不再返回。
-
如果调用出错则返回 -1
-
所以 exec 函数只有出错的返回值而没有成功的返回值。
4.2.2 命名理解
这些函数原型看起来很容易混,但只要掌握了规律就很好记。
-
l(list) : 表示参数采用列表
-
v(vector) : 参数用数组
-
p(path) : 有 p 自动搜索环境变量 PATH
-
e(env) : 表示自己维护环境变量

exec 调用举例如下:
cpp
#include <unistd.h>
int main()
{
char *const argv[] = {"ps", "-ef", NULL};
char *const envp[] = {"PATH=/bin:/usr/bin", "TERM=console", NULL};
execl("/bin/ps", "ps", "-ef", NULL);
// 带p的,可以使⽤环境变量PATH,⽆需写全路径
execlp("ps", "ps", "-ef", NULL);
// 带e的,需要⾃⼰组装环境变量
execle("ps", "ps", "-ef", NULL, envp);
execv("/bin/ps", argv);
// 带p的,可以使⽤环境变量PATH,⽆需写全路径
execvp("ps", argv);
// 带e的,需要⾃⼰组装环境变量
execve("/bin/ps", argv, envp);
exit(0);
}
事实上,只有 execve 是真正的系统调用,其它五个函数最终都调用 execve ,所以 execve 在 man手册 第 2 节,
其它函数在 man 手册第 3 节。这些函数之间的关系如下图所示。
下图 exec 函数簇一个完整的例子:

5. 自主 Shell 命令行解释器
5.1 目标
- 要能处理普通命令
- 要能处理内建命令
- 要能帮助我们理解内建命令/本地变量/环境变量这些概念
- 要能帮助我们理解shell的允许原理
5.2 实现原理
考虑下面这个与 shell 典型的互动:
bash
[root@localhost epoll]# ls
client.cpp readme.md server.cpp utility.h
[root@localhost epoll]# ps
PID TTY TIME CMD
3451 pts/0 00:00:00 bash
3514 pts/0 00:00:00 ps
用下图的时间轴来表示事件的发生次序。其中时间从左向右。shell 由标识为 sh 的方块代表,它随着时间的流逝从左向右动。
shell 从用户读入字符串 "ls"。shell 建立⼀个新的进程,然后在那个进程中运行 ls 程序并等待那个进程结束。

然后 shell 读取新的一行输入,建立一个新的进程,在这个进程中运行程序 并等待这个进程结束。
所以要写⼀个 shell ,需要循环以下过程:
-
获取命令行
-
解析命令行
-
建立一个子进程(fork)
-
替换子进程(execvp)
-
父进程等待子进程退出(wait)
根据这些思路,和我们前面的学的技术,就可以自己来实现⼀个 shell 了。
5.4 总结
在继续学习新知识前,我们来思考函数和进程之间的相似性 exec/exit 就像 call/return ,一个 C 程序有很多函数组成。
一个函数可以调用另一个函数,同时传递给它一些参数。被调用的函数执行一直的操作,然后返回一个值。
每个函数都有他的局部变量,不同的函数通过 call/return 系统进行通信。
这种通过参数和返回值在拥有私有数据的函数间通信的模式是结构化程序设计的基础。
Linux 鼓励将这种应用于程序之内的模式扩展到程序之间。如下图

一个 C 程序可以 fork/exec 另一个程序,并传给它一些参数。这个被调用的程序执行一定的操作,然后通过 exit(n) 来返回值。
调用它的进程可以通过 wait(&ret)来获取 exit 的返回值。