02计算机组成原理-主存储器
前言
主存储器这里主要讲三个内容,主存储器是怎么构成的,存储器是如何与CPU连接的,存储器是怎么扩展容量的。
1.主存储器的构成

左边虚线方框内是CPU,右边是主存,这个图还体现了CPU是怎么和主存连接的。
先来看主存储器:
其中由一个个存储0或1的记忆单元(cell)构成的存储阵列是存储器的核心部分。这种记忆单元也称为存储元、位元,它是具有两种稳态的能表示二进制0和1的物理器件。存储阵列(bank)也被称为存储体、存储矩阵。为了存取存储体中的信息,必须对存储单元编号,所编号码就是地址。编址单位(addressing unit)是指具有相同地址的那些位元构成的一个单位,可以是一个字节或一个字。对各存储单元进行编号的方式称为编址方式(addressingmode),可以按字节编址,也可以按字编址。
其他在图中的概念:
-
CPU:中央处理器(Central Processing Unit),负责处理和控制整个计算机的操作。
-
MDR (Memory Data Register):内存数据寄存器,用于临时存放从内存读取的数据或者准备写入内存的数据。
-
MAR (Memory Address Register):内存地址寄存器,用来保存当前要访问的内存地址。
-
地址寄存器:位于主存储器内部,接收来自CPU的地址,并将其传递给地址译码器以确定正确的存储单元。
-
地址译码器:根据接收到的地址信号来选择并激活相应的存储单元。
-
存储单元:实际存储数据的地方,每个单元可以存储一位(bit)数据,通常以字节(byte)为基本单位组织起来。
-
读写控制电路:负责协调数据的读取和写入过程,包括控制数据线上的数据流动以及向存储单元发送适当的读/写命令。
-
数据线:连接CPU和主存储器的线路,用于传输数据。
-
控制线:连接CPU和主存储器的线路,用于传输各种控制信号,如读/写信号等。
在这个系统中,当CPU需要从主存储器中读取数据时,它会首先将所需数据的地址放入MAR,然后发出读请求。这个地址会被传送到主存储器的地址寄存器,接着经过地址译码器找到对应的存储单元。
与此同时,CPU也会将数据线设置为输入模式,等待从主存储器接收数据。一旦数据准备好,它就会通过数据线传回给CPU,并被存储到MDR中。
相反,如果CPU需要将数据写入主存储器,它会先将数据放入MDR,然后将目标地址放入MAR,最后发出写请求。同样地,地址会被传送到主存储器,但这次是触发写操作,使得数据从MDR通过数据线写入到指定的存储单元。
当CPU想要写入一个数据的话,会把要写入的数据放到MDR中(这个数据来源可以是ALU,可以是某个指令中的立即数,也可以是某个寄存器里的数),当时还会把要写入的主存地址传入MAR(这个地址也是指令通过寻址方式得到的地址),读写控制信号发送写信号,此时总线都准备好了,然后先把MAR中的地址传给主存中的地址寄存器,通过译码知道要对哪一个存储单元进行操作,然后CPU通过控制线发出写信号,表明要进行的操作是写入,最后MDR中的数据通过数据线写入相应的存储单元。这就是写操作的过程。
2.主存和CPU的连接

主存与CPU之间的连接:
CPU通过其芯片内的总线接口部件(即总线控制逻辑)与系统总线相连,然后再通过总线之间的I/O桥接器、存储器总线连接到主存。
注:为了支持不同类型的总线(如处理器总线、存储器总线、I/O总线等)之间的通信,通常会使用桥接器(也称为桥芯片或北桥/南桥)来连接这些总线。这些桥接器不仅负责总线之间的信号转换和传输,还可能提供额外的功能,如缓存、中断控制等。然而,需要注意的是,随着计算机技术的发展,许多现代计算机系统已经采用了更加集成化的设计,将许多原本分散在多个芯片上的功能集成到了一个或多个芯片中,从而减少了总线接口和桥接器的数量。
在计算机系统中,总线是连接各个部件(如CPU、主存、I/O设备等)的共享传输介质,它允许这些部件之间进行有效的通信和数据传输。总线通常由控制线、数据线和地址线构成:
控制线:负责传输控制信号,如时钟信号、中断信号、读写信号等,这些信号用于协调总线上的数据传输过程,确保各个部件能够按照预定的顺序和规则进行通信。
数据线:用于在CPU和主存之间传输实际的数据信息。每一根数据线可以传输一位数据,因此数据线的条数(即位宽)决定了总线一次能够传输的数据量。(机器字长简称字长)现代计算机系统的数据线位宽通常很高,如64位、128位甚至更高,以提高数据传输的效率。例如,如果数据线有32条,则数据传输的宽度为32位。
地址线:用于指定主存中数据的存储位置(即地址)。CPU在需要读取或写入主存中的数据时,首先会通过地址线发送数据的地址信息,然后主存根据这个地址信息找到相应的存储单元,进行数据的读写操作。
在CPU和主存之间交换信息时,整个过程通常如下:
CPU首先通过总线接口部件(即总线控制逻辑)将需要访问的主存地址发送到地址线上。同时,CPU还会发送相应的总线控制信息到控制线上,以指示这是一次读操作还是写操作,并协调其他可能的总线活动。
一旦地址和控制信息被发送出去,CPU和主存之间就可以通过数据线开始传输数据了。如果是读操作,主存会将指定地址中的数据发送到数据线上,供CPU读取;如果是写操作,CPU会将数据发送到数据线上,由主存存储到指定地址中。
3.存储芯片的扩展
受限于物理尺寸、功耗、散热和成本等因素,单个存储芯片的容量和性能都有其极限。
为了构建更大容量和更高性能的主存储器系统,就好像我们经常看见的内存条,将多个芯片做在一个主存模块(即内存条)上,然后由多个主存模块以及主板或扩充板上的RAM 芯片和 ROM 芯片组成一台计算机所需的主存空间,再通过系统总线和 CPU 相连。
内存条插槽就是存储器总线,内存条中的信息通过内存条的引脚,
再通过插槽内的引线连接到主板上,通过主板上的导线连接到北桥芯片或CPU芯片。

这一个个黑色的就是最基本的主存芯片,一个内存条的容量就是由这些主存芯片的容量加起来的,下面黄色的这些就是引脚用于传输数据。
单个芯片的容量是有限的,因此通过存储器芯片扩展技术,将多个芯片集成在一个内存条上。存储字长:主存存储体的存储单元的位数,进行读写的时候:
如果字长=存储字长:一次操作就能完成
如果字长>存储字长:一次操作就能完成但涉及多个存储单元
如果字长<存储字长:多次操作完成。
所以最好的方式还得是字长=存储字长。但单个存储芯片的存储字长不一定等于整个存储体的存储字长,单个存储芯片的存储字个数也不一定等于整个存储体的存储字的个数,所以我们需要多个存储芯片进行排列组合来构成主存的存储字长。
描述主存大小:128MB,这个是以字节为单位进描述的。
我们知道计算机一次能直接处理的二进制数据的位数 是一个字的大小(即字长)。所以我们可以基于字长来描述主存大小:例如字长为32位,则128MB=32M * 32b,即有32M个字,每个字为32位。
由于单个存储芯片在字数或字长方面与实际存储器的要求都有差距,因此需要在字和位两方面进行扩充才能满足实际存储器的容量要求。
3.1位扩展
位扩展的目标是增加存储器的数据总线宽度,也就是说,增加每个存储单元能同时读写的数据位数。
例如,假设有一个8位的存储芯片,这意味着每个存储位置只能存储8位的数据。但是,如果系统需要的是32位的数据宽度,那么就需要使用位扩展技术。
位扩展是指在不改变存储单元数量(即存储容量--字数)的情况下,通过增加存储单元的位数来扩展存储器的字长。也就是说,当存储器的存储容量满足需求,但字长不足时,可以采用位扩展技术。
实现方式:
并联多个相同规格的存储芯片,让它们共享相同的地址线和控制线,但各自拥有独立的数据线。
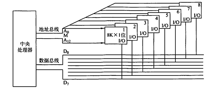
假设需要8位的宽度,你可以并联8个1位的芯片,每个芯片的数据线都连接到系统总线的不同部分,这样,当一个地址被激活时,8个芯片将同时读写数据,共同构成一个8位的数据字。

地址线与控制线连接:所有存储器芯片的地址线和控制线(如读写控制线R/W)都直接相连,因为它们需要共享相同的地址和控制信号。
数据线连接:将多个芯片的数据线分为高位和低位(或其他分组方式),分别连接到系统的数据总线上。这样,当进行读写操作时,多个芯片会同时被选中,但各自负责传输数据的一部分。
片选信号:由于所有芯片都共享相同的地址和控制信号,因此它们的片选信号(CS)通常也连接在一起,或者不需要单独的片选信号(取决于芯片设计)。
因为它们规格相同所以它们的地址范围都是0~2k-1,让他们共享同一组地址线,当要写入一个8位数据的时候,因为每个存储芯片只能存一位且是共享一套地址线这8位数据会写入这8个芯片的同一个位置,比如要写的入地址位置为4,要写入的8位数据的第一号数据就存入一号芯片的地址001,要写入的8位数据的第二号数据就存入二号芯片的地址001...一次类推。
3.2字扩展
字扩展的目标是增加存储器的地址空间,即增加存储器的深度,允许存储更多的数据字。在不改变存储单元位数(即字长)的情况下,通过增加存储单元的数量来扩展存储器的容量。也就是说,当存储器的字长满足需求,但存储容量不足时,可以采用字扩展技术。
串联多个相同规格的存储芯片,让它们共享相同的数据线和控制线,但各自拥有独立的地址线。
假设你需要4K字节的存储空间,你可以串联4个1K字节的芯片,通过地址译码器来选择当前操作的是哪一个芯片 。地址线的一部分用于选择芯片,另一部分用于在选定的芯片内定位具体的存储位置。
为了方便大家理解这里用十进制来举个例,比如一个存储芯片有100个存储单元,主存有400个存储单元,那肯定是需要4个这样的芯片。而这四个芯片的地址编号都是从0到99。但是主存的编号是0~399,那怎么编号呢?我们0~99放到第0个芯片中,100~199放到第1个芯片中,200~299放到第二个芯片中,300~399放到第3个芯片中。这样就出现了一个小问题,第0号芯片本来就是0~99是可以对上的,但是第1,2,3号芯片对不上了。那怎样解决呢?我们发现主存地址的高位其实是就是芯片号,因此我们寻址的时候,比如126,我们先确定是在哪一个芯片中,把这个主存地址分块,最高位表示在哪一个芯片中,低位表示芯片内偏移地址。那对应的二进制的思路也是这样。怎样选择芯片就是之前提过的译码器来选中的。我之前在博客中也写过译码器的只是,大家可以去看看。或者自己问问豆包。
地址线连接:将所有存储器芯片的地址线分为高位地址线和低位地址线。低位地址线直接相连,用于选择芯片内的存储单元;高位地址线则通过译码器与各个芯片的片选信号(CS)相连,用于区分不同芯片的地址范围。
数据线与控制线连接:所有芯片的数据线(D0~Dn)和控制线(如读写控制线R/W)都直接相连,因为它们共享相同的数据传输和控制信号。
译码器与片选信号:使用译码器对高位地址进行译码,产生各个芯片的片选信号。当某个芯片被选中时,其片选信号为低电平(或高电平,取决于电路设计),允许该芯片参与数据传输;其他芯片则处于未选中状态,不参与数据传输。
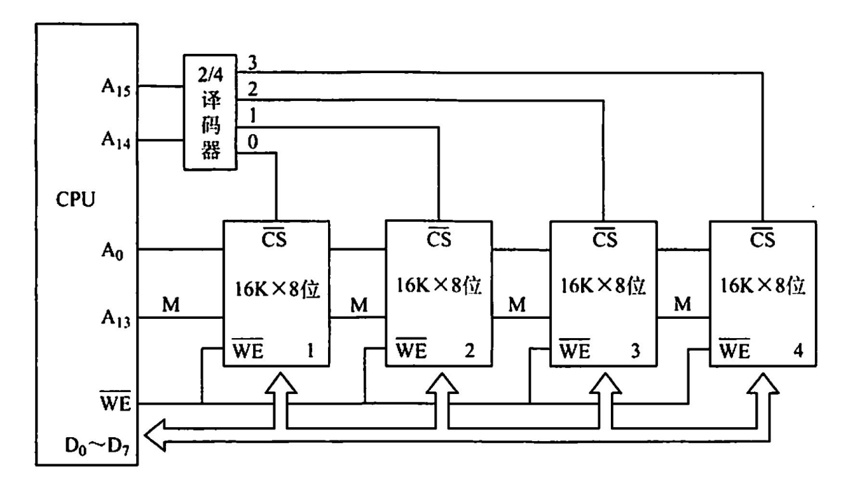
用4片16K8位的RAM芯片组成64K 8位的存储器。4片RAM芯片的数据线D0~D7,和WE都分别连在一起。将A15A14 用作片选信号,A15A14= 00时,译码器输出端0有效,选中最左边1号芯片;A15A14=01时,译码器输出端1有效,选中2号芯片,以此类推(同一时刻只能有一个芯片被选中)。

用4片16K8位的RAM芯片组成64K 8位的存储器。各芯片的地址分配如下:
第一片,最低地址: 00 00 0000 0000 0000:最高地址: 00 11 1111 1111 1111 (16 位)
第二片,最低地址: 01 00 0000 0000 0000 最高地址: 01 11 1111 1111 1111
第三片,最低地址: 10 00 0000 0000 0000最高地址: 10 11 1111 1111 1111
第四片,最低地址: 11 00 0000 0000 0000 最高地址: 1111 1111 1111 1111
31F2H--->00 11 0001 1111 0010--->去零号芯片找
B1F2H--->10 11 0001 1111 0010--->去二号芯片找
可以发现它们的偏移地址都是一样的,不一样的是高两位,这就决定了它们要去哪个芯片去找。
3.3字位同时扩展
在实际应用中,位扩展和字扩展通常是结合使用的,以同时增加存储器的宽度和深度。就是指通过同时使用多个存储器芯片,在增加存储单元数量的同时,也增加每个存储单元的位数,从而扩展整个存储器的容量和字长。
当存储器的现有容量和字长均不满足系统需求时,可以采用字位扩展技术。
字位同时扩展的连接方式:
先将进行位扩展的芯片作为一组,各组的连接方式与位扩展的相同;由系统地址线高位译码产生若干片选信号,分别接到各组芯片的片选信号。
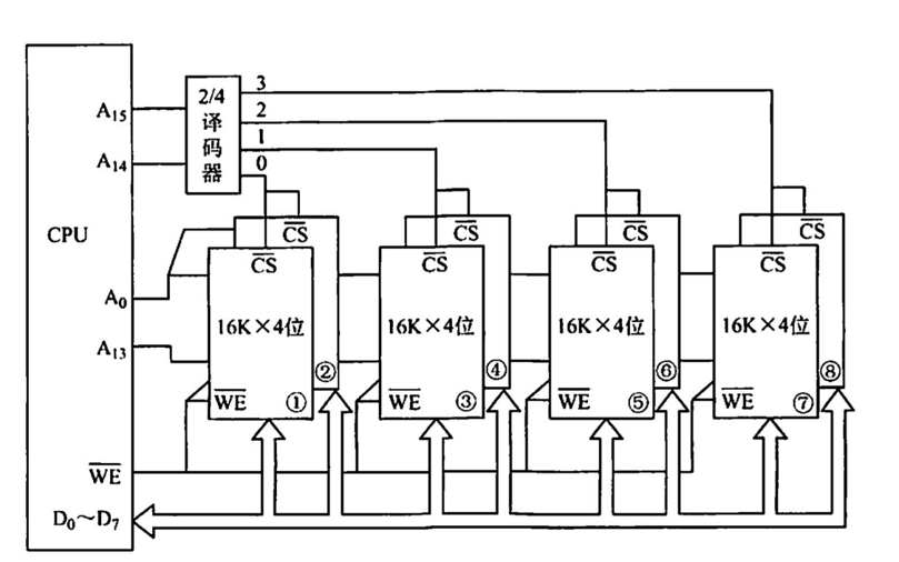
例子:用8片16Kx4位的RAM芯片组成64Kx8位的存储器。
每两片构成一组 16Kx8位的存储器(位扩展),4组便构成64Kx8位的存储器(字扩展)。
地址线A15A14经译码器得到4个片选信号:
A15A14= 00时,输出端0有效,选中第一组的芯片(①和②);
A15A14= 01时, 输出端1有效,选中第二组的芯片(③和④),以此类推。

4.组成一个主存(408常考)
1.合理选择存储芯片
要组成一个主存系统,选择存储芯片是第一步, 主要指存储芯片的类型(RAM或ROM)和数量的选择。通常选用ROM存放系统程序、标准子程序和各类常数,RAM则是为用户编程而设置的。此外,在考虑芯片数量时,要尽量使连线简单、方便。ROM-系统区,RAM-用户区。
2.地址线的连接
存储芯片的容量不同,其地址线数也不同,而CPU的地址线数往往比存储芯片的地址线数要多。
通常将CPU地址线的低位与存储芯片的地址线相连,以选择芯片中的某-一单元(字选),这部分的译码是由芯片的片内逻辑完成的。而CPU地址线的高位则在扩充存储芯片时使用,用来选择存储芯片(片选),这部分译码由外接译码器逻辑完成。
例如,设CPU地址线为16位,即A15~A0, 1K*4 位的存储芯片仅有10根地址线,此时可将CPU的低位地址A9~A0与存储芯片的地址线A9~ A0相连。
3.数据线的连接
CPU的数据线数与存储芯片的数据线数不一定相等,在相等时可直接相连;在不等时必须对存储芯片扩位,使其数据位数与CPU的数据线数相等。
4.读/写命令线的连接
读写控制线可以是两根,也可以是一根。
来做几个题目吧:

做题步骤:

第一题解析:

第二题解析:

有的同学可能会有疑惑不是一组两个吗,那怎么一组里的地址范围不是应该两个芯片存储个数和吗,为此我用了豆包搜了一下,我觉得豆包写得比较规范:



第三题解析:

这节课大家一定要掌握,考研特别爱考。大概先写这些吧,今天的博客就先写到这,谢谢您的观看。