本篇RTC中断讲解 ,选自**ALINX 黑金云课堂 FPGA 免费直播课** 。该课程由 ALINX 资深工程师团队倾力打造,从 0 到 1 系统化教学,帮助每位工程师跨过 FPGA 开发门槛。
🔍 ALINX :关注 ALINX,进入视频号即可查看完整黑金云课堂 FPGA 视频教程。
RTC 中断
RTC 基础特性与计数器原理

-
供电特性采用双电源供电,
VCC_PSAUX优先,断电时自动切换至VCC_PSBATT电池供电,保证持续计时。 -
核心功能支持闹钟设置与周期性中断输出。
-
三级计数器架构
-
32 位秒计数器
:记录基准时间秒数,每秒自动加 1,初始值由系统时钟驱动写入。
-
16 位 tick 计数器
:基于 32KHz 晶振计时,触发 32 位计数器加 1,复位时产生中断信号。
-
4 位分数计数器
:为 16 位计数器提供精度校准,补偿计时误差。
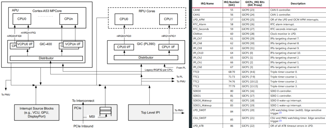
GTC 中断控制器核心作用
作为 SOC 中断桥接与仲裁核心,统一收集所有外设中断信号,按优先级仲裁后,将有效中断发送至 CPU 处理。寄存器配置可参考UG1085、UG1087 官方文档。

APU/RPU 的 GIC 中断框架
- RPU GIC 框架中断源分类
-
SGI 软件中断:共 16 个,CPU 可通过写寄存器主动触发,可发送至多核心。
-
SPI 中断:约 160 个,可路由至 CPU/PL 端,同一时间仅单核心执行。
- APU GIC 框架中断分组处理
-
组 0 处理安全中断
-
组 1 处理非安全中断
*内置虚拟分发器与虚拟中断接口,可模拟 GIC 处理中断信号

(RPU GIC内部框架图)

(APU GIC内部框架图)
RTC 中断实验标准步骤
-
初始化中断控制器 GIC
-
初始化中断异常
-
注册中断服务函数
-
在 GIC 中按中断号使能 RTC 中断
-
使能 RTC 外设中断(关键:GIC 使能 + 外设使能两步缺一不可)
更多细节欢迎关注我们黑金云课堂全年免费直播课,四月直播日历,我们将在每周二、三、四,同步推进 Verilog开发、Vitis开发、Linux开发三大系列,带你从零开始,稳扎稳打掌握 FPGA 开发全流程!
