很多人第一次遇到 iOS 抓不到包,反应都很一致,重装证书、换端口、重启工具、再试一次。
但如果你做过几次真实项目,很快就会意识到一个事实:
抓不到包,本质上是网络路径不在你的位置上。
工具只是在某一层等请求经过,问题在于请求有没有走到那一层。
我排查抓不到包时,会先做的一件小事
在打开任何抓包工具之前,我通常会做一个非常简单的验证,打开 Safari,访问一个 HTTPS 网站,看能不能被代理工具抓到。
如果浏览器流量是正常的,那说明:
- 代理本身没问题
- 证书安装与信任流程大概率是正确的
这一步的意义是把环境问题和App 行为问题分开。
证书已信任,但 App 还是没数据
这是最常见、也最让人困惑的情况。
在这种场景下,我一般不会马上怀疑工具不行,而是转而确认一件事:
这个 App 是否还在使用系统代理。
很多 iOS App 在以下场景中,会直接绕过系统代理:
- 使用自定义网络库
- 启用了证书校验或 SSL Pinning
- 部分请求走了直连 Socket
这时候,HTTPS 代理抓包工具天然是看不见的。
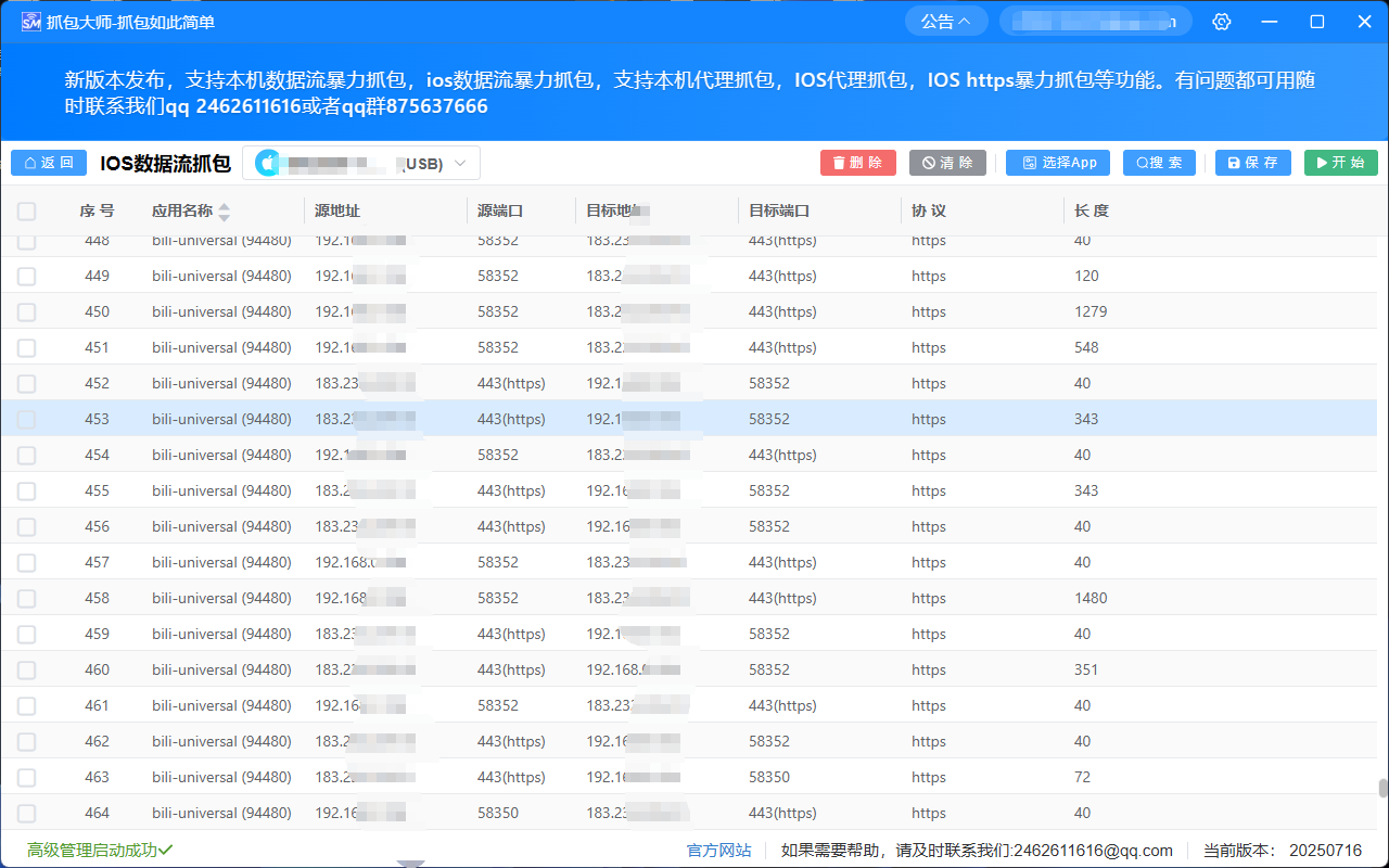
确认请求是否真实存在:数据流抓包更靠谱
当代理抓包毫无反应时,我会切换到数据流层。
在抓包大师中,可以通过 USB 连接 iPhone,直接使用数据流抓包功能:
- 不依赖 Wi-Fi 代理
- 不需要证书
- 能看到 TCP、UDP、DNS 等真实连接行为
我通常会只勾选目标 App,避免系统流量干扰判断。

这一层我只关心两件事
- 是否能看到 App 启动后建立网络连接
- 连接的目标 IP 或域名是否符合预期
如果在数据流里完全看不到任何外部通信,那问题已经不在抓包,而在 App 本身的网络触发逻辑。
能看到连接,却依然解不了 HTTPS 内容
这是另一类常见情况。
数据流里能看到:
- TLS 握手
- TCP 连接建立
但代理工具中还是空白。
这通常意味着应用在 HTTPS 层面做了额外校验,比如证书绑定。
代理证书虽然安装了,但客户端并不认可。
这时我会做的选择
如果目标只是确认接口字段、请求顺序或返回结构,我会优先考虑:
- 是否能通过调试环境关闭校验
- 是否可以通过拦截器模拟返回结果
而不是马上进入绕过安全机制的路径。
拦截器,是验证逻辑而不是破解的工具
在抓包大师的 HTTPS 代理抓包模式中,拦截器是一个非常实用的辅助功能。
即使只能抓到部分请求,我也经常用它来:
- 修改返回字段,观察 App UI 是否变化
- 强制返回错误状态,验证异常处理
- 重定向接口地址,模拟环境切换
这些操作不解决为什么抓不到包,但能快速回答抓到包后我能做什么。

多工具并用,比执着一个工具更重要
一次完整的排查过程中,我通常会结合使用:
- 代理抓包工具:验证标准 HTTP 请求
- 数据流抓包:确认真实网络行为
- 拦截器:验证客户端逻辑假设